[FREE PDF sample] Solar adobe: energy, ecology, and earthen architecture albert narath ebooks

Page 1


Solar Adobe: Energy, Ecology, and Earthen Architecture Albert Narath

Visit to download the full and correct content document: https://ebookmass.com/product/solar-adobe-energy-ecology-and-earthen-architecture -albert-narath/

More products digital (pdf, epub, mobi) instant download maybe you interests ...

Green Energy: Solar Energy, Photovoltaics, and Smart Cities Suman Lata Tripathi

https://ebookmass.com/product/green-energy-solar-energyphotovoltaics-and-smart-cities-suman-lata-tripathi/

Solar Energy Desalination Technology 1st Edition

Edition Hongfei Zheng (Auth.)

https://ebookmass.com/product/solar-energy-desalinationtechnology-1st-edition-edition-hongfei-zheng-auth/

Sustainable Material Solutions for Solar Energy

Technologies: Processing Techniques and Applications

Mariana Amorim Fraga

https://ebookmass.com/product/sustainable-material-solutions-forsolar-energy-technologies-processing-techniques-and-applicationsmariana-amorim-fraga/

Solar Power for Beginners Bible 2024: 10 Books in 1

Your Comprehensive Guide to Mastering Solar Energy

Thomas Daughtler

https://ebookmass.com/product/solar-power-for-beginnersbible-2024-10-books-in-1-your-comprehensive-guide-to-masteringsolar-energy-thomas-daughtler/

Conventionally Yours Annabeth Albert

https://ebookmass.com/product/conventionally-yours-annabethalbert/

Solar Fuels (Advances in Solar Cell Materials and Storage) Nurdan Demirci Sankir

https://ebookmass.com/product/solar-fuels-advances-in-solar-cellmaterials-and-storage-nurdan-demirci-sankir/

Applications of hybrid nanofluids in solar energy, practical limitations and challenges_ A critical review Tayyab Raza Shah & Hafiz Muhammad Ali

https://ebookmass.com/product/applications-of-hybrid-nanofluidsin-solar-energy-practical-limitations-and-challenges_-a-criticalreview-tayyab-raza-shah-hafiz-muhammad-ali/

A Comprehensive Guide to Solar Energy Systems: With Special Focus on Photovoltaic Systems 1st Edition

https://ebookmass.com/product/a-comprehensive-guide-to-solarenergy-systems-with-special-focus-on-photovoltaic-systems-1stedition-trevor-m-letcher/

Constitutional Amendments: Making, Breaking, And Changing Constitutions Richard Albert

https://ebookmass.com/product/constitutional-amendments-makingbreaking-and-changing-constitutions-richard-albert/

Adobe

Solar Adobe Energy, Ecology, and Earthen Architecture

UniversityofMinnesotaPress

Minneapolis

London

Albert Narath

Cover design by Laura Shaw Design

Cover photograph: Boyd Norton/U.S. National Archives, 412-DA-12837

Every effort was made to obtain permission to reproduce material in this book. If any proper acknowledgment has not been included here, we encourage copyright holders to notify the publisher.

Portions of chapter 1 were previously published in a different form in “Notes from Bioteknika,” in The InventionoftheAmericanDesert:Art,Land,andthePoliticsofEnvironment, ed. Lyle Massey and James Nisbet (Oakland: University of California Press, 2021), 61–78. Portions of chapters 2 and 3 were previously published in a different form in “The Historiography of Mud: Vincent Scully, Ralph Knowles, and the Image of Ecology,” TheJournalofArchitecture21, no. 8 (2016): 1312–35. Original article copyright RIBA Enterprises and available online at http://wwww.tandfonline.com/.

Copyright 2024 by the Regents of the University of Minnesota

All rights reserved. No part of this publication may be reproduced, stored in a retrieval system, or transmitted, in any form or by any means, electronic, mechanical, photocopying, recording, or otherwise, without the prior written permission of the publisher.

Published by the University of Minnesota Press 111 Third Avenue South, Suite 290 Minneapolis, MN 55401-2520 http://www.upress.umn.edu

ISBN 978-1-4529-7076-9 (ebook)

A Cataloging-in-Publication record for this book is available from the Library of Congress.

The University of Minnesota is an equal-opportunity educator and employer.

This bookis dedicatedto R.N.D.

Contents

Introduction: Preparing the Ground

1. Mud Machines: William Lumpkins, the Los Alamos Scientific Laboratory, and the Technics of Earth

2. Earth Ecologies: Ralph Knowles, the Natural Forces Laboratory, and Ecosystem Design

3. In and Out of Sight: Vincent Scully, Reyner Banham, and the Image of Earth

4. Mud/HUD: Theodore Jojola, Indigenous Planning, and the Politics of Adobe

Conclusion: Back into the Ground

Acknowledgments

Notes

Index

Aboutthe Author

Introduction

Preparing the Ground

A few people felt that only so much could be said about adobe.

“The Adobe News Is One Year Old,” Adobe News, 1975

In the years immediately surrounding the oil crisis of 1973, a group of photographers trained their lenses on the energy landscapes of the American Southwest. As part of the Documerica Program, an expansive initiative sponsored by the United States Environmental Protection Agency to record the state of the country’s environment, they roamed across sections of Arizona, Colorado, Utah, and New Mexico recording the infrastructures of energy production, distribution, and consumption that underlay the unwavering growth of western cities. Many of their images, such as the photographer Lyntha Scott Eiler’s photographs of the Four Corners and Navajo Generating Stations and the Black Mesa and Navajo coal mines, captured points of intensive contact between technology and terrain, where the coordinates of extractive capitalism were superimposed on Indigenous systems of land use and conceptions of natural order (Figure I.1).

In the same years, photographer Boyd Norton, a former reactor physicist for the Atomic Energy Commission, traveled through New Mexico surveying an alternative energy infrastructure. Norton visited high-tech, high-energy projects like the United States Army’s solar furnace at White Sands Missile Range, originally developed to test the resistance of different materials to nuclear explosions. Much of his trip, however, was focused on a group of comparably low-energy experiments located at what some called the “lunatic fringe” of solar research.1 Norton spent time with Steve and Holly Baer on the outskirts of Albuquerque for a tour of their iconic aluminum-clad

adobe “Zome” house (Figure I.2). In Santa Fe, he visited a converted Spanish-Pueblo-style adobe house designed by the local architect Travis Price (Figure I.3).

Figure I.1. Strip-mining operations at the Navajo Mine of the Utah Construction and Mining Company, Documerica Program, United States Environmental Protection Agency, 1972. Photograph by Lyntha Scott Eiler. U.S. National Archives.

After even a cursory glance at Norton’s photographs, there can be little doubt that the structures he encountered in New Mexico presented a marked deviation from the standard single-family suburban houses that were pushing the expanding boundaries of western cities, let alone the taut white boxes popularly associated with the formal language of architectural modernism. What drew Norton to northern New Mexico, however, was not the coalescence of a formal style but the formation of a robust energy crisis design

discourse. This was anchored in an approach to architecture formulated around the perceived environmental performance, historical continuity, and political resonance of a particular building material. The buildings Norton recorded, although disparate in terms of appearance, expense, and level of workmanship, all employed adobe (sun-dried earth brick) as a central aspect of their design. With their mud walls, simple solar heating systems, and orientation to the sun, they were designed to achieve a stable interior climate largely through natural flows of energy rather than with fossil fuel–intensive mechanical equipment. Like the long line of adobe structures built in the region before them, moreover, they were selfconsciously created to reflect the climatological context and multicultural architectural heritage of northern New Mexico.

Figure I.2. Steve and Holly Baer’s “Zome” house, Corrales, New Mexico, Documerica Program, United States Environmental Protection Agency, 1974. Photograph by Boyd Norton. U.S. National Archives.

Figure I.3. An adobe house in Santa Fe, New Mexico, converted to solar energy heating, Documerica Program, United States Environmental Protection Agency, 1974. Photograph by Boyd Norton. U.S. National Archives.

Taken together, Norton’s photographs illustrated an emergent movement that many of the buildings’ designers themselves referred to as “solar adobe.”2 The development, dissemination, and wider disciplinary implications of solar adobe discourse, as well as closely related areas of research on earthen architecture that intersected with it, comprise the main subjects of this book. Solar Adobe explores how attempts in the 1970s at describing, interpreting, and building with earth stimulated new models for energy conservation, community formation, and Indigenous resistance at a moment when architects, historians, and activists contended with the uneven environmental and social legacies of modern architecture and urban planning in the United States. At stake in retracing the contours of the solar adobe scene is not simply the excavation of a curious and largely forgotten episode in the history of architectural modernism

and its critical reception in the post–World War II period. Indeed, this book does not attempt a comprehensive history of the solar adobe movement itself or a definitive account of its main protagonists. My purpose is broader. In four chapters that trace adobe experimentation through a range of interrelated settings— from professional design offices, to university architecture studios and art history lecture halls, to the workshop garages of independent inventors and tinkerers, to countercultural communities, to highly instrumented weapons labs, to plazas and community centers on tribal lands—Solar Adobe explores ways in which the wide-ranging engagements with an individual building material raised critical questions concerning how architecture is practiced in a time of environmental crisis, whom it should benefit, and what a building is, or could become, as an object of energy-conscious design.

Solar Adobe is about earthen construction, but it is also about those who were drawn to adobe in the 1970s as a means toward the construction of specific historical narratives. It would be difficult, in fact, to think of another building material whose promotion and use in the twentieth century was so closely tied to the production of multiple—and sometimes competing—narratives that connected its history to its perceived present-day cultural and technological relevance. Across the historical publications, design exhibitions, technical reports, conference proceedings, and building manuals that facilitated the movement of information through the multifarious circuits of adobe building discourse, the region’s deeply rooted architectural heritage—and especially the earthen architectural traditions maintained by Pueblo communities—was positioned in various ways as a touchstone for contemporary design.

Taken together, the following chapters attempt to complicate and move beyond familiar tropes, often embedded in an imperializing structure of Self and Other, about the “lessons” learned by European and North American architects and architectural historians from “primitive” or “vernacular” sources. This book calls for a more expansive and inclusive historiographic framework.3 What follows is intended not only as a reflection on a critical juncture in North

American design culture but also as a work of architectural history directed toward broader questions concerning the writing of history —that is, of how pasts have been conceived and contested in the service of solutions for a perilous present.

A Very Simple Material

By the mid-1970s no less than two hundred homes incorporating solar adobe principles had been constructed around the Santa Fe area.4 In the wake of the oil crisis, as energy conservation began to preoccupy the interest of the American public and as federal programs were initiated to encourage the development of the country’s nascent alternative energy infrastructure, northern New Mexico attracted streams of people like Norton to embark on a new kind of architectural Grand Tour. According to one report, solar adobe homeowners in Santa Fe were literally “besieged with tourists and solar sightseers.”5 Visitors could orient themselves with a specially produced guidebook titled So You Want to See a Solar Building? and could even purchase a miniature adobe brick, marketed as “a little piece of New Mexico,” accompanied by an equally miniature booklet touting the energy effectiveness of earthen construction (Figure I.4).6

There was, according to one reporter, “a whole new mutant spore of architects springing up” in New Mexico.7 The activities of these mutant designers evaded easy categorization. Indeed, a conscious defiance of disciplinary categories and professional conventions emerged as one of their defining and sometimes befuddling traits. Independent, self-structured experiments with adobe construction were conducted not only in parallel with more official forms of scientific research and professional practice, but also in direct, albeit often uneasy, collaboration with them. The contours of solar adobe were established out of overlaps—of mechanical engineers, outlaw architects, and traditional adobe builders, of technoscience and homesteading, of colonialist impositions and decolonizing Indigenous architectural interventions, and of technologies of weaponry and

practices of ecological repair. The opportunities and tensions involved in these overlaps were a constitutive element of the solar adobe scene, giving it both interdisciplinary strength and productive disorder.

The glue that bound the expansive elements of solar adobe discourse together consisted of what were often perceived to be two fundamental characteristics of raw earth as a building material: its approachability as an environmental control technology and its historical continuity. Many of the built projects and publications discussed in this book challenged the entrenched and sometimes inaccessible regimes of expertise, spanning both technical and aesthetic knowledge, that were at the core of the modern architect’s professional identity. Traditionally trained and licensed architects certainly designed projects according to established methods and by navigating regulatory constraints, but one of the main attractions of adobe was its more immediate and wide-reaching approachability. In his popular book Adobe:BuildItYourself, first published in 1973, the architect and earthen construction advocate Paul Graham McHenry Jr. stated, “Adobe building bricks are a very simple material.”8 According to McHenry, all one needs to have in order to begin building an adobe house is a source of dirt (which can usually be found directly under one’s feet) and a level area where bricks can be left to dry. From this ground, McHenry provided a step-by-step description of the creation of a traditional adobe brick.9 The book covers a range of mixtures, treatments, and construction techniques, but the fundamental point about adobe bricks is this: “They are simple to make, and by following a few rules can be laid by anyone with a strong back, using a reasonable amount of care.”10

Figure I.4. Madeleine Wells and Jane Williamson, So You Want to See a Solar Building?

ATour Guide for Northern New Mexico (Santa Fe: New Mexico Solar Energy Association, n.d.).

McHenry’s publications were an outgrowth of a practical class on the subject that he taught at the University of New Mexico beginning in 1966. His advocacy and clearly communicated expertise did much to popularize adobe as a low-cost, user-friendly, widely applicable, and environmentally friendly construction material—so much so, in fact, that by the second edition of Adobe: Build It Yourself over

twenty-nine thousand copies of the book had been sold. By his own account, hundreds of structures had been built according to his instructions. Armed with a shovel, a wheelbarrow, and dog-eared, dirt-smudged copies of publications like McHenry’s, designers and owner-builders were producing untold millions of adobe bricks each year for their own construction projects. This largely informal, smallscale activity unfolded alongside a thriving commercial adobe production industry. In the north-central portion of the state in particular, where soils in the Rio Grande basin area offer a loam consistency that readily lends itself to earthen construction applications, some fifty active manufacturers, ranging from limited operations producing a few thousand bricks per year to large-scale companies capable of delivering upward of a million bricks per year, supplied a growing demand for adobe throughout the 1970s.11 Upon its initial release, McHenry’s book took its place alongside several other practical resources aimed at the aspiring adobe builder. It was also part of a more general profusion of design manuals of various kinds, from now-iconic publications like the architect and solar engineer Steve Baer’s 1969 Dome Cookbook and the design collective Ant Farm’s 1971 Inflatocookbook to scores of other do-ityourself books and self-published instructional pamphlets that fell under the banner of what the builder Ken Kern, in his 1974 book The Owner-BuiltHomestead,called a “post modern way of country living in a social and ecological context.”12

One of the main attributes, however, that set adobe apart from many of the other favored materials and techniques circulating around the self-build and appropriate-technology networks of the late 1960s and 1970s was its embeddedness in a specific and remarkably consistent historical narrative. Again and again, the adobe brick was portrayed as the continuation of a long culturalhistorical trajectory that encompassed the development of earthen construction in the Southwest. This began with the “puddling” method used by local Indigenous peoples prior to the arrival of Spanish colonists who applied the word pueblo to the multistory earthen buildings constructed in the Southwest by individuals from a range of different cultural and linguistic groups and who introduced

wooden-mold adobe brickmaking methods. In the context of solar adobe, these centuries-old techniques were positioned as a historical foundation for the combination of adobe construction with energy efficiency–enhancing additions such as greenhouses, blinds, vents, and underground rock storage bins by designers and builders following World War II.

The distinctive technohistorical parameters of solar adobe discourse are clearly encapsulated in the form of an exhibition staged in 1981 in Washington, D.C. As part of the fifteenth annual Festival of American Folklife, sponsored by the Smithsonian Institution and the National Park Service, a group of adobe builders and craftspeople from New Mexico, including contractors and brickmakers from Albuquerque and several earthen construction experts from Taos Pueblo, built a full-scale model adobe house and a functioning horno (adobe oven) on the grass of the National Mall (Figures I.5 and I.6). The structures, crafted from commissioned expertise and local District dirt, were part of the Adobe Program, one of the most popular attractions at the festival that year. In daily workshops set up beside the house construction site, enthusiastic crowds of visitors were introduced to the basic techniques of earthen construction and traditional bread baking.13

Figure I.5. Construction at the Adobe Program, Folklife Festival in Washington, D.C., 1981. Smithsonian Institution Archives, Image #817600-06A.

Figure I.6. Construction at the Adobe Program, Folklife Festival in Washington, D.C., 1981. Smithsonian Institution Archives, Image #817600-16A.

The exhibit differed in a significant way from surrounding displays and demonstrations. Instead of being funded by the Smithsonian Institution, as was the case for the other attractions, the Adobe Program was sponsored by the United States Department of Energy (DOE). Following its formation in 1977, the agency organized an installation at the festival each year. Their exhibits contextualized the subject of energy in two general ways: first, as the impetus for the

evolution of close-knit groups, such as coal miners and oil rig workers, who cultivated bodies of shared tradition around the extraction of natural resources; and second, as the basis for the development of specific “folk technologies.” The latter were considered to be pre-industrial in origin, often low-tech, attuned to local climates, and passed down through the mechanisms of survival or revival. In an essay for the 1977 Folklife Festival program, the folklorist and historian James P. Leary noted that understanding technology as a subject of folklore entailed combining the “practical” perspective of the historian of technology with the “socio-aesthetic” concerns of the folklorist. The effect, according to Leary, was a foregrounding of human-machine relationships.14 These relationships were the organizing principle of the first DOE display, called “America’s Appetite (for Energy),” which focused on cultural traditions that had evolved in the United States around agriculture and food-production technologies.

The same perspective guided the organization of the Adobe Program four years later. In preparation for the festival, a team of researchers traveled to New Mexico in order to record extensive field interviews with the participants.15 On two occasions, the entire group was brought together to reflect on the legacy of adobe building in the region and to speculate on its future directions. The sessions focused on techniques of adobe brickmaking as well as the means by which knowledge about earthen construction was passed down through generations of builders. The researchers’ focus on oral knowledge transmission revealed ways in which communities worked to create adobe buildings and, at the same time, were themselves constituted in meaningful ways from the collaborative, continuing effort of constructing and maintaining an earthen wall. Adobe was portrayed as a living tradition—not something to be memorialized as a display in a museum or to be revived, in the sense of bringing back a practice that had vanished, but rather an ongoing and actively evolving body of cultural-technological knowledge and relationship building that was anchored in centuries of practical experience.

According to the exhibit’s organizers, learning about earthen construction was particularly relevant in the context of post–oil crisis energy politics in the United States. Whereas other displays at the 1981 Folklife Festival, such as a nearby exhibit on Ojibwa birchbark works, tended to frame traditional cultural production through the interpretive categories of artistry or craftsmanship, the adobe house was presented to the public first and foremost as a technology for energy conservation. In an essay for the Adobe Program catalog, the historian Peter Nabokov pointed to Indigenous and Spanish colonial architectural traditions as prime examples of an energy-conserving folk technology. His account of the deep cultural valence of adobe in Pueblo communities in particular, where in many cases buildings were considered to be alive or formed through a process of raising (as in raising a crop or a child), was punctuated throughout with the comparatively sober language of energy-cost analysis.16 At the end of his essay, Nabokov included an idealized section drawing representing heat gain across the south-facing surface of a hypothetical pueblo structure. Departing from conventional uses of the section drawing by anthropologists to show the spatial relationship of kin groups and other social or ritual information, its function in the context of the Adobe Program was to convey the inputs and outputs of a culturally rooted, regionally attuned environmental machine.

The Adobe Program illustrated the DOE’s interest, albeit at a very small scale in comparison to its investment in conventional power sources such as oil, coal, and nuclear energy, in the potential of simple, individualized heating and cooling strategies based on readily available local materials and preexisting bodies of multigenerationally honed building knowledge. As viewed within the framework of the Folklife Festival, adobe did not need to be discovered or refined, just redefined through the language of energy conservation and efficiency.17 In the hands of the exhibit’s participants and through the writing of the historian, adobe was reconceptualized as a legible and approachable architectural technology where the collection, distribution, and consumption of energy was collapsed into the form of the simple, time-tested earthen wall.

A Very Complex Material

One of the through lines in this book is that despite adobe’s elemental and conceptual simplicity, the implementation and interpretation of the material in the 1970s was in fact exceedingly complex. Adobe construction had been practiced for centuries in what would come to be called New Mexico, but its expansion and discursive reframing as an energy-efficient heating and cooling technology and as an antidote to the planning practices of the postwar city rubbed up against a set of larger forces—ranging from building codes, material standards, government energy policies, and home financing structures to the ongoing effects of settler-colonialist land-use practices—which in many ways conditioned the spread of modern architecture across the cities, suburbs, and tribal lands of the western United States in the twentieth century. Adobe, as we will see, was deeply and unavoidably political.18 Building officials in particular viewed earthen construction with suspicion. As McHenry himself summed it up, “Most architects and engineers are extremely suspicious of something that will melt when it rains.”19 Such doubt and misconception was readily apparent in the language of building codes. Construction with “unburned clay masonry” was often subject to a set of restrictive and oftentimes unrealistic conditions.20 Maligned in the context of building codes as an inexact folk material, adobe presented a striking conundrum. It was on the one hand inexpensive, efficient, and deeply engrained in local building cultures. On the other hand, the heterogeneous consistency of dirt, which could vary considerably in composition from truckload to truckload, as could the various methods developed by builders to test the quality of their adobe bricks (including simply dropping one from a few feet to see if it stayed intact), contrasted sharply with the exacting regimes of material production and testing that drove the North American construction industry in the postwar period. In the words of Astrid Trauth, a director of community planning and development for HUD’s Indian Programs Office in the 1980s, adobe was a “traditional building material that has run up against a modern, technological, standards-oriented society.”21

A similar disjunction was evident in the area of energy. Even though adobe’s effectiveness as a passive heating technology was intuitively graspable and physiologically palpable (especially on a cold New Mexico winter night, as thick mud walls silently radiate out the heat absorbed over the course of the day), the thermal performance of an earthen wall turned out to be difficult to understand in scientific terms. Comfort, coziness, and belonging, in other words, were not easily translated into the numerical parameters of more officially designated and industry-recognized criteria such as “room temperature.” To address these kinds of issues, at the same time that owner-builders were making their own bricks with trowels, handmade wooden forms, and sheer physical effort, engineers and physicists at nearby Los Alamos Scientific Laboratory employed sophisticated sensors and state-of-the art supercomputers used to model nuclear reactions in order to simulate the considerably less volatile thermodynamic properties of sun-dried mud. Their efforts, in effect, were directed at showing objectively what local builders and inhabitants of earthen buildings had long felt and known.

These kinds of tensions also evince a complex and sometimes fraught set of adjacencies, overlays, and oppositions that had a direct impact on the physical character of the northern New Mexico landscape in the decades following World War II. In her 2014 book Undermining, one of the most probing and sustained accounts of these dynamics, the art critic Lucy Lippard writes, “Next to little adobe houses in the Southwest, there are sometimes traces of a pit, the womb from which the mud for the bricks was taken, perhaps a millennium ago, perhaps yesterday.”22 Nowhere, we might say, are the piles and pits that make up architectural production at any scale more visibly and directly connected than in the life cycle of the handbuilt adobe house. Rather than an object, the adobe house, if we follow Lippard’s description, stands as the evidence of interface. Lippard cites the Tewa architect and scholar Rina Swentzell, who wrote that when she was a child, “she and other children used to taste the houses and kivas because each group of adobes were different, depending on the source of the clay.” “When abandoned,”

she noted, “these houses return gradually to the earth, piles of mud.”23 From this perspective, traditional adobe construction is the residue, through rhythms of construction and maintenance, of an ongoing interplay between the human body, technology, and natural systems.

In the second half of the twentieth century, this topography of pits and piles, of body and place, was forcibly brought into contact with the large-scale atomic age infrastructure imposed on the region by Big Science. The environmental footprint of this landscape, composed of buildings, testing equipment, and the toxic outflows that emanated from them, assumed a fraught relationship with the ecological systems and ritual topographies sustained by the Indigenous peoples whose lands it was built upon. Added to this were impacts associated with the rapidly transforming landscapes emanating from the postwar expansion of cities like Albuquerque and Santa Fe. Across the terraformed terrain of suburban developments, standard single-family wood-frame houses were accompanied by specially commissioned “Spanish-Pueblo-style” homes. Likewise, in the increasingly gentrified historic neighborhoods of Santa Fe, old adobe structures were steadily being renovated or replaced with new ones reflective of the living styles and southwestern fantasies of a largely transplanted white clientele. In a way that signals the wider socioeconomic dynamics of the region in the period, adobe was simultaneously employed by those who could not afford other building systems and, increasingly, by a wealthy elite with the money to pay for the labor associated with earthen construction and for expensive hand-carved, regionally inflected architectural details expressive of a distinctly AngloAmerican “romantic regionalism.”24 Depending on the context, adobe was envisioned as either a “poverty material,” to use an expression of McHenry’s, or a luxury material utilized to mark social status and showcase aesthetic taste through practices of appropriation.25

Another way to say this is that looking at adobe brings up questions of land. Adobe walls are physically derived from the earth and destined to return back into it, but they also, in the context of this book, embodied larger issues concerning power, sovereignty,

and survival under conditions of settler colonialism. According to Eve Tuck and K. Wayne Yang, “Within settler colonialism, the most important concern is land/water/air/subterranean earth. . . . Land is what is most valuable, contested, required.”26 In such a context, the adobe brick was linked as both physical matter and political symbol to larger-scale concerns around land—whether in the form of water protection, land rights, or Indigenous relationships to the environment. Following the reception of adobe as a building material in the 1970s will therefore allow us not only to trace how it was leveraged as a solution for the environmental challenges of the postwar city but also to foreground the role of architecture in practices of Indigenous design activism.27

These dynamics between the simple and the complex, representative as they were of some of the central contradictions of architectural modernism itself, are played out in the following four chapters. Each chapter explores a different way in which earth was interpreted and utilized—as a heating and cooling machine, as an ecological system, as a formal composition, and as the embodiment of community across the wide-ranging and sometimes incongruous settings where the central tenets of solar adobe, understood at the broadest level, were conceived, expanded, and contested in the 1970s.

The first chapter, “Mud Machines,” begins to situate solar adobe discourse within the historical context of environmental control technologies in the United States. The chapter grows from an analysis of an individual house designed in 1973 by the architect William Lumpkins and the office Sun Mountain Design for an early solar development called First Village, located on the outskirts of Santa Fe. Using the design and reception of the building as a case study as well as the clientele it was meant to support, the chapter wrestles with the seemingly contradictory status of the house as, on one hand, a regionally attuned design reflecting the popularity of the “Spanish-Pueblo” style across the expanding districts of suburban Santa Fe, and, on the other hand, a finely tuned piece of environmental control equipment that was the product of sophisticated scientific analysis conducted by former weapons

engineers at a newly formed solar research group at Los Alamos Labs. Ultimately, the chapter utilizes these interpretative coordinates to situate solar adobe discourse in relation to the broader ascendancy of “appropriate technology” thinking in North America during the 1960s and 1970s.

Much of the adobe experimentation discussed in the first chapter was anchored in an approach to architecture that envisioned buildings in relation to broader ecological systems. The second chapter, “Earth Ecologies,” picks up on that thread through a detailed analysis of the design work and pedagogical initiatives of architect Ralph Knowles. In a major research program devoted to observing and recording examples of ancient archaeological sites and modern Pueblo communities in the Southwest, Knowles attempted to approach adobe construction through the same interpretive lens with which midcentury ecologists studied the formation and maintenance of a stable ecosystem. Knowles conducted his work at the University of Southern California, where he cofounded a research space called the Natural Forces Laboratory. Filled with technical equipment designed to simulate the impact of variables such as wind, water, and sun on building forms, the lab not only constituted a significant effort to incorporate ecological principles into architectural design but was also an influential attempt at analyzing the development of historical building forms through the acquisition, organization, and visualization of environmental data.

The third chapter, “In and Out of Sight,” uses Knowles’s research as a starting point for an examination of ways in which the reception of traditional adobe construction in the 1970s often took the form of historical narratives that sought to position Indigenous architecture as a precedent for addressing the legacy of modern urban-planning practices. The chapter’s focus is art historian Vincent Scully, whose monumental 1975 book Pueblo:Mountain,Village,Dance,published around the same time as Knowles’s own research and the efflorescence of solar adobe design in New Mexico, remains the most extended treatment of the subject from an art-historical perspective. In several writings from the late 1960s and 1970s, Scully argued that problems such as the destruction of North

American city centers through urban redevelopment projects and the onset of the energy crisis had not only radically transformed the context of contemporary design but also necessitated a reappraisal of the writing of architectural history. Scully’s experience of Pueblo architecture over the course of several trips to the Southwest provided a touchstone for this effort. In order to perceive and communicate the close interplay of earthen architecture, landscape, and ritual dances that he experienced during visits to several Pueblo communities, he developed an extensive practice of art-historical image making. This involved the construction of carefully controlled photographic compositions meant to draw the reader’s attention to a set of cohesive aesthetic correspondences that Scully felt had been violently eliminated from the built environment of cities. Ultimately, the chapter brings his writings into dialogue with the desert observations of the architectural historian Reyner Banham as a way of posing questions about evidence, observation, and positionality in the art historical reception of adobe.

Solar Adobe positions such encounters with earthen building traditions against a body of work on adobe created in the mid-1970s by a group of Native scholars, designers, and preservationists. As explored in the fourth chapter, “Mud/HUD,” at the same time that researchers like Knowles and Scully sought to apply their studies of Indigenous built environments to the artificialities and incoherences of the postwar city, the young Isleta planner and scholar Theodore Jojola actively confronted the profound environmental and political forces that were rapidly transforming his own and nearby Pueblo communities. Adobe, both as a practical, energy-efficient building material and an integral part of Pueblo community life, was a central subject of his arguments. Buoyed by the work of anthropologists such as Alfonso Ortiz, the activities of the American Indian Movement, legislation such as the 1975 Indian Self-Determination and Education Assistance Act, and coordinated energy rights movements across the Southwest, Jojola and other Native architectural scholars confronted the challenges posed by destructive HUD housing programs by formulating alternative historical accounts of adobe. Their research drew on the discourse of solar adobe while

also highlighting the material’s relation to deeply held cultural traditions and pressing socioeconomic issues—including employment opportunities, credit financing, property ownership, access to transportation, and resource development—that played important roles in shaping Pueblo ecologies.

The Material of Environmental Control

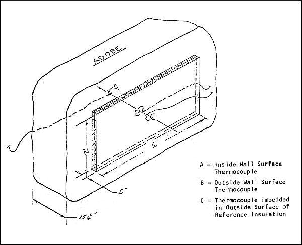
If a single image could encapsulate the history traced in this book, it might be the one of an adobe brick shown in Figure I.7. The image was published in the proceedings for a 1975 conference on solar architecture jointly sponsored by the American Institute of Architects, the Association of Student Chapters of the American Institute of Architects, and the United States Energy Research and Development Administration. The context for the illustration was an experiment conducted on March 4, 1973, a few months before the onset of the oil embargo, by the engineer Benjamin (“Buck”) Rogers at an adobe building located near the small northern New Mexico community of Embudo. Rogers was then based at Los Alamos Scientific Laboratory and was an active participant in the local solar adobe scene. In the experiment, he endeavored to measure the thermal conductivity of an adobe wall over the course of a day by placing thermocouple devices in the inner and outer surfaces of the wall, as well as within a section of rigid insulation that was affixed to the exterior face of the structure.

Figure I.7. Diagram of adobe brick with embedded thermocouples, from B. T. Rogers, “In Situ Measurement of Adobe ‘U’ Factor,” Proceedings ofthe ASC/AIAForum ’75: Solar Architecture (Washington, D.C.: U.S. Energy Research and Development Administration, 1975), 12.10.

Set against the blank background of the page, the illustration of the brick has a look somewhere between a technical diagram and a casual sketch. The form of the brick itself is rendered with an imprecise freehand line that has the effect of conveying the thick, handcrafted, nonstandard qualities of traditional adobe construction. In the illustration, however, the brick’s undulating contours contrast with the sharply delineated, straight-lined rectangle representing a section of rigid insulation and the thermocouple devices embedded

Turn static files into dynamic content formats.

Create a flipbook
Issuu converts static files into: digital portfolios, online yearbooks, online catalogs, digital photo albums and more. Sign up and create your flipbook.
[FREE PDF sample] Solar adobe: energy, ecology, and earthen architecture albert narath ebooks by Education Libraries - Issuu