
58 minute read
202 SPARE PARTS CATALOGUE
Drawing 39A - ACCESSORIES [MOD:PANV4916]............................................................................................................................................................................................................................... 188 Drawing 39B - ACCESSORIES [MOD:PANV4916]............................................................................................................................................................................................................................... 190 Alphanumeric index.................................................................................................................................................................................................................................................................................192
POS. CODE
Advertisement
1 5101E411C ELECTRIC WIRING 2 59340661A ACTUATOR 3 77244213B SCREW 4 75011211A NUT 5 85310031A SPRING WASHER 6 MM
DESCRIPTION QTY START DATE END DATE VALIDITY NOTES
1 02/09/2019 1 09/11/2017 3 09/11/2017 1 09/11/2017 1 09/11/2017

POS. CODE
1 59014562A LEFT-HAND FRONT PIPE 2 59014572A RIGHT-HAND FRONT PIPE 3 59014582A LEFT-HAND REAR PIPE 4 59014592A RIGHT-HAND REAR PIPE 5 67040511A SPARK PLUG 6 74141711A CLAMP 10-7 MM 7 55243731B SENSOR, PRESSURE 8 81414591A HOLDER 9 77550171A SCREW TBEI M4X8 10 85250311AB WASHER 11 76412451A RUBBER PAD 12 71615501AA SPACER 13 77150208B SCREW TCEIF M6X14 8.8 14 76411671A RUBBER PAD 15 81414581A HOLDER 16 75840801A CLAMP 17 76414251A RUBBER PAD 18 87613921A DUCT, AIR (REAR) 19 87613931A DUCT, AIR Front 20 65540081A ACTUATOR 21 77240323C SCREW 22 74142371A CLAMP
1 13/11/2017 1 13/11/2017 1 13/11/2017 1 13/11/2017 4 19/04/2017 8 09/11/2017 4 09/11/2017 2 09/11/2017 2 19/02/2019 2 07/05/2018 2 09/11/2017 2 09/11/2017 2 09/11/2017 4 09/11/2017 1 09/11/2017 2 10/01/2018 1 09/11/2017 1 09/11/2017 1 09/11/2017 1 09/11/2017 2 09/11/2017 4 10/01/2018

POS. CODE DESCRIPTION
1 5101C401D ELECTRIC WIRING PLATE HOLDER 2 5101D451B REAR WIRING 3 54140151A RELAY 4 53940034A SWITCH, REAR BRAKE 5 5101C391C ELECTRIC WIRING 6 069191030 CLAMP 7 74110551A CLAMP, RUBBER 39MM 8 74140381A CLAMP 9 5101C371E MAIN WIRING HARNESS 10 74110121A CLAMP, RUBBER 62MM 11 74110131A CLAMP, RUBBER 82MM 12 75840801A CLAMP 13 38940191A FUSE 5A 38940201A FUSE 10A 38940211A FUSE 15A 38940221A FUSE 20A 38940241A FUSE 7,5A 38940261A FUSE 25A 14 87210532A CAP DDA 15 5101E961B EXTENSION, WIRE HARNESS GPS CONTROL UNIT 16 5101E631B EXTENSION, WIRE HARNESS GPS CONTROL UNIT
QTY START DATE END DATE VALIDITY NOTES
1 03/07/2018 1 03/07/2018 4 1 12/01/2018 1 03/07/2018 13 09/11/2017 7 09/11/2017 8 09/11/2017 1 03/07/2018 2 09/11/2017 1 09/11/2017 8 09/11/2017 1 1 1 1 1 1 1 1 16/07/2018 1

POS. CODE DESCRIPTION
1 28643051C ENGINE CONTROL UNIT 2 70011071A VIBRATION DAMPER HOLDER 3 86610301A PAD 4 77244183B SCREW 5 77440341A SCREW, TAPPING 6 38510875A UNIT SHOCK ABSORBERS OHLINS 7 70011081A VIBRATION DAMPER HOLDER 8 83019491AB BRACKET 9 77550171A SCREW TBEI M4X8 10 70011061A VIBRATION DAMPER HOLDER 11 38510866B BLACKBOX UNIT 12 83019481AB BRACKET 13 85550001B SPRING WASHER 14 77211061A SCREW TEF M6X14 15 8291H531A BATTERY HOLDER 16 85350101A WASHER, SPRING 17 85041951AA QUICK FASTENING 18 54040301B VOLTAGE REGULATOR 19 77244213B SCREW 20 38940251A FUSE 30A 21 88640891A O-RING 18.64X3.53 22 39740081B STARTER RELAY 23 76410901A RUBBER PAD 24 85250311AB WASHER 25 8301G771A BRACKET, BATTERY BAND 26 39540411D BATTERY 27 51310841A CABLE 28 51411001A CABLE 29 51410991A BATTERY - SOLENOID STARTER CABLE 30 77156628B SCREW TCEIF M6X10 31 87241271A CAP, RUBBER
QTY START DATE END DATE VALIDITY NOTES
1 1 09/11/2017 5 07/05/2018 1 09/11/2017 3 09/11/2017 1 07/05/2018 1 09/11/2017 1 09/11/2017 6 09/10/2018 1 09/11/2017 1 08/03/2019 1 09/11/2017 1 27/11/2017 1 27/11/2017 1 09/11/2017 2 09/11/2017 2 10/10/2017 1 09/11/2017 2 09/11/2017 1 2 09/11/2017 1 09/11/2017 4 09/11/2017 4 09/11/2017 1 09/11/2017 1 10/11/2017 1 03/07/2018 1 03/07/2018 1 03/07/2018 2 09/11/2017 2 15/10/2018 XST:CAL,CDN

POS. CODE DESCRIPTION
1 51610053C HORN 2 77244503B SCREW M8X18 3 71316061AA SPACER 4 59340621A ELECTRIC MOTOR, EXHAUST VALVE 5 38540092A PIATTAFORMA INERZIALE 6 77240453C SCREW TBEIF M6X22 10.9 7 74841091AA NUT 8 70010901A VIBRATION DAMPER 9 8301H291AA BRACKET 10 74810361A NUT 11 73210664A CABLE, EXHAUST VALVE OPEN 12 73210672A CABLE, EXHAUST VALVE CLOSE 13 75011551A NUT M22X1.5 14 59820611A SEAT LOCK 15 82716141A PLATE 16 70010431A DAMPER 17 38512163A GPS CONTROL UNIT 18 8291H691A BRACKET 19 86610751A PAD 20 77157213B SCREW TCEIF M8X16 21 77440111A SCREW 22 76411141A VIBRATION DAMPER PAD 23 85210901B WASHER 24 8291H701A HOLDER 25 74110401A CLAMP 26 77215101AA SCREW, SPECIAL
QTY START DATE END DATE VALIDITY NOTES
1 21/10/2017 1 21/10/2017 1 09/11/2017 1 13/11/2017 1 22/05/2018 2 22/05/2018 9 09/11/2017 2 09/11/2017 1 01/07/2018 2 14/12/2017 1 21/11/2017 1 09/11/2017 1 17/12/2017 1 25/07/2017 1 17/12/2017 1 13/05/2019 1 1 3 2 2 2 1 1 1 1

POS. CODE DESCRIPTION
1 59822111C LOCKS KIT 2 51840051B COIL ANTENNA, IMMOBILIZER 3 59810341A KEY WITH TRANSPONDER ACTIVE 4 59840291A KEY, NON INDENTED WITHOUT TRANSPONDER 5 65240321A KEY-OPERATED SWITCH 6 86640081A GASKET, FUEL TANK CAP 7 89520411AB TANK CAP COMPLETE 8 55240121A SENSOR, AIR TEMPERATURE 9 77440213C SCREW 10 77916811AA SCREW, SPECIAL 11 55212121B SENSOR, SPEED 12 71314901A GASKET TH.02 71319201A GASKET 0.5 MM 13 77210601A SCREW TEF M6X16 14 75840601A FAIRLEAD 15 55212111B SENSOR, SPEED
QTY START DATE END DATE VALIDITY NOTES
1 1 07/06/2017 1 07/06/2017 1 25/07/2017 1 07/06/2017 1 26/03/2018 1 26/03/2018 1 09/11/2017 2 13/12/2017 2 09/11/2017 1 09/11/2017 4 09/11/2017 6 09/11/2017 2 09/11/2017 7 09/11/2017 1 09/11/2017 XST:CAL,CDN
XST:CAL,CDN XST:CAL,CDN

POS. CODE
1 52010421E HEADLIGHT 2 44218951A RESONATOR, AIR INTAKE 3 48411512A AIR CONVEYOR 4 77156458B SCREW TCEIF M5X25 5 71614381AA SPACER 6 76411361A VIBRATION DAMPER PAD 7 77440213C SCREW 8 85041951AA QUICK FASTENING 9 8291G492AA HEADLIGHT BRACKET 10 77251018B SCREW TEF M6X20 11 85211601B WASHER 6.4X14X1.2 12 77440183C SCREW
1 07/05/2018 1 04/12/2017 1 04/12/2017 4 09/11/2017 2 09/11/2017 4 04/12/2017 2 09/11/2017 4 09/11/2017 1 09/11/2017 4 09/11/2017 4 07/05/2018 4 13/12/2017

POS. CODE DESCRIPTION
1 52510601D TAILLIGHT 2 53010226A FLASHER LIGHT FRONT LH - REAR RH 3 53010236A FLASHER LIGHT FRONT RH- REAR LH 4 71314703A SPACER 5 77156398B SCREW TCEIF M5X12 6 77440071A SCREW, TAPPING M4.5X12 7 85213111AA WASHER 8 39040211A BULB
QTY START DATE END DATE VALIDITY NOTES
1 24/10/2017 1 1 2 24/10/2017 2 24/10/2017 1 24/10/2017 1 09/11/2017 2

POS. CODE
1 40611351F INSTRUMENT PANEL 2 46240461A WASHER, SPRING 3 70010431A DAMPER 4 74841091AA NUT
1 28/02/2018 3 09/11/2017 3 09/11/2017 3 09/11/2017

POS. CODE DESCRIPTION
1 944650035 SHELL ADVANCE DUCATI 15W50 - 1L BOTTLE 2 944650037 SHELL ADVANCE DUCATI 15W50 – 209L DRUM
QTY START DATE END DATE VALIDITY NOTES
1 1

POS. CODE DESCRIPTION
1 18010472A 5TH,6TH GEAR SELECTOR FORK 2 18010482A 1TH,4TH GEAR SELECTOR FORK 3 18010492A 2TH,3TH GEAR SELECTOR FORK 4 18120071A GEAR CHANGE MECHANISM 5 71611571C SPACER 6 71611581C SPACER 7 79915131C SPRING 8 79915141D SPRING 9 88450311A STOP RING 10 88450361A CIRCLIP 11 182P0011A COMPLETE GEARBOX DRUM 12 18220381B GEARBOX DRUM FLANGE ASSEMBLY 13 55243931A GEARBOX POSITION SENSOR 14 70250411A BEARING 25X42X9 15 88450391B SPRING RING 16 77355038B SCREW 17 82118261A PIN 18 85213981A WASHER
QTY START DATE END DATE VALIDITY NOTES
1 19/04/2017 1 19/04/2017 1 03/05/2018 1 19/04/2017 1 30/11/2016 1 30/11/2016 1 30/11/2016 1 30/11/2016 1 30/11/2016 1 30/11/2016 1 30/10/2017 1 19/04/2017 1 19/04/2017 1 19/04/2017 1 19/04/2017 1 19/04/2017 2 19/04/2017 1 19/04/2017

POS. CODE
1 14911351C LAY SHAFT 2 14911372A MAIN SHAFT 3 17215581B DRIVING GEAR 3RD/4TH SP. 4 17215591B DRIVING GEAR 5TH SP. 5 17215601B DRIVING GEAR 6TH SP. 6 17215611A DRIVEN GEAR 1ST SP. 7 17215621A DRIVEN GEAR 2ND SP. 8 17215631B DRIVEN GEAR 3RD SP. 9 17215641B DRIVEN GEAR 4TH SP. 10 17215651B DRIVEN GEAR 5TH SP. 11 17215661B DRIVEN GEAR 6TH SP. 12 17215671A DRIVING GEAR 2ND SP. 13 70140311A NEEDLE BEARING 14 70140321A NEEDLE BEARING 15 70140331A NEEDLE BEARING 16 71210631A BUSH 17 85213291A THRUST WASHER 18 85213311A THRUST WASHER 19 85214141A THRUST WASHER 20 85611372A WASHER LOCK 28X32.5X1 21 85611491A GROOVED WASHER 22 88440731A SPRING RING 23 88440741A SPRING RING 24 88440751A CIRCLIP 25 70241761A NEEDLE BEARING 26 70241781A BEARING, NEEDLE 27 710P0021B BEARING (Unit) 28 71012021B PLATE 29 77253314CF SCREW 30 88640042A O-RING 31 713P0011C CHAIN SPROCKET SPACER 32 68050101A KEY 2X2X10
1 21/03/2017 1 21/03/2017 1 21/03/2017 1 21/03/2017 1 21/03/2017 1 21/03/2017 1 21/03/2017 1 21/03/2017 1 21/03/2017 1 21/03/2017 1 21/03/2017 1 21/03/2017 1 21/03/2017 4 21/03/2017 1 21/03/2017 1 21/03/2017 2 21/03/2017 2 21/03/2017 1 21/03/2017 2 21/03/2017 3 21/03/2017 2 21/03/2017 4 21/03/2017 1 21/03/2017 1 19/04/2017 1 19/04/2017 1 28/03/2018 1 19/04/2017 3 30/08/2017 1 10/04/2017 1 19/04/2017 1 28/03/2018

POS. CODE DESCRIPTION
1 11711771A ROD 2 17021421A IDLE GEAR 3 17011472A PRIMARY DRIVE FRONT SPROCKET 4 17011611A REAR SPROCKET 5 19020551A CLUTCH DISC SET 6 19410711A STOP RING 7 19410721A DISK, CLUTCH PRESSURE 8 19610822A MOZZO POSTERIORE 9 19610833A MOZZO CENTRALE 10 19610841A MOZZO ANTERIORE 11 19810672A CLUTCH HOUSING 12 70242181A CUSCINETTO REGGISPINTA 13 71117321B BUSH 14 7131D431A SPACER 15 75012251B NUT, SPECIAL 16 77116771A SCREW 17 7791B471A SCREW 18 7791B481A SCREW 19 79916761A SPRING WASHER 20 79916771AC SPRING WASHER 21 79916781AD SPRING WASHER 22 84740181A BALL 23 85214541A RING 24 85214551A RING 25 85214561A RING 26 85214571A TOOTHED LOCK WASHER 27 44910851B SPROCKET 28 46320537A O-RING 29 70140641A NEEDLE CAGE 30 70242091B BALL BEARING 31 70250441A BEARING, NEEDLE 32 70250511A BEARING 25X47X12 33 70250531A BEARING 34 706108120 SCREW M8X20 35 71316111B SPACER
QTY START DATE END DATE VALIDITY NOTES
1 19/04/2017 1 19/04/2017 1 19/04/2017 1 19/10/2018 1 01/10/2018 1 01/10/2018 1 01/10/2018 1 01/10/2018 1 01/10/2018 1 01/10/2018 1 01/10/2018 1 01/10/2018 1 01/10/2018 1 01/10/2018 1 01/10/2018 1 01/10/2018 3 01/10/2018 6 01/10/2018 1 01/10/2018 1 15/11/2018 1 15/11/2018 6 01/10/2018 1 01/10/2018 1 01/10/2018 1 01/10/2018 6 01/10/2018 1 19/10/2018 1 19/10/2018 1 19/10/2018 1 19/10/2018 1 19/10/2018 1 19/10/2018 1 19/10/2018 8 19/10/2018 1 19/10/2018

POS. CODE
36 7131D412A SPACER 37 7131D421A SPACER 38 7131D631A SPACER 39 81810521B CLUTCH CONTROL PIN 40 85214051B THRUST WASHER 41 88111152B INNER RING 42 93040022A SEAL RING 43 93042411A SEAL RING 44 77251300C SCREW
1 19/10/2018 1 19/10/2018 1 19/10/2018 1 19/10/2018 1 19/04/2017 1 19/04/2017 1 19/10/2018 1 19/10/2018 1 19/04/2017

POS. CODE DESCRIPTION
1 77941992A SCREW 2 24311541AH CLUTCH PROTECTION COVER 3 48611191A DAMPER, SOUND ARRESTER 4 82718691A SHEET ACOUSTIC DAMPER 5 77550200CC SCREW 6 88641201A O-RING 7 78010921A PLUG 8 22032083A GASKET, ALUMINIUM 28X22.5X1 9 78010511C PLUG 10 85250261A GASKET, ALUMINIUM 12X16X1.5 11 88640331A O-RING 17.96X2.62 12 53940302A SWITCH ASSY, OIL PRESSURE 13 55241321C SENSOR, TIMING & RPM 14 85211951A GASKET 10.5X17X2 15 85310031A SPRING WASHER 6 MM 16 77253304C SCREW 17 88650321A O-RING 18 24311553AH CLUTCH COVER 19 89320121A PLUG ASSY 20 88640891A O-RING 18.64X3.53 21 77942002A SCREW 22 88642721A O-RING 23 66810591A FILLER 24 93042231A SEAL RING 25 88450291A SNAP RING 26 85212721A THRUST WASHER 27 93041521A SEAL RING 28 78110121AA SCREW, SPECIAL 29 85250241A WASHER 10X14X1 30 87712481A OIL PRESSURE LINE 31 76440581A RUBBER PAD 32 43312502C TRANSFER "SHELL ULTRA"
QTY START DATE END DATE VALIDITY NOTES
22 19/04/2017 1 19/04/2017 1 25/07/2017 1 19/04/2017 7 25/07/2017 1 25/07/2017 1 25/07/2017 1 19/04/2017 1 25/07/2017 1 25/07/2017 2 25/07/2017 1 19/04/2017 1 25/07/2017 1 19/04/2017 1 19/04/2017 1 19/04/2017 1 19/04/2017 1 30/11/2018 1 25/07/2017 1 24/12/2009 2 19/04/2017 1 25/07/2017 1 25/07/2017 1 25/07/2017 1 25/07/2017 1 25/07/2017 1 25/07/2017 1 30/10/2017 2 30/10/2017 1 30/10/2017 1 18/12/2017 1 25/07/2017

POS. CODE
1 71950370CF SCREW 2 82716091A PLATE 3 24211142AH GENERATOR COVER 4 77942002A SCREW 5 77941992A SCREW 6 24735581AH COVER, SENSOR 7 88610951A O-RING 32.99X2.62 8 77750494C SCREW
3 13/03/2017 1 13/03/2017 1 13/03/2017 1 19/04/2017 11 19/04/2017 1 13/03/2017 1 13/03/2017 2 13/03/2017

POS. CODE DESCRIPTION
1 25210191AH OIL PAN 2 44440312B FILTER, OIL 3 88650761A O-RING 4 247P5861A COVER, OIL ELEMENT 5 77253314CF SCREW 6 89310153A OIL DRAIN PLUG WITH MAGNET 7 85250541A WASHER 8 77942002A SCREW 9 77941992A SCREW 10 54911412A PIPE 11 77116648B SCREW M6X14 12 82718471AA PLATE 13 88643141A O-RING 14 88643121A O-RING
QTY START DATE END DATE VALIDITY NOTES
1 19/04/2017 1 13/03/2017 2 13/03/2017 1 13/03/2017 3 13/03/2017 1 13/03/2017 1 30/10/2017 3 19/04/2017 12 19/04/2017 1 30/10/2017 1 30/10/2017 1 30/10/2017 2 2

POS. CODE
1 11210961AA HALF-BEARING RED 11210961AB HALF-BEARING BLUE 11210961AC HALF-BEARING YELLOW 11210961AD HALF-BEARING BLACK 11210961AE HALF-BEARING GREEN 11210961AF PURPLE BEARING SHELLS 11210961AG PURPLE BEARING SHELLS 2 2 14622415BA CRANKSHAFT (Class 1) 14622415BB CRANKSHAFT (Class 2) 14622415BC CRANKSHAFT (Class 3) 14622415BD CRANKSHAFT (Class 4) 3 77911092A SCREW, SPECIAL 4 15621142AA CONNECTING ROD (Class 1) 15621142AB CONNECTING ROD (Class 2) 15621142AC CONNECTING ROD (Class 3) 15621142AD CONNECTING ROD (Class 4) 5 7791A571A SCREW, SPECIAL 6 50410271B PHONIC WHEEL 7 74811021B NUT, FLANGE 8 85214071B WASHER
8 30/11/2016 8 30/11/2016 8 30/11/2016 8 30/11/2016 8 30/11/2016 8 15/04/2019 8 1 15/12/2018 1 15/12/2018 1 15/12/2018 1 15/12/2018 1 13/03/2017 4 15/12/2018 4 15/12/2018 4 15/12/2018 4 15/12/2018 8 21/10/2016 1 19/04/2017 1 19/04/2017 1 19/04/2017

POS. CODE
1 12120772A PISTON RING SET 2 12222339B PISTON ASSY 12222339BC PISTON ASSY (Class C) 3 12113711A PISTON PIN 4 12113721A RING
1 18/05/2017 4 17/11/2017 4 03/05/2018 4 16/11/2017 8 16/11/2017

POS. CODE DESCRIPTION
1 44740112A COMPLETE FIXED TENSIONER ROLLER 2 44740122A COMPLETE MOVABLE TENSIONER ROLLER 3 45140021C COMPLETE TENSIONER ROLLER 4 73840051A CHAIN (REAR) 5 73840061A CHAIN Front 6 82115622A PIN 7 88642081A O-RING
QTY START DATE END DATE VALIDITY NOTES
2 19/04/2017 2 19/04/2017 2 19/04/2017 1 19/04/2017 1 19/04/2017 4 10/04/2017 8 10/04/2017

POS. CODE
1 88642651A O-RING 2 88640541A O-RING 3 85214421A WASHER 4 77253364CF SCREW 5 77253304CF SCREW 6 77253290ZF SCREW 7 67641141A CHAIN 8 44910741A REAR SPROCKET T37 9 89420231B STRAINER, OIL 10 24920505A OIL PUMP
1 19/04/2017 1 19/04/2017 1 30/10/2017 3 19/04/2017 2 19/04/2017 1 19/04/2017 1 19/04/2017 1 19/04/2017 1 19/04/2017 1 28/11/2017

POS. CODE DESCRIPTION
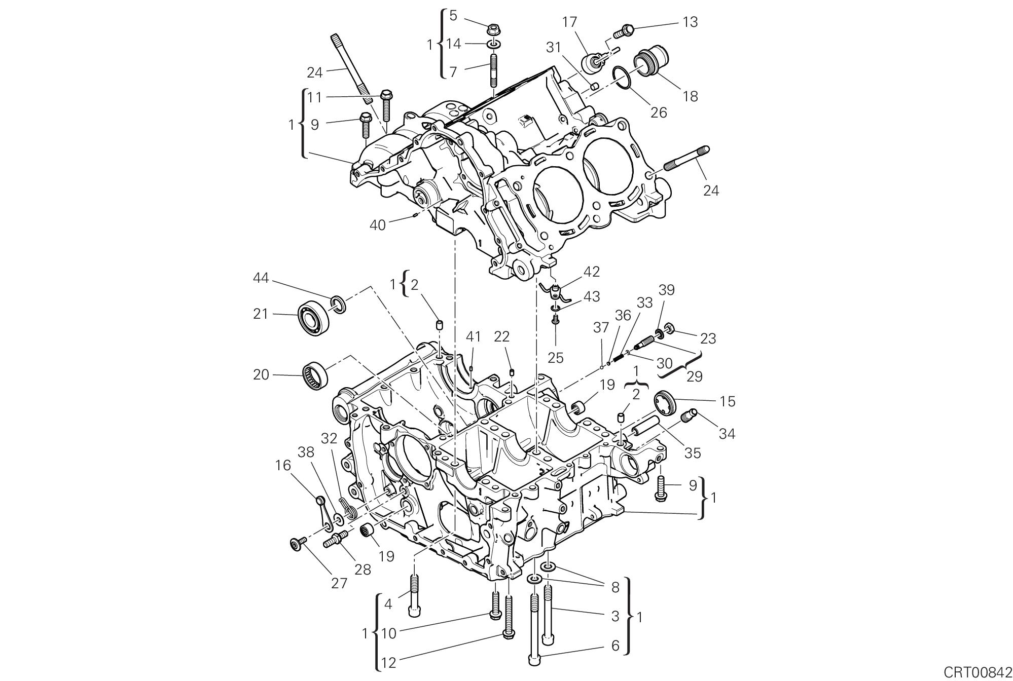
1 22513346C COMPLETE HALF-CRANKCASES PAIR 2 71112191A PIN DOWEL 3 7791A651A SCREW 4 7791A631A SCREW 5 74840481B NUT 6 7791A661A SCREW 7 76611231A STUD BOLT 8 85651691B WASHER 9 77251344C SCREW 10 77251350C SCREW 11 77251364C SCREW 12 77251404C SCREW 13 77251324CF SCREW 14 85212771A WASHER 15 25440013A WINDOW, OIL LEVEL CHECK 16 45520172A GEAR STOPPER LEVER ASSEMBLY 17 55243181A DETECTOR 18 66810581B FILLER 19 70140111B BEARING, NEEDLE 20 70241801A NEEDLE BUSH 21 70241901C BEARING, NEEDLE 22 71115051E BUSH 23 74710151B NUT 24 76611191A STUD BOLT, HEAD CYLINDER 25 77510311B SCREW TBEI M5X10 26 88642791A O-RING 27 77916241A SCREW, SPECIAL 28 7791A381A SCREW, SPECIAL 29 77927171B SCREW 30 88641961A O-RING 31 78010871B PLUG 32 79915101C SPRING 33 79940121A SPRING 34 81413421B UNION RETURN 35 82010141A STARTER REDUCTION SHAFT
QTY START DATE END DATE VALIDITY NOTES
1 11/04/2018 3 12/09/2017 2 20/12/2018 4 20/12/2018 1 12/09/2017 2 20/12/2018 1 12/09/2017 4 20/12/2018 6 12/09/2017 4 12/09/2017 1 12/09/2017 1 12/09/2017 2 12/09/2017 1 12/09/2017 1 12/09/2017 1 19/04/2017 2 19/04/2017 1 19/04/2017 2 19/04/2017 1 19/04/2017 1 11/04/2018 1 12/09/2017 1 19/04/2017 12 12/09/2017 2 12/09/2017 1 12/09/2017 1 12/09/2017 1 12/09/2017 1 19/04/2017 1 10/04/2017 1 19/04/2017 1 19/04/2017 1 19/04/2017 1 19/04/2017 1 13/09/2017

POS. CODE
36 83110151A PLATE 37 84740061A BALL 38 85212661A WASHER 39 85640141A WASHER 40 86040071A PIN 41 86050341A PIN 42 87512492B JET 43 88650751A O-RING 44 93040931A SEAL, OIL 17X25X4
1 13/09/2017 1 13/09/2017 1 13/09/2017 1 13/09/2017 2 13/09/2017 1 13/09/2017 2 13/09/2017 2 13/09/2017 1 13/09/2017

POS. CODE DESCRIPTION
1 11210942AA HALF-BEARING RED UPPER 11210942AB HALF-BEARING BLUE UPPER 11210942AC HALF-BEARING YELLOW UPPER 11210942AD HALF-BEARING BLACK UPPER 11210942AE HALF-BEARING GREEN UPPER 2 11210952AA HALF-BEARING RED LOWER 11210952AB HALF-BEARING BLUE LOWER 11210952AC HALF-BEARING YELLOW LOWER 11210952AD HALF-BEARING BLACK LOWER 11210952AE HALF-BEARING GREEN LOWER 3 42710241A OIL NET FILTER 4 55243941A GEARBOX POSITION SENSOR 5 88650831A O-RING 6 71113171A LOCATING DOWEL 7 735034405 SNAP RING 8 77156209E SCREW 9 77240393C SCREW TBEIF M6X10 10.9 10 85244491A WASHER 11 78010511C PLUG 12 78611421D GASKET, CYLINDER HEAD Front 13 78611431D GASKET, CYLINDER HEAD (REAR) 14 93041591A SEAL RING 15 93042221A SEAL RING 16 85212661A WASHER 17 71116941A BUSH 18 77251344C SCREW 19 77253354C SCREW 20 78010871B PLUG
QTY START DATE END DATE VALIDITY NOTES
3 30/11/2016 3 30/11/2016 3 30/11/2016 3 30/11/2016 3 30/11/2016 3 30/11/2016 3 30/11/2016 3 30/11/2016 3 30/11/2016 3 30/11/2016 2 19/04/2017 1 19/04/2017 1 25/05/2017 10 19/04/2017 1 19/04/2017 2 19/04/2017 2 19/04/2017 2 03/05/2018 1 19/04/2017 1 16/10/2017 1 16/10/2017 1 19/04/2017 1 19/04/2017 2 19/04/2017 4 19/04/2017 3 19/04/2017 4 19/04/2017 1 03/05/2018

POS. CODE
1 17410851C PUMP GEAR 2 24920512F COMPLETE WATER PUMP 3 85214421A WASHER 4 77941992A SCREW 5 7791B121A SCREW, SPECIAL 6 88441031A SPRING RING 7 25110101A FAN
1 30/10/2017 1 25/02/2019 1 30/10/2017 6 19/04/2017 1 30/10/2017 1 30/10/2017 1 30/10/2017

POS. CODE DESCRIPTION
1 16015522B FLANGE STARTING CLUTCH 2 70140471A CLUTCH, ONE WAY 3 74811021B NUT, FLANGE 4 77253290ZF SCREW 5 85214071B WASHER 6 17310411A DRIVEN GEAR 7 17610281A IDLE GEAR 8 27040193A STARTING MOTOR 9 70250801A NEEDLE CAGE 10 77253334CF SCREW 11 85212651A WASHER 12 74142441A CLAMP WHITE 13 71316102A SPACER 14 26420572C GENERATOR 15 4601F472A THERMOREFLECTING PROTECTION 16 88643151A O RING 24,4x3,1
QTY START DATE END DATE VALIDITY NOTES
1 19/04/2017 1 19/04/2017 1 19/04/2017 6 19/04/2017 1 19/04/2017 1 19/04/2017 1 19/04/2017 1 30/10/2017 1 19/04/2017 2 19/04/2017 1 19/04/2017 2 15/12/2018 1 28/09/2018 1 29/03/2019 1 07/03/2018 1

POS. CODE
1 77917231A SCREW, SPECIAL 2 8271F271A PLATE 3 17112221A GEAR T39 4 14815572A FRONT INTAKE CAMSHAFT 5 77253384C SCREW 6 77253280Z SCREW 7 17112211A IDLE GEAR 8 14815582A FRONT EXHAUST CAMSHAFT 9 85250231A GASKET 10 81413341A UNION 11 85611621A PLATE 12 76640381A STUD BOLT 13 71113741A BUSH 14 78811622B GASKET 15 74811061C NUT, FLANGE 16 85651691B WASHER 17 88650741A O-RING 18 8291G311A GUIDE SPARK PLUG 19 78811612A GASKET 20 77253300ZF SCREW 21 24715882AH COVER FRONT HEAD 22 76412121A VIBRATION DAMPER PAD 23 85611551A WASHER 24 7791A751B SCREW, SPECIAL 25 38010211D IGNITION COIL ASSY 26 85212641A WASHER 6.4X12.5X1.6 27 77150673B SCREW 28 82718441A PLATE 29 81140021A REED VALVE ASSY 30 24715791A COVER 31 77250744BA SCREW
1 19/04/2017 1 06/09/2017 2 19/10/2017 1 06/09/2017 2 19/04/2017 3 19/04/2017 1 19/04/2017 1 06/09/2017 4 06/09/2017 4 06/09/2017 2 19/04/2017 6 06/09/2017 2 19/04/2017 1 19/04/2017 6 03/05/2018 6 19/04/2017 4 19/04/2017 2 19/04/2017 2 19/04/2017 3 19/04/2017 1 07/09/2017 4 19/04/2017 4 25/05/2017 4 20/11/2017 2 22/09/2017 2 19/04/2017 2 19/04/2017 2 19/04/2017 1 19/04/2017 1 07/09/2017 2 19/04/2017

POS. CODE
1 77917231A SCREW, SPECIAL 2 8271F271A PLATE 3 14815562A REAR EXHAUST CAMSHAFT 4 14815552A REAR INTAKE CAMSHAFT 5 77253384C SCREW 6 77253280Z SCREW 7 17112211A IDLE GEAR 8 17112221A GEAR T39 9 85250231A GASKET 10 81413341A UNION 11 85611621A PLATE 12 76640191A STUD BOLT M6X16 13 71113741A BUSH 14 78811602B GASKET 15 74811061C NUT, FLANGE 16 85651691B WASHER 17 88650741A O-RING 18 8291G311A GUIDE SPARK PLUG 19 78811612A GASKET 20 77253300ZF SCREW 21 24715872AH COVER REAR HEAD 22 76412121A VIBRATION DAMPER PAD 23 85611551A WASHER 24 7791A751B SCREW, SPECIAL 25 38010211D IGNITION COIL ASSY 26 85212641A WASHER 6.4X12.5X1.6 27 77150673B SCREW 28 82718441A PLATE 29 81140021A REED VALVE ASSY 30 24715791A COVER 31 77250744BA SCREW
1 19/04/2017 1 06/09/2017 1 06/09/2017 1 06/09/2017 2 19/04/2017 3 19/04/2017 1 19/04/2017 2 19/10/2017 4 06/09/2017 4 06/09/2017 2 19/04/2017 6 06/09/2017 2 19/04/2017 1 19/04/2017 6 19/04/2017 6 19/04/2017 4 19/04/2017 2 19/04/2017 2 19/04/2017 3 19/04/2017 1 07/09/2017 4 19/04/2017 4 25/05/2017 4 20/11/2017 2 22/09/2017 2 19/04/2017 2 19/04/2017 2 19/04/2017 1 19/04/2017 1 07/09/2017 2 19/04/2017

POS. CODE DESCRIPTION
1 30125191BR FRONT HEAD 2 303A0741A VALVE GUIDE 3 304A1091A SEAT, INTAKE VALVE 4 304A1101A SEAT, EXHAUST VALVE 5 77253350Z SCREW 6 86050061A PIN M5X10 7 21111191A EXHAUST VALVE 8 21011193A INTAKE VALVE 9 77913541A THREADED PLUG M15X1 10 85211201A ALUMINIUM GASKET 11 77913611A THREADED PLUG 12 86010151A PIN 13 78011262A PLUG 14 77150624B SCREW 15 85240261A WASHER 16 86010061A PIN 17 78050011B THREADED PLUG 18 85250241A WASHER 10X14X1 19 82115561A SHAFT, OPENING ROCKER 20 20810461A OPEN. ROCKER ARM 21 7131C231A SPACER 22 79916091C INTAKE VALVE RETURN SPRING LH 23 82115571A CLOSE ROCKER ARM AXLE 24 20910791A CLOSING ROCKER ARM LEFT 25 20910781A CLOSING ROCKER ARM RIGHT 26 79916101C INTAKE VALVE RETURN SPRING RH 27 7131C211A SPACER 28 82115581A CLOSE ROCKER ARM AXLE 29 7131C241A SPACER 30 79916121B EXHAUST VALVE RETURN SPRING RH 31 79916111B EXHAUST VALVE RETURN SPRING LH 32 7131C221A SPACER 33 84012011AA ADJUSTER, OPENING ROCKER ARM 1.85 MM 84012011AB ADJUSTER, OPENING ROCKER ARM 1.90 MM 84012011AC ADJUSTER, OPENING ROCKER ARM 1.95 MM
QTY START DATE END DATE VALIDITY NOTES
1 27/09/2017 8 19/09/2017 4 19/09/2017 4 19/09/2017 12 19/09/2017 6 19/09/2017 4 13/09/2017 4 06/09/2017 5 19/04/2017 5 19/04/2017 4 19/04/2017 1 20/09/2017 4 19/09/2017 1 19/04/2017 1 13/09/2017 1 20/09/2017 1 15/12/2018 1 15/12/2018 4 13/09/2017 8 06/09/2017 2 06/09/2017 2 13/09/2017 4 13/09/2017 4 06/09/2017 4 06/09/2017 2 13/09/2017 2 06/09/2017 2 13/09/2017 2 13/09/2017 2 13/09/2017 2 13/09/2017 2 06/09/2017 8 17/05/2017 8 17/05/2017 8 17/05/2017

POS. CODE DESCRIPTION
84012011AD ADJUSTER, OPENING ROCKER ARM 2.00 MM 84012011AE ADJUSTER, OPENING ROCKER ARM 2.05 MM 84012011AF ADJUSTER, OPENING ROCKER ARM 2.10 MM 84012011AG ADJUSTER, OPENING ROCKER ARM 2.15 MM 84012011AH ADJUSTER, OPENING ROCKER ARM 2.20 MM 84012011AI ADJUSTER, OPENING ROCKER ARM 2.25 MM 84012011AJ ADJUSTER, OPENING ROCKER ARM 2.30 MM 84012011AK ADJUSTER, OPENING ROCKER ARM 2.35 MM 84012011AL ADJUSTER, OPENING ROCKER ARM 2.40 MM 84012011AM ADJUSTER, OPENING ROCKER ARM 2.45 MM 84012011AN ADJUSTER, OPENING ROCKER ARM 2.50 MM 84012011AO ADJUSTER, OPENING ROCKER ARM 2.55 MM 84012011AP ADJUSTER, OPENING ROCKER ARM 2.60 MM 84012011AQ ADJUSTER, OPENING ROCKER ARM 2.65 MM 34 84510111A VALVE COLLET 35 84012001BD ADJUSTER, CLOSING ROCKER ARM 2.60 MM 84012001BE ADJUSTER, CLOSING ROCKER ARM 2.65 MM 84012001BF ADJUSTER, CLOSING ROCKER ARM 2.70 MM 84012001BG ADJUSTER, CLOSING ROCKER ARM 2.75 MM 84012001BH ADJUSTER, CLOSING ROCKER ARM 2.80 MM 84012001BI ADJUSTER, CLOSING ROCKER ARM 2.85 MM 84012001BJ ADJUSTER, CLOSING ROCKER ARM 2.90 MM 84012001BK ADJUSTER, CLOSING ROCKER ARM 2.95 MM 84012001BL ADJUSTER, CLOSING ROCKER ARM 3.00 MM 84012001BM ADJUSTER, CLOSING ROCKER ARM 3.05 MM 84012001BN ADJUSTER, CLOSING ROCKER ARM 3.10 MM 84012001BO ADJUSTER, CLOSING ROCKER ARM 3.15 MM 84012001BP ADJUSTER, CLOSING ROCKER ARM 3.20 MM 84012001BQ ADJUSTER, CLOSING ROCKER ARM 3.25 MM 84012001BR ADJUSTER, CLOSING ROCKER ARM 3.30 MM 84012001BS ADJUSTER, CLOSING ROCKER ARM 3.35 MM 84012001BT ADJUSTER, CLOSING ROCKER ARM 3.40 MM 84012001BU ADJUSTER, CLOSING ROCKER ARM 3.45 MM 84012001BV ADJUSTER, CLOSING ROCKER ARM 3.50 MM 84012001BW ADJUSTER, CLOSING ROCKER ARM 3.55 MM
QTY START DATE END DATE VALIDITY NOTES
8 17/05/2017 8 17/05/2017 8 17/05/2017 8 17/05/2017 8 17/05/2017 8 17/05/2017 8 17/05/2017 8 17/05/2017 8 17/05/2017 8 17/05/2017 8 17/05/2017 8 17/05/2017 8 17/05/2017 8 17/05/2017 16 13/09/2017 8 17/05/2017 8 17/05/2017 8 17/05/2017 8 17/05/2017 8 17/05/2017 8 17/05/2017 8 17/05/2017 8 17/05/2017 8 17/05/2017 8 17/05/2017 8 17/05/2017 8 17/05/2017 8 17/05/2017 8 17/05/2017 8 17/05/2017 8 17/05/2017 8 17/05/2017 8 17/05/2017 8 17/05/2017 8 17/05/2017

POS. CODE DESCRIPTION
84012001BZ ADJUSTER, CLOSING ROCKER ARM 3.60 MM 36 76440091B SEAL VALVE STEM 37 66810591A FILLER 38 85241831A WASHER 39 88642721A O-RING 40 78010511C PLUG 41 85250261B GASKET
QTY START DATE END DATE VALIDITY NOTES
8 17/05/2017 8 19/04/2017 1 20/09/2017 2 19/04/2017 1 10/09/2018 2 10/09/2018 2 10/09/2018

POS. CODE DESCRIPTION
1 30125181BR REAR HEAD 2 303A0741A VALVE GUIDE 3 304A1091A SEAT, INTAKE VALVE 4 304A1101A SEAT, EXHAUST VALVE 5 77253350Z SCREW 6 86050061A PIN M5X10 7 21111191A EXHAUST VALVE 8 21011193A INTAKE VALVE 9 77913541A THREADED PLUG M15X1 10 85211201A ALUMINIUM GASKET 11 77913611A THREADED PLUG 12 86010151A PIN 13 78011262A PLUG 14 77150624B SCREW 15 85240261A WASHER 16 86010061A PIN 17 78050011B THREADED PLUG 18 85250241A WASHER 10X14X1 19 82115561A SHAFT, OPENING ROCKER 20 20810461A OPEN. ROCKER ARM 21 7131C231A SPACER 22 79916091C INTAKE VALVE RETURN SPRING LH 23 82115571A CLOSE ROCKER ARM AXLE 24 20910791A CLOSING ROCKER ARM LEFT 25 20910781A CLOSING ROCKER ARM RIGHT 26 79916101C INTAKE VALVE RETURN SPRING RH 27 7131C211A SPACER 28 82115581A CLOSE ROCKER ARM AXLE 29 7131C241A SPACER 30 79916121B EXHAUST VALVE RETURN SPRING RH 31 79916111B EXHAUST VALVE RETURN SPRING LH 32 7131C221A SPACER 33 84012011AA ADJUSTER, OPENING ROCKER ARM 1.85 MM 84012011AB ADJUSTER, OPENING ROCKER ARM 1.90 MM 84012011AC ADJUSTER, OPENING ROCKER ARM 1.95 MM
QTY START DATE END DATE VALIDITY NOTES
1 27/09/2017 8 19/09/2017 4 19/09/2017 4 19/09/2017 12 19/09/2017 6 19/09/2017 4 13/09/2017 4 06/09/2017 5 19/04/2017 5 19/04/2017 4 19/04/2017 1 20/09/2017 4 19/09/2017 1 19/04/2017 1 13/09/2017 1 20/09/2017 1 13/09/2017 1 13/09/2017 4 13/09/2017 8 06/09/2017 2 06/09/2017 2 13/09/2017 4 13/09/2017 4 06/09/2017 4 06/09/2017 2 13/09/2017 2 06/09/2017 2 13/09/2017 2 13/09/2017 2 13/09/2017 2 13/09/2017 2 06/09/2017 8 17/05/2017 8 17/05/2017 8 17/05/2017

POS. CODE DESCRIPTION
84012011AD ADJUSTER, OPENING ROCKER ARM 2.00 MM 84012011AE ADJUSTER, OPENING ROCKER ARM 2.05 MM 84012011AF ADJUSTER, OPENING ROCKER ARM 2.10 MM 84012011AG ADJUSTER, OPENING ROCKER ARM 2.15 MM 84012011AH ADJUSTER, OPENING ROCKER ARM 2.20 MM 84012011AI ADJUSTER, OPENING ROCKER ARM 2.25 MM 84012011AJ ADJUSTER, OPENING ROCKER ARM 2.30 MM 84012011AK ADJUSTER, OPENING ROCKER ARM 2.35 MM 84012011AL ADJUSTER, OPENING ROCKER ARM 2.40 MM 84012011AM ADJUSTER, OPENING ROCKER ARM 2.45 MM 84012011AN ADJUSTER, OPENING ROCKER ARM 2.50 MM 84012011AO ADJUSTER, OPENING ROCKER ARM 2.55 MM 84012011AP ADJUSTER, OPENING ROCKER ARM 2.60 MM 84012011AQ ADJUSTER, OPENING ROCKER ARM 2.65 MM 34 84510111A VALVE COLLET 35 84012001BD ADJUSTER, CLOSING ROCKER ARM 2.60 MM 84012001BE ADJUSTER, CLOSING ROCKER ARM 2.65 MM 84012001BF ADJUSTER, CLOSING ROCKER ARM 2.70 MM 84012001BG ADJUSTER, CLOSING ROCKER ARM 2.75 MM 84012001BH ADJUSTER, CLOSING ROCKER ARM 2.80 MM 84012001BI ADJUSTER, CLOSING ROCKER ARM 2.85 MM 84012001BJ ADJUSTER, CLOSING ROCKER ARM 2.90 MM 84012001BK ADJUSTER, CLOSING ROCKER ARM 2.95 MM 84012001BL ADJUSTER, CLOSING ROCKER ARM 3.00 MM 84012001BM ADJUSTER, CLOSING ROCKER ARM 3.05 MM 84012001BN ADJUSTER, CLOSING ROCKER ARM 3.10 MM 84012001BO ADJUSTER, CLOSING ROCKER ARM 3.15 MM 84012001BP ADJUSTER, CLOSING ROCKER ARM 3.20 MM 84012001BQ ADJUSTER, CLOSING ROCKER ARM 3.25 MM 84012001BR ADJUSTER, CLOSING ROCKER ARM 3.30 MM 84012001BS ADJUSTER, CLOSING ROCKER ARM 3.35 MM 84012001BT ADJUSTER, CLOSING ROCKER ARM 3.40 MM 84012001BU ADJUSTER, CLOSING ROCKER ARM 3.45 MM 84012001BV ADJUSTER, CLOSING ROCKER ARM 3.50 MM 84012001BW ADJUSTER, CLOSING ROCKER ARM 3.55 MM
QTY START DATE END DATE VALIDITY NOTES
8 17/05/2017 8 17/05/2017 8 17/05/2017 8 17/05/2017 8 17/05/2017 8 17/05/2017 8 17/05/2017 8 17/05/2017 8 17/05/2017 8 17/05/2017 8 17/05/2017 8 17/05/2017 8 17/05/2017 8 17/05/2017 16 13/09/2017 8 17/05/2017 8 17/05/2017 8 17/05/2017 8 17/05/2017 8 17/05/2017 8 17/05/2017 8 17/05/2017 8 17/05/2017 8 17/05/2017 8 17/05/2017 8 17/05/2017 8 17/05/2017 8 17/05/2017 8 17/05/2017 8 17/05/2017 8 17/05/2017 8 17/05/2017 8 17/05/2017 8 17/05/2017 8 17/05/2017

POS. CODE DESCRIPTION
84012001BZ ADJUSTER, CLOSING ROCKER ARM 3.60 MM 36 76440091B SEAL VALVE STEM 37 66810591A FILLER 38 85241831A WASHER 39 88642721A O-RING 40 78010511C PLUG 41 85250261B GASKET
QTY START DATE END DATE VALIDITY NOTES
8 17/05/2017 8 19/04/2017 1 20/09/2017 2 19/04/2017 1 10/09/2018 2 27/02/2019 2 10/09/2018

POS. CODE
1 301P0012D REAR HEAD (Unit) 2 301P0012C FRONT HEAD (Unit)
1 15/05/2019 1 15/05/2019

POS. CODE DESCRIPTION
1 979000252 DDS 2 (Ducati Diagnosis System 2.0) 2 979000253 BELT TENSIONING KIT 3 979000254 MAIN CABLE 4 979000255 MAIN CABLE (CAN) 5 979000256 MAIN CABLE DDS 6 28620441B CHIAVE "PC HASP DDS2.0" 7 979000259 WIRING MAP-KEY
QTY START DATE END DATE VALIDITY NOTES
1 1 1 1 1 1 1

POS. CODE DESCRIPTION
1 887133003 ENGINE MOUNT 2 887133004 HEAD MOUNTING BASE 3 887133614 VALVE LIFT GAUGE (GAUGES NOT INCLUDED) 4 887133633 SPARK PLUG WRENCH 5 887135387 TOOL, PISTON MOUNTING 6 887135840 GEARBOX FASTENING TOOL 7 887138851 PRIMARY DRIVE GEAR TIGHTENING TOOL 8 887138858 SEAL RING DRIVING TOOL 9 887138853 WRENCH FLYWHEEL NUT 10 887138854 IGNITION FLYWHEEL EXTRACTOR 11 887138855 FLUID RECOVERY RESERVOIR 12 887138856 ENGINE ROTATION TOOL 13 887138857 PULLER TO REMOVE ALTERNATOR COVER 14 887133795 LEVER 15 887133853 REACTION TOOL FOR FLANGE (Gearbox drum) 16 889450090 VALVE COLLET DISASSEMBLY/ASSEMBLY KIT
QTY START DATE END DATE VALIDITY NOTES
1 1 1 1 1 1 1 1 1 1 1 1 1 1 1 1

POS. CODE DESCRIPTION
1 889450092 CLUTCH HUB NUT TIGHTENING TOOL 2 887138860 STOPPER FOR INTRODUCTION OFTHE BEARIING 3 887138861 DEGREE WHEEL HOLDER TOOL 4 887138862 STOPPER FOR INTRODUCTION OFTHE BEARIING 5 887138863 ENGINE MOUNT 6 887138864 SEAL RING DRIVING TOOL 7 887135389 HOLDER 8 887135396 TOOL TO HOLD CRANKSHAFT IN TDC POSITION 9 887135397 PLATE 10 887135962 ASSEMBLING BEARINGS TOOL 11 889450093 GEARBOX SHAFT OIL SEAL FITTING TOOL 12 889450094 OIL SEAL ASSEMBLY TOOL, Ø 74.5 MM 13 889450095 FIRST PRIMARY BEARING ASSEMBLY TOOL 14 889450096 PRIMARY GEAR OIL SEAL ASSEMBLY TOOL 15 889450097 SECOND PRIMARY BEARING ASSEMBLY TOOL 16 889450098 CLUTCH SUMP CENTRING TOOL 17 889450099 CLUTCH HOUSING ASSEMBLY TOOL 18 889450100 TOOL ROLLER CAGE FITTING
QTY START DATE END DATE VALIDITY NOTES
1 1 1 1 1 1 1 1 1 1 1 1 1 1 1 1 1 1

POS. CODE DESCRIPTION
1 887132855 TOOL BAR GUIDE (OHLINS) 2 887134337 BUSH FOR INSTALLING/REMOVING THE FORK PLUG (OHLINS) 3 887132951 TOOL BALANCING REAR WHEEL 4 887131074 TOOL DISASSEMBLING SWINGARM PIVOT 5 887133211 SPANNER FOR ADJUSTING THE ECCENTRIC HUB 6 887131010 CONNECTOR FOR EXHAUST GAS TAKE-UP POINT 7 887131058 SPANNER TO ASSEMBLE THE STEERING SLEEVE 8 887134338 PRELOAD ADJUSTEMENT TOOL (OHLINS) 9 887133529 BAR BUSHING SUPPORT (OHLINS) 10 887132857 TOOL REMOVING SLIDING BUSHINGS (OHLINS) 11 887132858 TOOL INSTALLING SLIDING BUSHINGS (OHLINS) 12 887131062 TOOL ASSEMBLING STEERING TUBE BEARING 13 889450082 PROTECTOR, FUEL TANK 14 889450086 TAIL GUARD PROTECTION 15 889450081 FAKE ENGINE FRAME 16 887131059 ASSEMBLING BEARINGS TOOL 17 887134302 ATTREZZO SERRAGGIO STELO FORCELLE
QTY START DATE END DATE VALIDITY NOTES
1 1 1 1 1 1 1 1 1 1 1 1 1 1 1 1 1

POS. CODE DESCRIPTION
1 49041071A FRONT TYRE DIABLO™ SUPERCORSA SP V3 (120-70 ZR17)
2 49141581A REAR TYRE DIABLO™ SUPERCORSA SP V3 (200-60 ZR17)
3 490P0002A FRONT TYRE DIABLO™ SUPERBIKE (120-70 R17 SC1) 4 490P0003A FRONT TYRE DIABLO™ SUPERBIKE (120-70 R17 SC2) 5 490P0004A FRONT TYRE DIABLO™ SUPERBIKE (120-70 R17 SC3) 6 491P0015A REAR TYRE DIABLO™ SUPERBIKE (200-60 R17 SC0) 7 491P0016A REAR TYRE DIABLO™ SUPERBIKE (200-60 R17 SC1) 8 491P0017A REAR TYRE DIABLO™ SUPERBIKE (200-60 R17 SC2) 9 491P0018A REAR TYRE DIABLO™ SUPERBIKE (200-60 R17 SC3) 10 490P0019A FRONT TYRE DIABLO™ WET (120-70 R17) 11 490P0022A FRONT TYRE DIABLO™ RAIN (120-70 R17) 12 490P0029A FRONT TYRE DIABLO™ SUPERCORSA SC V2 (120-70 R17 SC1) 13 490P0030A FRONT TYRE DIABLO™ SUPERCORSA SC V2 (120-70 R17 SC2) 14 491P0041A REAR TYRE DIABLO™ SUPERCORSA SC V2 (200-55 R17 SC0) 15 491P0042A REAR TYRE DIABLO™ SUPERCORSA SC V2 (200-55 R17 SC1) 16 491P0043A REAR TYRE DIABLO™ SUPERCORSA SC V2 (200-55 R17 SC2) 17 490P0044A FRONT TYRE DIABLO™ SUPERCORSA SC (120-70 R17 SC2) 18 490P0248A FRONT TYRE DIABLO™ SUPERCORSA SC (120-70 R17 SC1) 19 49041081A FRONT TYRE DIABLO™ ROSSO CORSA II (120-70 ZR17) 20 491P0348A REAR TYRE DIABLO™ ROSSO CORSA II (200-60 ZR17) 21 490P0297A FRONT TYRE DIABLO™ SUPERCORSA SC V3 (120-70 ZR17) 22 490P0298A FRONT TYRE DIABLO™ SUPERCORSA SC V3 (120-70 ZR17 TL) 23 491P0339A REAR TYRE DIABLO™ SUPERCORSA SC V3 (200-55 ZR17 78V) 24 491P0340A REAR TYRE DIABLO™ SUPERCORSA SC V3 (200-55 ZR17 78W) 25 491P0341A REAR TYRE DIABLO™ SUPERCORSA SC V3 (200-55 ZR17 78W) 26 491P0342A REAR TYRE DIABLO™ SUPERCORSA SC V3 (200-60 ZR17)
QTY START DATE END DATE VALIDITY NOTES
1
1
1 1 1 1 1 1 1 1 1 1 1 1 1 1 1 1 1 1 1 1 1 1 1 1 (*)=Pneumatico di primo equipaggiamento (*)=Pneumatico di primo equipaggiamento (#)=For competition use only (#)=For competition use only (#)=For competition use only (#)=For competition use only (#)=For competition use only (#)=For competition use only (#)=For competition use only (#)=For competition use only (#)=For competition use only
(#)=For competition use only (#)=For competition use only (#)=For competition use only
(#)=For competition use only (#)=For competition use only (#)=For competition use only

POS. CODE DESCRIPTION
1 49041071A FRONT TYRE DIABLO™ SUPERCORSA SP V3 (120-70 ZR17)
2 49141581A REAR TYRE DIABLO™ SUPERCORSA SP V3 (200-60 ZR17)
QTY START DATE END DATE VALIDITY NOTES
1 01/09/2012
1 01/09/2012 (*)=Pneumatico di primo equipaggiamento (*)=Pneumatico di primo equipaggiamento

POS. CODE DESCRIPTION
1 490P0002A FRONT TYRE DIABLO™ SUPERBIKE (120-70 R17 SC1) 2 490P0003A FRONT TYRE DIABLO™ SUPERBIKE (120-70 R17 SC2) 3 490P0004A FRONT TYRE DIABLO™ SUPERBIKE (120-70 R17 SC3) 4 491P0015A REAR TYRE DIABLO™ SUPERBIKE (200-60 R17 SC0) 5 491P0016A REAR TYRE DIABLO™ SUPERBIKE (200-60 R17 SC1) 6 491P0017A REAR TYRE DIABLO™ SUPERBIKE (200-60 R17 SC2) 7 491P0018A REAR TYRE DIABLO™ SUPERBIKE (200-60 R17 SC3)
QTY START DATE END DATE VALIDITY NOTES
1 1 1 1 1 1 1 (#)=For competition use only (#)=For competition use only (#)=For competition use only (#)=For competition use only (#)=For competition use only (#)=For competition use only (#)=For competition use only

POS. CODE DESCRIPTION
1 490P0019A FRONT TYRE DIABLO™ WET (120-70 R17)
QTY START DATE END DATE VALIDITY NOTES
1 (#)=For competition use only

POS. CODE DESCRIPTION
1 490P0022A FRONT TYRE DIABLO™ RAIN (120-70 R17)
QTY START DATE END DATE VALIDITY NOTES
1 (#)=For competition use only

POS. CODE DESCRIPTION
1 490P0029A FRONT TYRE DIABLO™ SUPERCORSA SC V2 (120-70 R17 SC1) 2 490P0030A FRONT TYRE DIABLO™ SUPERCORSA SC V2 (120-70 R17 SC2) 3 491P0041A REAR TYRE DIABLO™ SUPERCORSA SC V2 (200-55 R17 SC0) 4 491P0042A REAR TYRE DIABLO™ SUPERCORSA SC V2 (200-55 R17 SC1) 5 491P0043A REAR TYRE DIABLO™ SUPERCORSA SC V2 (200-55 R17 SC2)
QTY START DATE END DATE VALIDITY NOTES
1 1 1 1 1 (#)=For competition use only (#)=For competition use only (#)=For competition use only

POS. CODE DESCRIPTION
1 490P0248A FRONT TYRE DIABLO™ SUPERCORSA SC (120-70 R17 SC1) 2 490P0044A FRONT TYRE DIABLO™ SUPERCORSA SC (120-70 R17 SC2)
QTY START DATE END DATE VALIDITY NOTES
1 1

POS. CODE DESCRIPTION
1 49041081A FRONT TYRE DIABLO™ ROSSO CORSA II (120-70 ZR17) 2 491P0348A REAR TYRE DIABLO™ ROSSO CORSA II (200-60 ZR17)
QTY START DATE END DATE VALIDITY NOTES
1 25/10/2013 1 28/05/2015

POS. CODE DESCRIPTION
1 490P0297A FRONT TYRE DIABLO™ SUPERCORSA SC V3 (120-70 ZR17) 2 490P0298A FRONT TYRE DIABLO™ SUPERCORSA SC V3 (120-70 ZR17 TL) 3 491P0339A REAR TYRE DIABLO™ SUPERCORSA SC V3 (200-55 ZR17 78V) 4 491P0340A REAR TYRE DIABLO™ SUPERCORSA SC V3 (200-55 ZR17 78W) 5 491P0341A REAR TYRE DIABLO™ SUPERCORSA SC V3 (200-55 ZR17 78W) 6 491P0342A REAR TYRE DIABLO™ SUPERCORSA SC V3 (200-60 ZR17)
QTY START DATE END DATE VALIDITY NOTES
1 1 1 1 1 1 (#)=For competition use only (#)=For competition use only (#)=For competition use only

POS. CODE
1 55621013AA SIDE STAND 2 77244661A SCREW 3 71611661AA SPACER 4 74840341B NUT M8 5 53940651A MAGNETE 6 11711252AA ROD 7 79925411AA COMPLETE SPRING 8 71012111AA SPINDLE, TAPER 9 82113731AA PIN 10 77354623B SCREW M4X10 11 53940601A SWITCH, STAND 12 83210742A PIN 13 74140381A CLAMP
1 25/10/2017 1 09/11/2017 2 09/11/2017 1 25/10/2017 1 25/10/2017 1 25/10/2017 1 25/10/2017 1 09/11/2017 1 25/10/2017 2 25/10/2017 1 25/10/2017 1 17/03/2018 2 09/11/2017

POS. CODE
1 44910801A SPROCKET, CHAIN T16 2 4601G582A CHAIN PINION COVER 3 67641601A CHAIN 113+1 4 76440561A RUBBER PAD 5 77154337C SCREW 6 77156683B SCREW 7 77156723B SCREW 8 85212801A THRUST WASHER 9 46016761A MUDFLAP 10 71615691AA SPACER 11 76411821A VIBRATION DAMPER PAD 12 77244213B SCREW 13 85640121A WASHER 14 67740033A CHAIN LINK 15 67621131A FINAL DRIVE KIT
1 29/10/2018 1 09/11/2017 1 09/11/2017 2 09/11/2017 1 09/11/2017 1 09/11/2017 1 09/11/2017 1 09/11/2017 1 12/11/2017 1 09/11/2017 1 09/11/2017 1 09/11/2017 2 09/11/2017 1 1

POS. CODE DESCRIPTION
1 34111731AA STEERING HEAD 2 342P1041AA STEERING HEAD BASE 3 36420131A STEERING DAMPER 4 4601F921B MUDFLAP 5 70241231A BEARING, STEERING NTN SF07A17P 6 70310931AA THREAD, STEERING HEAD TOP 7 93010041B SEAL RING 8 71319961CA SPACER 9 74750031A NUT 6MM 10 77156678B SCREW TCEIF M6X20 11 77156688B SCREW TCEIF M6X22X18 12 77157258B SCREW TCEIF M8X25 13 77211251B SCREW M5X9 14 77912981A SCREW, SPECIAL 15 77917391BA SCREW, SPECIAL 16 84820112AA BALL JOINT 17 88641061A O-RING 12.42X1.78 18 85250291A WASHER 6.4X18X1.6 19 87210722A PLUG
QTY START DATE END DATE VALIDITY NOTES
1 10/01/2019 1 09/11/2017 1 10/01/2019 1 21/10/2017 2 05/09/2017 1 09/11/2017 1 13/10/2017 2 09/11/2017 2 05/09/2017 1 09/11/2017 6 21/10/2017 3 09/11/2017 3 21/10/2017 2 05/09/2017 1 09/11/2017 1 09/11/2017 2 09/11/2017 1 09/11/2017 1 09/11/2017

POS. CODE DESCRIPTION
1 34420962A FORK LEG ASSY, RIGHT (OHLINS) 2 34520962A FORK LEG ASSY, LEFT (OHLINS) 3 77151250ZF SCREW 4 34921791A OVERHAUL KIT 5 34921801A SEAL KIT 6 34921321A CAPS KIT
QTY START DATE END DATE VALIDITY NOTES
1 21/10/2017 1 09/11/2017 4 1 1 2

POS. CODE
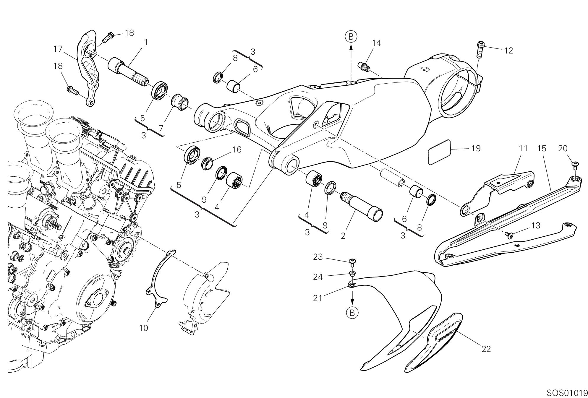
1 36911292AA SWINGARM PIVOT RH 2 36911302AA SWINGARM PIVOT LH 3 37022192CA REAR SWINGING ARM 4 70140171A BEARING, NEEDLE 5 70240081A BEARING 6 70241191A BUSH 7 7131C821AA INNER SPACER 8 93041271A SEAL RING 20X26X4 9 93050121A SEAL RING 10 44712181A CHAIN SLIDER 11 44711961A CHAIN GUARD 12 77157578B SCREW 13 77914401B SCREW TBEI M6X15 14 83210031E PIN 15 44711972A CHAIN SLIDER 16 71319452AA RIGHT SPACER 17 8291G841AA HOLDER 18 77157248B SCREW TCEIF M8X22 19 43314631A CHAIN ADJUSTMENT STICKER 20 77914391C SCREW 21 24716441AA COVER SWING ARM 22 97110631A SLIDER SWING ARM 23 77211261B SCREW, SPECIAL 24 97610891AA SPACER
1 09/11/2017 1 09/11/2017 1 27/11/2017 2 27/11/2017 2 27/11/2017 2 27/11/2017 1 27/11/2017 2 27/11/2017 2 27/11/2017 1 09/11/2017 1 09/11/2017 2 10/10/2017 6 09/11/2017 1 09/11/2017 1 10/10/2017 1 27/11/2017 1 09/11/2017 3 09/11/2017 1 12/12/2017 1 1 1 1 1 XST:CAL,CDN

POS. CODE
1 62441171A FRONT BRAKE PUMP 2 62641041AA LEVER, FRONT BRAKE RIZOMA 3 61240391A DUST COVER 4 85250241A WASHER 10X14X1 5 53940481A FRONT BRAKE LIGHT SWITCH 6 63140081A JOINT, HOSE 7 62640561A BOLT, LEVER 8 62640571A BRACKET, MASTER CYLINDER 9 77914151A BOLT, BRAKE HOSE 10 8291A691AA BRACKET 11 77350623B SCREW TCEIR M6X10 12 76414191A DAMPER 13 77910921B SCREW 14 89340241A TANK CAP 15 58540331A RESERVOIR, BRAKE FLUID 16 74140431A CLAMP 17 87711411A HOSE 18 75011921A NUT 19 63140281A DRAIN
1 03/10/2017 1 1 2 1 06/12/2017 1 1 1 1 1 1 03/10/2017 1 1 1 01/06/2017 1 2 1 1 1

POS. CODE DESCRIPTION
1 71313641A SPACER 2 61240052A DUST COVER 3 77913662AB SCREW, SPECIAL 4 85250241A WASHER 10X14X1 5 61240201A FRONT CALIPER DRAIN SCREW 6 77915111B SCREW 7 61041821A RIGHT FRONT BRAKE CALIPER 8 61341271A BRAKE PADS SET 9 61041831A LEFT FRONT BRAKE CALIPER 10 61240371A SPRING, PAD STOPPER 11 77913091AB SCREW, SPECIAL 12 61811131A HOSE, FRONT BRAKE CALIPER-CALIPER 13 8301G011A GUIDE, FRONT BRAKE HOSE 14 77244173B SCREW 15 8291G861A BRACKET, BRAKE HOSE 16 74941113B NUT 17 82718851AA RIGHT PLATE 18 52910261A REFLEX REFLECTOR AMBER 19 74810351B NUT 20 82718841AA LEFT PLATE
QTY START DATE END DATE VALIDITY NOTES
2 2 1 5 2 4 21/10/2017 1 03/10/2017 2 01/06/2017 1 03/10/2017 2 1 1 03/10/2017 1 31/10/2017 1 31/10/2017 1 09/11/2017 1 09/11/2017 1 05/03/2018 2 05/03/2018 2 05/03/2018 1 05/03/2018

POS. CODE DESCRIPTION
1 54240781A CONTROL UNIT ABS 2 76411671A RUBBER PAD 3 78510181A PROTECTION RUBBER 4 8291G812B BRACKET 5 4601F952A THERMOREFLECTING PROTECTION 6 77251023C SCREW TEF M6X22 10.9 7 71610031A SPACER 8 76410641B VIBRATION DAMPER PAD 9 77251018B SCREW TEF M6X20 10 77914272A SCREW 11 61811173A FRONT MASTER CYLINDER - CPU LINE 12 85250241A WASHER 10X14X1 13 77913662AB SCREW, SPECIAL 14 61811141A CPU - FRONT CALIPERS LINE 15 61911071A REAR MASTER CYLINDER - CPU LINE 16 61911002B CPU - REAR CALIPER LINE 17 74140331A CLAMP 18 77210423C SCREW TBEIF M6X16 19 75811382A HOSE GUIDE ABS 20 77214411BA SCREW, SPECIAL 21 4601F481A PROTECTION, HEAT 22 75810681A HOSE GUIDE ABS
QTY START DATE END DATE VALIDITY NOTES
1 07/09/2018 1 18/10/2017 2 18/10/2017 1 18/10/2017 1 13/11/2017 1 13/11/2017 2 09/11/2017 2 18/10/2017 1 18/10/2017 2 09/11/2017 1 8 03/10/2017 4 03/10/2017 1 03/10/2017 1 03/10/2017 1 28/02/2018 1 09/11/2017 1 09/11/2017 1 09/11/2017 2 09/11/2017 1 15/05/2018 4

POS. CODE DESCRIPTION
1 8291G851A BRACKET 2 77211091C SCREW 3 77156658B SCREW TCEIF M6X16 4 58540321A SUB TANK, OIL 5 89340241A TANK CAP 6 74140431A CLAMP 7 87710911A PIPE 8 77913662AB SCREW, SPECIAL 9 85250241A WASHER 10X14X1 10 62540311C REAR BRAKE PUMP 11 61140412A REAR BRAKE CALIPER 12 61240081A DUST PLUG 13 61240161A PAD PINS OVERHAUL KIT 14 61340381A REAR BRAKE PADS SET 15 63140161A FRONT CALIPER DRAIN SCREW 16 82510641AA PLATE 17 88641241A O-RING 89.5X3 18 85212171A WASHER 85.5X101X1 19 88440511A CIRCLIP 85X3 20 77157238B SCREW TCEIF M8X20
QTY START DATE END DATE VALIDITY NOTES
1 09/11/2017 3 09/11/2017 3 09/11/2017 1 03/10/2017 1 01/05/2011 2 03/10/2017 1 03/10/2017 2 03/10/2017 4 03/10/2017 1 03/10/2017 1 03/10/2017 1 23/09/2013 1 23/09/2013 1 23/09/2013 1 23/09/2013 1 09/11/2017 2 09/11/2017 2 09/11/2017 1 10/10/2017 2 09/11/2017

POS. CODE DESCRIPTION
1 71615691AA SPACER 2 76412501A RUBBER PAD 3 77156443B SCREW 4 56113504B NUMBER PLATE HOLDER UPPER 5 56113511A NUMBER PLATE HOLDER BOTTOM 6 52510611A LAMP, LICENSE PLATE 7 77550171A SCREW TBEI M4X8 8 77440203C SCREW 9 52910101A REFLEX REFLECTOR, REAR 10 77240418C SCREW 11 52910231A REFLEX REFLECTOR, REAR 12 85212511A WASHER 4.5X9X0.5 13 74950011B NUT, SPRING 14 85040521A CLIP 15 88640641A O-RING 2.5X6 16 56113621A NUMBER PLATE HOLDER 17 75840901A FAIRLEAD
QTY START DATE END DATE VALIDITY NOTES
4 24/10/2017 2 09/04/2018 2 24/10/2017 1 08/05/2018 1 24/10/2017 1 24/10/2017 2 09/10/2018 4 09/11/2017 2 09/11/2017 3 24/10/2017 1 09/11/2017 2 09/11/2017 2 09/11/2017 4 07/12/2017 4 1 1

POS. CODE
1 15310271A BALANCER SET, HANDLE BAR 2 36011621AA CLAMP REAR 3 36011981AA CLAMP FRONT LH 4 36011991AA CLAMP FRONT RH 5 88450021A SPRING RING 6 87512772CA HANDLEBAR TUBE R.H. 7 87512762CA HANDLEBAR TUBE L.H. 8 86150331A PIN, SPRING 9 86050171A PIN, SPRING 10 82113822BA PIN 11 7791A871AA SCREW, SPECIAL 12 77157248B SCREW TCEIF M8X22 13 66020102B THROTTLE CONTROL (Unit) 14 36140151AA GRIPS, PAIR 15 65010301B RIGHT SWITCH 16 65110301B LEFT SWITCH 17 71011451A BUSH 18 71112791A BUSH 19 77150768B SCREW TCEI M6X55 20 7131D051A SPACER 21 83040071A CLIP
2 09/11/2017 2 09/11/2017 1 21/10/2017 1 21/10/2017 2 21/10/2017 1 21/10/2017 1 21/10/2017 2 21/10/2017 2 21/10/2017 2 21/10/2017 2 21/10/2017 2 21/10/2017 1 17/11/2017 1 17/11/2017 1 21/10/2017 1 09/11/2017 2 09/11/2017 2 09/11/2017 2 09/11/2017 1 21/10/2017 2 09/11/2017

POS. CODE DESCRIPTION
1 63040771A CLUTCH PUMP 2 63140671AA CLUTCH LEVER RIZOMA 3 18710021A VALVE, BREATHER 4 61240052A DUST COVER 5 77913971A BOLT, BRAKE HOSE 6 63210852A CLUTCH OIL HOSE 7 77910921B SCREW 8 76414191A DAMPER 9 8291A701AA BRACKET 10 77350623B SCREW TCEIR M6X10 11 89340241A TANK CAP 12 58540321A SUB TANK, OIL 13 75011921A NUT 14 74140431A CLAMP 15 87711131A PIPE 16 77913662AB SCREW, SPECIAL 17 85250241A WASHER 10X14X1 18 62640571A BRACKET, MASTER CYLINDER 19 63140281A DRAIN 20 62640561A BOLT, LEVER 21 63140081A JOINT, HOSE 22 53940511A SWITCH, CLUTCH 23 61240391A DUST COVER 24 19540091C PISTON ASSEMBLY 25 77156718B SCREW TCEIF M6X30 26 77156678B SCREW TCEIF M6X20 27 61041991A BREMBO CLUTCH FLOATING PISTON KIT
QTY START DATE END DATE VALIDITY NOTES
1 21/01/2015 1 1 1 1 1 03/10/2017 1 03/10/2017 1 1 1 1 1 1 03/10/2017 2 1 1 25/10/2013 4 1 1 1 1 1 19/07/2017 1 1 1 09/11/2017 1 09/11/2017 1

POS. CODE DESCRIPTION
1 36521673A SHOCK ABSORBER REAR OHLINS 2 7715936BG SCREW 3 7725202BG SCREW 4 74941511AB NUT, FLANGE 5 7131C691A SPACER LONG 6 70241191A BUSH 7 93041271A SEAL RING 20X26X4 8 7131C701A SPACER SHORT 9 37211983AA TIE ROD 10 37211971BA LEVER SET, REAR CUSHION 11 74840241AB NUT M10X1.25 12 7715937BG SCREW 13 8291G911BA LOWER HOLDER 14 8291G901CA BRACKET UPPER 15 7725364BG SCREW 16 7791B321AA SCREW, SPECIAL 17 85250401A WASHER 10.5X18X1.6
QTY START DATE END DATE VALIDITY NOTES
1 09/11/2017 1 09/11/2017 3 09/11/2017 2 09/11/2017 2 06/09/2017 4 06/09/2017 4 06/09/2017 1 09/11/2017 2 09/11/2017 1 02/08/2018 1 09/11/2017 1 09/11/2017 1 09/11/2017 1 09/11/2017 4 09/11/2017 2 07/05/2018 1 08/03/2019

POS. CODE
1 56416662AA FRONT FENDER CARBON 2 71614011B SPACER 6.2X8.5X14 3 77210893B SCREW
1 4 09/11/2017 4 09/11/2017

POS. CODE
1 48411501B RADIATOR PROTECTION 2 77211091C SCREW 3 76414331A RUBBER PAD 4 76410901A RUBBER PAD 5 85040551A QUICK FASTENING 6 85041951AA QUICK FASTENING 7 71611671AA SPACER 8 76411501A RUBBER PAD 9 85213111AA WASHER 10 7791B112AA SCREW, SPECIAL 11 77214221AA SCREW, SPECIAL 12 71615151AA SPACER 13 77156438B SCREW 14 58511133A WATER TANK, RIGHT 15 89310143A TANK CAP 16 74140431A CLAMP 17 93410302A HOSE 18 93410331A PIPE 19 54811355A WATER COOLER 20 55020331A ELECTRIC FAN, LEFT 21 89310241A RADIATOR CAP 22 77440511A SCREW 23 82718832A BRACKET ELECTRIC FAN 24 55020321A ELECTRIC FAN, RIGHT 25 77214411AA SCREW 26 82718822A RIGHT HOLDER 27 86611121A RUBBER PAD 28 77244233B SCREW 29 82718811A LEFT HOLDER 30 79110931A LEFT GASKET 31 79110941A RIGHT GASKET 32 48411781A DEFLECTOR LH 33 48411791A DEFLECTOR RH 34 8291H771A HOLDER 35 77440213C SCREW
DESCRIPTION QTY START DATE END DATE VALIDITY NOTES
1 22/12/2017 4 09/11/2017 10 03/07/2017 2 22/12/2017 9 09/11/2017 3 15/12/2017 4 09/11/2017 12 09/11/2017 2 09/11/2017 2 09/11/2017 2 28/09/2018 6 09/11/2017 6 09/11/2017 1 22/12/2017 1 09/11/2017 1 09/11/2017 1 05/04/2018 1 01/03/2018 1 23/02/2018 1 28/09/2018 1 26/10/2017 6 19/06/2018 1 28/09/2018 1 18/06/2018 2 09/11/2017 1 28/09/2018 1 22/12/2017 2 09/11/2017 1 28/09/2018 1 28/09/2018 1 18/06/2018 1 26/02/2018 1 26/02/2018 4 26/02/2018 4 26/02/2018

POS. CODE
36 82119451A PIN 37 79916741AA SPRING DEFLECTOR LH 38 79916751AA SPRING DEFLECTOR RH 39 8301G961A GUIDE, FRONT BRAKE HOSE 40 77244173B SCREW 41 58511191A WATER TANK, LEFT 42 93410342A HOSE, DRAIN 43 74141721A CLAMP
2 26/02/2018 1 26/02/2018 1 01/03/2018 1 01/03/2018 1 01/03/2018 1 01/03/2018 1 06/03/2018 4 14/05/2018

POS. CODE DESCRIPTION
1 74141851A CLAMP 25-40 MM 2 80018072A SLEEVE 3 80018131A WATER HOSE 4 80018111AA SLEEVE 5 8291G891A HOLDER 6 86610751A PAD 7 76411381A VIBRATION DAMPER PAD 8 80018121A WATER HOSE 9 55242631A ENGINE WATER TEMPERATURE SENSOR 10 74142591A CLAMP 20-35 MM 11 55320161A SQUIRTER UNIT 12 74141881A CLAMP 23-35 MM 13 74141861A CLAMP 20-32 MM 14 85611711AA WASHER 15 77550171A SCREW TBEI M4X8 16 79915581A SPRING 17 80018061A SLEEVE 18 80018081A HOSE THERMOSTAT/HEAD 19 88641981A O-RING 20 75910391A CLIP
QTY START DATE END DATE VALIDITY NOTES
5 09/11/2017 1 07/05/2018 1 09/11/2017 1 31/10/2017 1 31/10/2017 2 31/10/2017 1 31/10/2017 1 01/11/2017 1 20/11/2017 2 09/11/2017 1 20/11/2017 1 09/11/2017 4 20/11/2017 1 31/10/2017 1 09/10/2018 1 20/11/2017 1 20/11/2017 2 20/11/2017 2 20/11/2017 1 27/11/2017

POS. CODE DESCRIPTION
1 8291G831BA LEFT HOLDER 2 77157288B SCREW TCEIF M8X35 3 86050361AA PIN 4 77110191A SCREW TCEIF M6X20 5 45612422AA GEAR CONTROL LEVER 6 77244348BA SCREW 7 85611271A WASHER 8 55215484C Quick Shift 9 11711821AA GEARBOX DRIVING ROD 96211191AA GEARBOX DRIVING ROD 133 mm 10 74750031A NUT 6MM 11 77550131B SCREW 12 84850021A BALL JOINT, RIGHT 13 74940041A NUT, SELF-LOCKING M6 14 77156658B SCREW TCEIF M6X16 15 77110212A SCREW 16 88450021A SPRING RING 17 71210341A BUSH 18 88641161A O-RING 19 82111701CA PIN PEDAL 20 96211161AA GEARCHANGE LEVER 21 96211171AA GEAR CHANGE ARM 22 96211181AA PEDAL, GEAR CHANGE 23 96211222A COVER PEDAL 24 96211231A SPRING, RETURN PEDAL, GEAR CHANGE 25 24716421AA HEEL GUARD FRONT LH CARBON 26 85211511A WASHER 27 96211251A GEAR LEVER PIN 28 77850381A SCREW M5X10 FOOTREST PIN 29 85212271A WASHER 30 86050041A PIN 31 88450821A SPRING RING 32 96211051AA BRACKET FRONT LEFT FOOTREST 33 96211091AA LEFT FOOTREST 34 96211111A LEFT PROTECTION PLATE
QTY START DATE END DATE VALIDITY NOTES
1 09/11/2017 2 09/11/2017 1 09/11/2017 1 09/11/2017 1 09/11/2017 1 09/11/2017 1 09/11/2017 1 22/11/2017 1 09/11/2017 1 1 09/11/2017 1 09/11/2017 1 11/01/2017 1 09/11/2017 1 09/11/2017 1 09/11/2017 1 09/11/2017 1 01/08/2017 2 09/11/2017 1 11/02/2015 1 09/11/2017 1 09/11/2017 1 09/11/2017 1 09/11/2017 1 09/11/2017 1 09/11/2017 1 09/11/2017 1 1 1 1 1 1 1 1

POS. CODE DESCRIPTION
35 96211121AA JOINT LEFT FOOTREST 36 96211201A FOOTREST PIN 37 96211211A SPRING, RETURN LEFT FOOTREST 38 96221061AA L.H. FOOT PEG HOLDER PLATE 39 97611181A SCREW, SPECIAL M8 40 97611191A SCREW, SPECIAL M8 41 77244173B SCREW 42 77157248B SCREW TCEIF M8X22
QTY START DATE END DATE VALIDITY NOTES
1 1 1 1 1 1 2 3

POS. CODE DESCRIPTION
1 96211081AA FRONT R.H. PLATE 2 74750031A NUT 6MM 3 77912371B SCREW 4 77244173B SCREW 5 97611181A SCREW, SPECIAL M8 6 96221241A PIN REAR BRAKE PUMP 7 74750071A NUT 8 97611101A NUT M8 9 97611081A BUSH PIN 10 82113811AA PIN 11 97611091A SPRING, RETURN FRENO POSTERIORE 12 68540071A COTTER PIN 13 96211071AA BRACKET FRONT RIGHT FOOTREST 14 24716431AA HEEL GUARD FRONT RH CARBON 15 71240261A BUSH WITH COLLAR 16 74940041A NUT, SELF-LOCKING M6 17 77156668B SCREW TCEIF M6X18 18 96211271A SPRING, RETURN PEDAL, BRAKE 19 77850381A SCREW M5X10 FOOTREST PIN 20 86050041A PIN 21 88450821A SPRING RING 22 88640371A O-RING 14X1.78 23 96210521A COVER PEDAL 24 96211101AA RIGHT FOOTREST 25 96211111A LEFT PROTECTION PLATE 26 96211121AA JOINT LEFT FOOTREST 27 96211131AA BRAKE LEVER ASSEMBLY 28 96211141AA SMALL LINK BRAKE LEVER ASSEMBLY 29 96211151AA PEDAL, BRAKE BRAKE LEVER ASSEMBLY 30 96211201A FOOTREST PIN 31 96211211A SPRING, RETURN LEFT FOOTREST 32 96211261A SHAFT, BRAKE 33 77156658B SCREW TCEIF M6X16
QTY START DATE END DATE VALIDITY NOTES
1 09/11/2017 1 09/11/2017 1 06/09/2017 2 2 1 1 1 1 1 09/11/2017 1 1 09/11/2017 1 1 1 09/11/2017 1 09/11/2017 1 09/11/2017 1 1 09/11/2017 1 1 1 1 1 1 1 1 1 1 1 1 1 2

POS. CODE
1 56511281AA REAR MUDGUARD CARBON 2 77214411BA SCREW, SPECIAL 3 85611271A WASHER
1 17/11/2017 4 09/11/2017 4 11/11/2017

POS. CODE DESCRIPTION
1 50121722AB FRONT WHEEL RIM MAGNESIUM 2 81910691A FRONT WHEEL SPINDLE 3 71413261AA RIGHT SPACER 4 49240901A DISC, FRONT BRAKE RH 5 77510701AA SCREW 6 93040521A SEAL RING 35X47.15X6.8 7 70250451A BEARING 8 71413291A INNER SPACER 9 49720012A VALVE, TUBELESS TIRE 10 49240891A DISC, FRONT BRAKE LH 11 50410051A FRONT PHONIC WHEEL 12 71413271AA LEFT SPACER 13 85212221A WASHER 30X40X1 14 74810651A NUT 15 43819261A TRANSFER MARCHESINI 16 43819271A ITALIAN FLAG DECAL
QTY START DATE END DATE VALIDITY NOTES
1 09/11/2017 1 09/11/2017 1 09/11/2017 1 09/11/2017 10 09/11/2017 2 08/06/2017 2 08/06/2017 1 08/06/2017 1 09/11/2017 1 09/11/2017 1 09/11/2017 1 09/11/2017 1 09/11/2017 1 09/11/2017 2 09/11/2017 2

POS. CODE DESCRIPTION
1 50221643AB REAR WHEEL RIM MAGNESIUM 2 49720031A VALVE, TUBELESS TIRE 3 75910222A CLIP 4 75012072AA NUT 5 85212211A WASHER 48.5X65X0.5 6 71411352AA SPACER 7 43819271A ITALIAN FLAG DECAL 8 43819261A TRANSFER MARCHESINI
QTY START DATE END DATE VALIDITY NOTES
1 31/07/2017 1 09/11/2017 1 09/11/2017 1 09/11/2017 1 09/11/2017 1 09/11/2017 2 09/11/2017 2

POS. CODE DESCRIPTION
1 81920831AA REAR WHEEL SPINDLE 2 49210061A REAR BRAKE DISC 3 77918261AA SCREW 4 50410091A REAR PHONIC WHEEL 5 72050159EA SCREW 6 75910222A CLIP 7 75012072AA NUT 8 85212211A WASHER 48.5X65X0.5 9 74810461A NUT, FLANGE M10X1 10 70010571A RUBBER CUSH DRIVE HUB M10x1 11 16016101AA REAR SPROCKET FLANGE 12 49411971AA REAR SPROCKET T41 13 71413531AA FINAL SPROKET SLEEVE 14 88110541A INNER SPACER 15 75620131A HUB 16 93010102A DUST COVER
QTY START DATE END DATE VALIDITY NOTES
1 08/03/2019 1 09/11/2017 4 09/11/2017 1 09/11/2017 4 09/11/2017 1 09/11/2017 1 09/11/2017 1 09/11/2017 6 09/11/2017 6 09/11/2017 1 09/11/2017 1 08/03/2019 1 09/11/2017 1 09/11/2017 1 09/11/2017 1 24/12/2009

POS. CODE DESCRIPTION
1 58612621BD FUEL TANK RED/BLACK 2 43818151AB EMBLEM DUCATI GRAY 3 87211343A PLUG 4 88450351A CIRCLIP 5 46320226A O-RING 6 7131C961A SPACER 7 79111312A GASKET 8 84740161A BALL 9 8291H141A HOLDER 10 77244168B SCREW 11 85611711AA WASHER 12 76411861A RUBBER PAD 13 77240343C SCREW 14 8301G051AB RIGHT BRACKET 15 77244178B SCREW 16 76414272A VIBRATION DAMPER PAD 17 8301G061AB LEFT BRACKET 18 59014641A HOSE, DRAIN 19 74140431A CLAMP 20 85044403A DUAL LOCK 21 4601G951A THERMOREFLECTING PROTECTION LEFT 22 77156418B SCREW TCEIF M5X16 23 85010141A RUBBER PAD 24 77244213B SCREW 25 7131C881BA SPACER 26 16024371A FUEL PUMP 27 4601G941A THERMOREFLECTING PROTECTION 28 4601G961A THERMOREFLECTING PROTECTION RIGHT 29 61610021A THREE-WAYS UNION 30 93410351A HOSE, DRAIN 31 69926441A GASKET KIT 32 69928751A THERMISTOR
QTY START DATE END DATE VALIDITY NOTES
1 09/11/2017 2 09/10/2017 1 09/10/2017 1 09/10/2017 1 09/10/2017 1 09/11/2017 1 09/10/2017 1 09/10/2017 1 09/10/2017 2 09/11/2017 2 09/11/2017 2 09/11/2017 2 09/11/2017 1 16/10/2017 2 09/10/2017 2 09/11/2017 1 09/11/2017 1 07/05/2018 4 09/11/2017 4 06/12/2017 1 11/01/2018 4 27/11/2017 4 09/10/2017 6 09/10/2017 4 09/11/2017 1 09/10/2017 1 11/01/2018 1 11/01/2018 1 14/05/2018 1 07/05/2018 1 1

POS. CODE DESCRIPTION
1 57424832B SILENZIATORE COMPLETO 2 96412991AA CAP LH CARBON 3 96412981AA CAP RH CARBON 4 46110552A HEAT GUARD Front 5 46110563A HEAT GUARD STARTING MOTOR 6 57014865B FRONT EXHAUST MANIFOLD 7 74810361A NUT 8 77244168B SCREW 9 85040551A QUICK FASTENING 10 79922971A COMPLETE SPRING 11 57610991AA BRACKET, MUFFLER SUPPORT LEFT 12 57610981AA BRACKET, MUFFLER SUPPORT RIGHT 13 77157278B SCREW TCEIF M8X30 14 77113851A SCREW TCEIF M8X35 15 71615551AA SPACER 16 76412472A RUBBER PAD 17 85550071A TOOTHED LOCK WASHER 18 48810093AA PLATE 19 55215021A SENSOR LAMBDA SOND 20 78020011A PLUG ASSY 21 79010341B GASKET, EXHAUST PIPE 22 96413011A COVER LOWER 23 97610991A WASHER 24 97611001A SCREW
QTY START DATE END DATE VALIDITY NOTES
1 1 13/06/2019 1 13/06/2019 1 09/11/2017 1 12/12/2017 1 09/07/2018 6 09/11/2017 4 09/11/2017 5 09/11/2017 2 09/11/2017 1 09/11/2017 1 09/11/2017 1 09/11/2017 1 09/11/2017 4 09/11/2017 3 09/11/2017 3 09/11/2017 2 09/11/2017 1 09/11/2017 2 2 1 03/04/2019 3 03/04/2019 7 03/04/2019

POS. CODE DESCRIPTION
1 4601F402A HEAT GUARD L.H. 2 4601G351B HEAT GUARD R.H. 3 4601G461A PROTECTION WIRING 4 46110572B HEAT GUARD REAR 5 46110581C HEAT GUARD REAR RIGHT 6 57014873C EXHAUST MANIFOLD (REAR) 7 74810361A NUT 8 76411821A VIBRATION DAMPER PAD 9 76414381A RUBBER PAD 10 79922971A COMPLETE SPRING 11 77156403B SCREW 12 77157258B SCREW TCEIF M8X25 13 77240253C SCREW 14 77240423C SCREW TBEIF M6X16 10.9 15 77440141A SCREW, TAPPING 4X8 WN1412 16 85041711A HOSE GUIDE 17 85213111AA WASHER 18 85640121A WASHER 19 85041931A CLIP 20 97611111AA RIGHT BRACKET ALTA 97611121AA RIGHT BRACKET MEDIA 97611131AA RIGHT BRACKET 21 79010321B GASKET, EXHAUST PIPE 22 86612741A BRACKET, CONNECTOR 23 4601F461A THERMOREFLECTING PROTECTION 24 069191030 CLAMP 25 4601F451A THERMOREFLECTING PROTECTION 26 55215021A SENSOR LAMBDA SOND 27 78020011A PLUG ASSY
QTY START DATE END DATE VALIDITY NOTES
1 07/05/2018 1 22/02/2018 1 09/11/2017 1 09/11/2017 1 09/02/2018 1 09/02/2018 6 09/11/2017 4 12/09/2017 1 06/09/2017 2 09/11/2017 7 09/11/2017 1 09/11/2017 6 09/11/2017 4 24/10/2017 3 24/10/2017 3 24/10/2017 6 09/11/2017 8 09/11/2017 3 24/10/2017 1 1 1 06/09/2017 2 09/11/2017 1 09/11/2017 1 09/11/2017 3 16/11/2017 1 09/11/2017 1 09/11/2017 2

POS. CODE
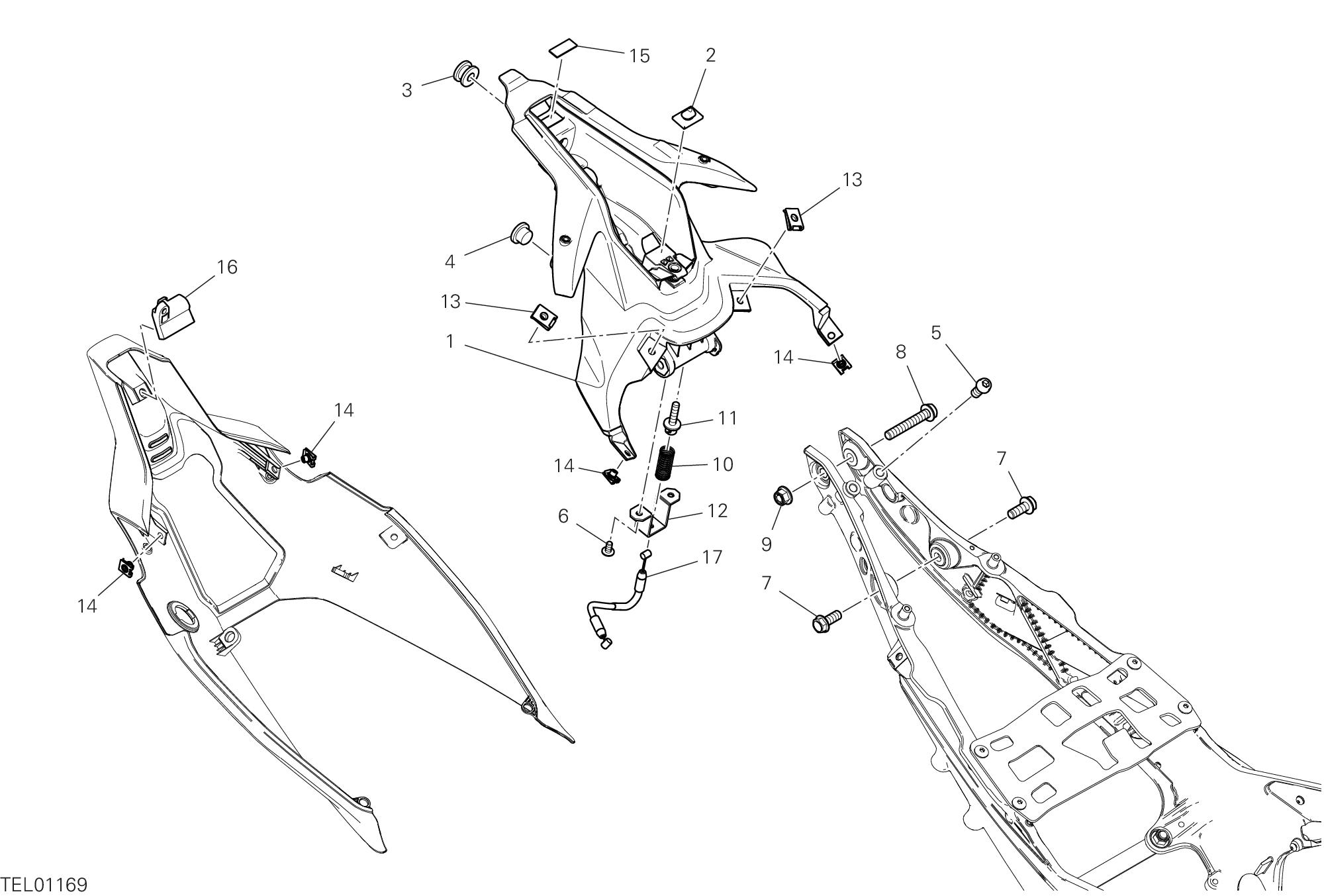
1 595P6611A SEAT 2 77214411AA SCREW 3 86610301A PAD 4 91374511H OWNER'S MANUAL
1 09/11/2017 2 09/11/2017 11 09/11/2017 1 XST:CAL,CDN USA

POS. CODE DESCRIPTION
1 47023223AA FRAME 2 75610361AA BUSH 3 93041911A DUST COVER 4 7715725BG SCREW 5 7791A842AA SCREW, SPECIAL 6 7131D641AA SPACER 7 8291G921AA RIGHT HOLDER 8 70241241A BEARING, STEERING NTN SF07A17P 9 7791B103AA SCREW, SPECIAL 10 74840341B NUT M8 11 46017141A CAP LH 12 46017151A CAP RH 13 48810121AA ROD 14 85540091A TOOTHED LOCK WASHER 15 7791B311AA SCREW, SPECIAL 16 75841031A CLAMP SPECIALE
QTY START DATE END DATE VALIDITY NOTES
1 25/07/2018 2 31/10/2017 2 31/10/2017 3 09/11/2017 4 09/11/2017 4 13/12/2018 1 09/11/2017 2 2 17/11/2017 4 13/12/2018 1 07/01/2019 1 07/01/2019 1 13/12/2018 3 2 2 XST:CAL,CDN

POS. CODE DESCRIPTION
1 46016881A CAP RH 2 46016871A CAP LH 3 47111174AA REAR FRAME L.H. 4 47111184AA REAR FRAME R.H. 5 74941128B NUT M8 6 77156643B SCREW TCEIF M6X14 8.8 7 77550171A SCREW TBEI M4X8 8 77550221A SCREW TBEI M4X10 9 7791B321AA SCREW, SPECIAL 10 8291G821AA SEAT SUPPORT 11 85040551A QUICK FASTENING 12 4601G551A CAP LH REAR HEAD 13 4601G561A CAP RH REAR HEAD 14 85213751AA WASHER 15 48810082AA BRACKET 16 48612041B DAMPER, SOUND ARRESTER LEFT 17 86610301A PAD 18 85040521A CLIP 19 85042461A DUAL LOCK 20 87240821A PLUG
QTY START DATE END DATE VALIDITY NOTES
1 09/11/2017 1 24/10/2017 1 05/06/2018 1 05/06/2018 2 09/11/2017 4 09/11/2017 4 09/11/2017 6 09/11/2017 4 07/05/2018 1 09/11/2017 2 09/11/2017 1 24/10/2017 1 24/10/2017 4 24/10/2017 1 30/05/2018 1 17/12/2017 1 17/12/2017 4 4 06/12/2017 4

POS. CODE
1 48312053A LOCKER 2 86610301A PAD 3 76411491A RUBBER PAD 4 76414282A RUBBER PAD 5 77157213B SCREW TCEIF M8X16 6 77240253C SCREW 7 77251308B SCREW 8 77251388B SCREW 9 74941128B NUT M8 10 79913021A SPRING 11 82115751AA PIN 12 82718481AA BRACKET 13 85040551A QUICK FASTENING 14 85041951AA QUICK FASTENING 15 86611821A RUBBER PAD 16 86612771B PAD 17 73210651B CABLE, SEAT LOCK
1 24/10/2017 1 24/10/2017 1 24/10/2017 2 07/05/2018 2 09/11/2017 2 24/10/2017 2 24/10/2017 1 24/10/2017 1 09/11/2017 1 24/10/2017 1 09/11/2017 1 09/11/2017 2 24/10/2017 4 09/11/2017 1 09/11/2017 1 24/10/2017 1 09/11/2017

POS. CODE
1 54811364A OIL COOLER 2 54911402A OIL DELIVERY PIPE 3 82718471AA PLATE 4 71615151AA SPACER 5 74941108B NUT 6 76410901A RUBBER PAD 7 76411501A RUBBER PAD 8 77116648B SCREW M6X14 9 88643141A O-RING 10 88643121A O-RING
1 09/11/2017 1 09/11/2017 1 09/11/2017 2 18/06/2018 2 10/10/2017 1 10/10/2017 2 09/11/2017 1 11/04/2019 2 2

POS. CODE DESCRIPTION
1 8291H031A HOLDER WIRING 2 48411492A DUCT, AIR INLET 3 77244198B SCREW 4 42610672A FILTER, AIR 5 48411531A DUCT, AIR INLET (REAR) 6 8291H082A FLANGE 7 44213201B COVER AIR BOX , UPPER LOWER 8 59018512A HOSE, DRAIN AIRBOX 9 87611481A HOSE, BLOW-BY AIRBOX 10 74142141A CLAMP 11 87611472A HOSE, BLOW-BY MOTORE-CICLONE 12 74140631A CLAMP 13 93310501A HOSE 14 77550171A SCREW TBEI M4X8 15 85611711AA WASHER 16 76411381A VIBRATION DAMPER PAD 17 8501A671AA CLIP 18 8501A701A HOLDER 19 79111241A GASKET 20 44213211D COVER AIR BOX , UPPER 21 76410621B RUBBER PAD 22 86612411A HOLDER 23 87211261A PLUG 24 77354623B SCREW M4X10 25 58511121A CYCLONE SEPARATOR 26 74140381A CLAMP 27 74141721A CLAMP
QTY START DATE END DATE VALIDITY NOTES
1 31/10/2017 1 31/10/2017 8 31/10/2017 1 31/10/2017 1 31/10/2017 1 31/10/2017 1 09/11/2017 1 09/11/2017 1 09/11/2017 2 09/11/2017 1 31/10/2017 2 31/10/2017 1 31/10/2017 1 15/10/2018 1 31/10/2017 1 31/10/2017 11 09/11/2017 11 09/11/2017 1 13/07/2017 1 09/11/2017 1 09/11/2017 5 09/11/2017 2 09/11/2017 2 09/11/2017 1 09/11/2017 3 09/11/2017 1 08/03/2019

POS. CODE
1 28221212B THROTTLE BODY 2 59024144B COMPLETE PIPE SET BOTTOM 3 14010881A INTAKE MANIFOLD 4 13510661A AIR FUNNEL 5 72050173CF SCREW 6 28040461B INJECTOR 7 77240453CA SCREW TBEIF M6X22 10.9 8 77150208B SCREW TCEIF M6X14 8.8 9 85042371A CLIP 10 74142121A CLAMP 11 59018461C PIPE 12 74140381A CLAMP 13 74142151A CLAMP 14 70011241AA VIBRATION DAMPER 15 81416301A THREE-WAYS UNION
1 09/11/2017 1 07/05/2018 4 09/11/2017 4 09/11/2017 24 09/11/2017 4 09/11/2017 8 09/11/2017 4 09/11/2017 4 09/11/2017 1 09/11/2017 1 09/10/2017 2 09/11/2017 1 09/11/2017 1 04/04/2019 1 09/11/2017

POS. CODE
1 11711781A ROD (Unit) 2 11711791A ROD 3 13510532A PIPE 4 28040471B INJECTOR 5 45510391A LEVER SHORT 6 45510401A LEVER LONG 7 59024133B COMPLETE PIPE SET UPPER 8 68411362BA COLUMN 9 71116721A BUSH 10 71615501AA SPACER 11 76411671A RUBBER PAD 12 77244183B SCREW 13 77150208B SCREW TCEIF M6X14 8.8 14 79916471A SPRING 15 82118461A PIN 16 82119211A SPRING SEAT 17 82119222A PIN 18 82718461A PLATE 19 82919202A HOLDER 20 8501A661A CLIP 21 85042371A CLIP 22 86612371A PAD UPPER 23 86612381A LOWER SUPPORT 24 88642751A O-RING 25 4601H512A PROTECTION SHEATH 26 70011231AA VIBRATION DAMPER
1 09/11/2017 1 11/01/2017 2 09/11/2017 4 09/11/2017 1 09/11/2017 1 09/11/2017 1 09/11/2017 4 09/11/2017 2 09/11/2017 4 09/11/2017 4 09/11/2017 4 09/11/2017 4 09/11/2017 1 09/11/2017 2 09/11/2017 1 09/11/2017 4 09/11/2017 2 09/11/2017 1 09/11/2017 4 09/11/2017 4 09/11/2017 4 09/11/2017 1 15/11/2017 4 09/11/2017 1 25/10/2018 1 04/04/2019

POS. CODE DESCRIPTION
1 4601F961A THERMOREFLECTING PROTECTION 2 8291G771A BRACKET, CANISTER 3 77914391C SCREW 4 42610681A HOT AIR PIPE CANISTER 5 70010751A VIBRATION DAMPER 6 74140631A CLAMP 7 93510281B PIPE 8 74140641A CLAMP 9 93510431A HOSE 10 65540101A VALVE, BREATHER 11 93510441A HOSE 12 81416431A UNION 13 74140431A CLAMP 14 93510401A HOSE 15 74141711A CLAMP 10-7 MM
QTY START DATE END DATE VALIDITY NOTES
1 09/11/2017 1 06/09/2017 2 09/11/2017 1 06/09/2017 1 06/09/2017 3 09/11/2017 1 06/09/2017 2 09/11/2017 1 09/11/2017 1 06/09/2017 1 19/04/2017 1 19/04/2017 8 19/04/2017 4 19/04/2017 1 09/11/2017

POS. CODE DESCRIPTION
1 48711141A WINDSHIELD 2 77510071AB SCREW, SPECIAL 3 85210241A WASHER, NYLON 4X8X0.5 4 75010281A NUT, SPRING 5 48113981AD COWLING RED/WHITE 6 43818111AB L.H. STICKER DUCATI 7 76410901A RUBBER PAD 8 85040551A QUICK FASTENING 9 85041951AA QUICK FASTENING 10 4601G212A COVER, BODY COWL LH 11 77211091C SCREW 12 75012341AA SCREW, SPECIAL 13 4601G222A COVER, IGNITION SWITCH 14 4601G202A COVER, BODY COWL RH 15 523S0654A REAR-VIEW MIRROR R.H. 16 78811781A RIGHT GASKET 17 523S0644A REAR-VIEW MIRROR L.H. 18 78811771A LEFT GASKET 19 77244173B SCREW 20 4601G171B COVER 21 4381D011A TRANSFER 1 22 77244198B SCREW 23 4601G191A CAP RH 24 78811791A GASKET 25 4601G181A CAP LH 26 4381D031A RIGHTDUCATI 916 TRANSFER COWLING 27 4381D061A LEFTDUCATI 916 TRANSFER COWLING 28 78510211A GASKET WINDSHIELD 29 4381D211A 'WINDSHIELD' TRANSFER FOGGY 30 4381C971A GRAPHIC DUCATI CORSE
QTY START DATE END DATE VALIDITY NOTES
1 01/10/2018 6 09/11/2017 6 09/11/2017 6 09/11/2017 1 01/01/2019 1 03/10/2018 1 09/11/2017 2 09/11/2017 6 09/11/2017 1 09/11/2017 3 09/11/2017 2 09/11/2017 1 09/11/2017 1 09/11/2017 1 01/07/2018 1 30/05/2017 1 01/07/2018 1 30/05/2017 4 09/11/2017 1 17/07/2018 1 07/09/2018 4 09/11/2017 1 09/11/2017 2 09/11/2017 1 09/11/2017 1 24/10/2018 1 1 1 1

POS. CODE DESCRIPTION
1 48019172AD RIGHT UPPER HALF-FAIRING DUCATI CORSE 2 4381B101AB TRANSFER PANIGALE V4 3 48019262BD RIGHT LOWER HALF-FAIRING DUCATI CORSE 4 48612002A DAMPER, SOUND ARRESTER LOWER 5 85041091A WASHER, SPRING 6 480P9941BD ESTRATTORE FAIRING, RH 7 92610581A GUARD 8 76411671A RUBBER PAD 9 85041951AA QUICK FASTENING 10 85042242A DUAL LOCK 11 76440561A RUBBER PAD 12 77211091C SCREW 13 85611401A WASHER 14 77214411AA SCREW 15 85212181A WASHER, NYLON 9X14X1 16 48612011A DAMPER, SOUND ARRESTER UPPER 17 48612032B DAMPER, SOUND ARRESTER ESTRATTORE 18 86612551A PAD 19 4381C981A TRANSFER R.H. NUMBER SUPPORT 20 4381D041A STICKER DUCATI CORSE 21 4381D221A TRANSFER SHELL
QTY START DATE END DATE VALIDITY NOTES
1 09/11/2017 1 10/10/2017 1 09/11/2017 1 04/12/2017 12 09/11/2017 1 09/11/2017 1 09/11/2017 4 09/11/2017 8 09/11/2017 3 09/11/2017 1 09/11/2017 12 24/10/2017 10 09/11/2017 1 09/11/2017 1 09/11/2017 1 09/11/2017 1 09/11/2017 1 01/11/2017 1 1 1

POS. CODE DESCRIPTION
1 48019152AD LEFT UPPER HALF-FAIRING DUCATI CORSE 2 4381B101AB TRANSFER PANIGALE V4 3 48019274BD LEFT LOWER HALF-FAIRING DUCATI CORSE 4 48611981A ACOUSTIC INSULATION PANEL, LH 5 85041091A WASHER, SPRING 6 480P9931BD ESTRATTORE FAIRING, LH 7 92610591A GUARD 8 76411671A RUBBER PAD 9 85041951AA QUICK FASTENING 10 85042242A DUAL LOCK 11 76440561A RUBBER PAD 12 77211091C SCREW 13 85611401A WASHER 14 77214411AA SCREW 15 85212181A WASHER, NYLON 9X14X1 16 48611992A DAMPER, SOUND ARRESTER UPPER 17 48612023B DAMPER, SOUND ARRESTER ESTRATTORE 18 77210842A SCREW TCEI M5X8.5 19 48612061A DAMPER, SOUND ARRESTER LOWER 20 48019191AD COVER TANK 21 4601G781B THERMOREFLECTING PROTECTION 22 75840871A CLAMP, WIRE 23 86612551A PAD 24 4381C991A TRANSFER L.H. NUMBER SUPPORT 25 4381C961A STICKER DUCATI916 TANK 26 4381D051A TRANSFER DUCATI CORSE 27 4381D221A TRANSFER SHELL 28 92610641A GUARD
QTY START DATE END DATE VALIDITY NOTES
1 09/11/2017 1 10/10/2017 1 09/11/2017 1 04/12/2017 12 09/11/2017 1 09/11/2017 2 09/11/2017 4 09/11/2017 11 09/11/2017 5 09/11/2017 1 09/11/2017 11 24/10/2017 4 09/11/2017 1 09/11/2017 2 09/11/2017 1 09/11/2017 1 09/11/2017 1 09/11/2017 1 09/11/2017 1 09/11/2017 1 22/11/2017 1 09/11/2017 1 01/11/2017 1 1 1 1 1

POS. CODE DESCRIPTION
1 48212441A COVER, LOWER 2 76414341A RUBBER PAD 3 77244183B SCREW 4 85611401A WASHER 5 77210943B SCREW, SPECIAL 6 85041951AA QUICK FASTENING 7 77211091C SCREW 8 86612791A RUBBER PAD 9 24716171AB SEAT BACK 10 86610301A PAD 11 48222451AD REAR FAIRING RED 12 43818081AB ITA FLAG STICKER DUCATI LH FOR RED 13 43818091AB ITA FLAG STICKER DUCATI RH FOR RED 14 86612801A RUBBER PAD 15 86612671A RUBBER PAD
QTY START DATE END DATE VALIDITY NOTES
1 09/11/2017 2 24/10/2017 4 09/11/2017 4 09/11/2017 2 2 24/10/2017 2 09/11/2017 2 09/11/2017 1 09/11/2017 2 09/11/2017 1 09/11/2017 1 16/06/2017 1 16/06/2017 2 04/07/2017 1 06/06/2017

POS. CODE
1 43311651A LABEL, WARNING SCREEN 2 43311701A LABEL, HELMET HOLDER 3 43311641A LABEL WARNING FUEL TANK 4 43311661A LABEL WARNING MIRROR
1 1 1 01/01/2012 2 01/01/2012


