
1 minute read
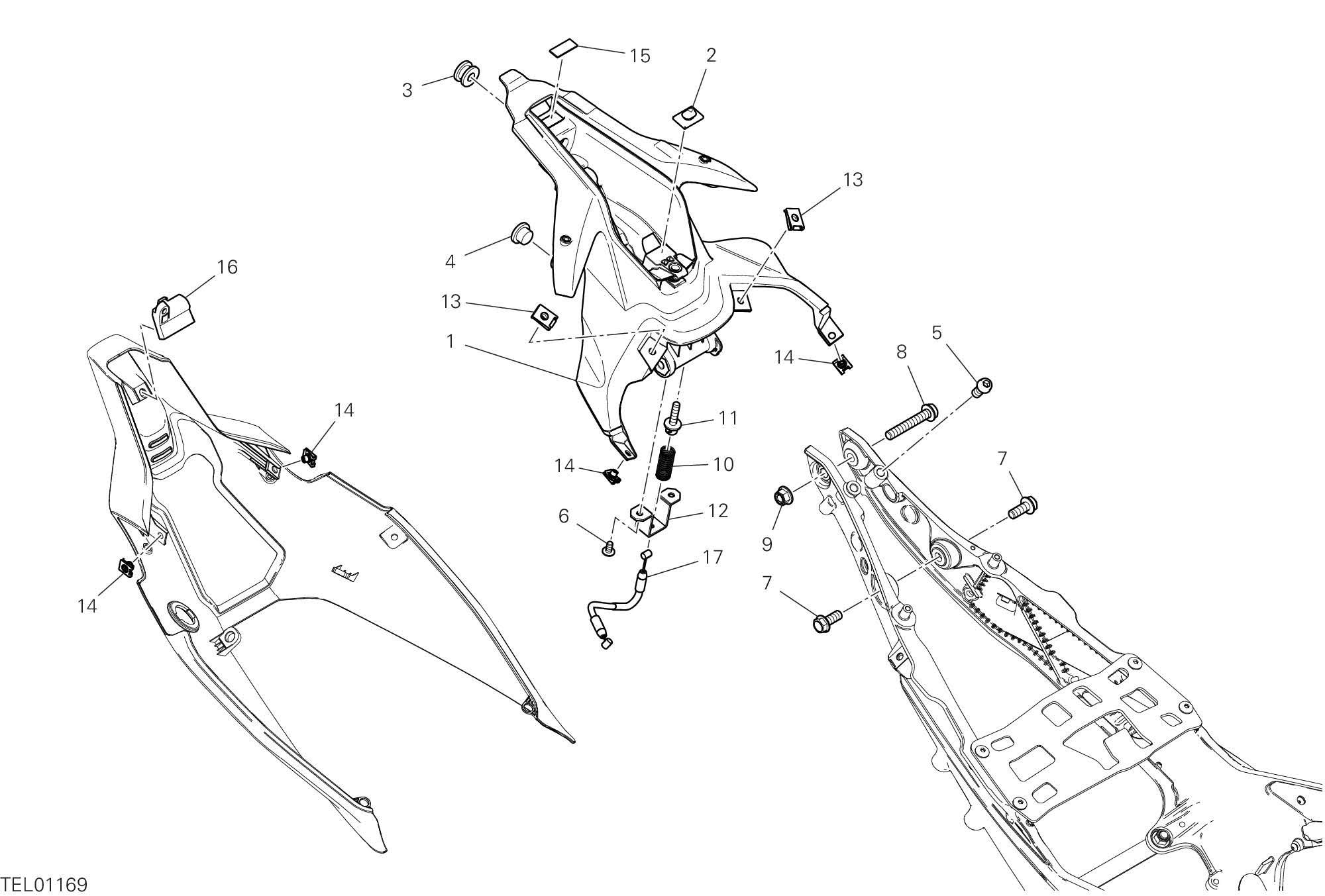
Drawing 33C - LOCKER [MOD:PANV4 R
POS. CODE
48312053A 86610301A 76411491A 76414282A 77110212A 77240253C 77251308B 77251388B 74941128B 79913021A 82115751AA 82718481AA 85040551A 85041951AA 86611821A 86612771B 73210651B LOCKER PAD RUBBER PAD RUBBER PAD SCREW SCREW SCREW SCREW NUT M8 SPRING PIN BRACKET QUICK FASTENING QUICK FASTENING RUBBER PAD PAD CABLE, SEAT LOCK
Advertisement
DESCRIPTION QTY START DATE END DATE VALIDITY NOTES
1 1 1 2 2 2 2 1 1 1 1 1 2 4 1 1 1 24/10/2017 24/10/2017 24/10/2017 07/05/2018 09/11/2017 24/10/2017 24/10/2017 24/10/2017 09/11/2017 24/10/2017 09/11/2017 09/11/2017 24/10/2017 09/11/2017 09/11/2017 24/10/2017 09/11/2017









