

![]()




Utgåva nr 2 © BLS – Brännehylte Lagersystem AB. 250922






* Gäller C90 ** Gäller C120


























Hylsa används som distans vid enkelsidorna på stag 1!





















Stagen skall monteras rygg mot rygg, med öppningarna utåt!
Åtdragningsmomentet för M10 är 9,5 Nm. Använd momentnyckel.
Toppskenor och bärskenor monteras med gavlarna.

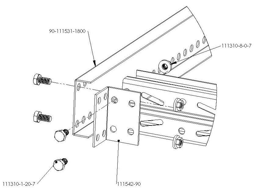
Montera fäste 111542-90 på gavel samt topprofil 90111531-XXXX

Vid skarvning av topprofil använd 111541.



Montera konsoler 111519 och 111520, med M10x20 samt mutter M10 med fläns.
Montera bärskena med M8x20 samt mutter M8
Montera alla gavlar och bärskenor samt topprofiler till en enda stor gavel. När Ni har två stycken klara så kan Ni resa dem. Yttergavlar har bärskenor på vänster eller höger om stolpen, resten har på båda sidor.


Res upp två gavlar och isätt ryggbalkar tillfälligt för att staga ställaget under det fortsatta montaget. Viktigt att Ni i detta skede nivellerar och riktar för att få allt i lod.
Montering av toppstag påbörjas innerst i sektionen. Monteras enligt projektritning. Ta sedan bort ryggbalkarna och använd dessa i nästa sektion.

Ryggkryss består av hålband och justerbar vantskruv. Monteras alltid enligt projektritning.


Efter montage skall ställaget besiktigas, se till att anläggningsskylt finns väl synlig på eller i närheten.