Broschyr Däcktruckar

Page 1


Däcktruckar

Oavsett om du väljer liggande eller stående däckförvaring har vi däcktruckar som effektiviserar hanteringen. För liggande förvaring erbjuder vi truckar som möjliggör förvaring i höjdled, med tillval som skyddstak och kamera för ökad säkerhet. För stående förvaring finns både handdragna och elektriska truckar anpassade för ditt system. Vi hjälper dig att hitta rätt lösning för en smidig och säker däckhantering. Bläddra i broschyren för att hitta din perfekta match!

Frågor? Ring 0370-30 50 00 eller skanna QR-koden ➜

Garantivillkor

Garantin omfattar reservdelar, batteri och laddare under en period om 12 månader från leveransdatum, om inte annat avtalats. Arbetskostnader eller andra relaterade kostnader ersätts ej. Leveransgaranti gäller i 30 dagar från leveransdatum. Vid reklamation under leveransgarantin ska BLS AB kontaktas, varefter eventuella garantianspråk utreds och beslut fattas om lämpliga åtgärder. Garantin upphör att gälla om produkten har använts på ett felaktigt sätt eller om ändringar gjorts på produkten utan skriftligt godkännande från oss. Notera att garantin enligt ovan ej kan omvandlas till ekonomisk ersättning.

ECO HOEIX 200

Liten och kompakt handragen staplare med dragstång, kedjestyrning och dragbyglar på stativet. Hydraulventil för precisionsreglering av höj- och sänkhastigheten. Inbyggd batteriladdare. Lyftkapacitet 200 kg och med lyfthöjder från 2 500 mm upp till 5 000.

ECO HOEIX 200 2500D – 5000T

Gångbreddsbehov**

Tjänstevikt, utan batteri / med batteri kg / 251 / 283 / 324 / 352 –

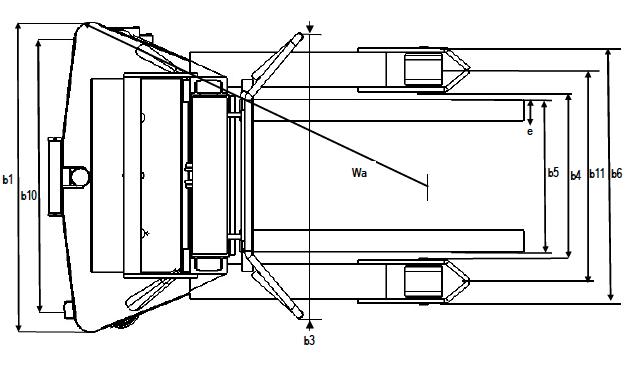
* mått från styrhjul **Gångbreddsbehov inkl. 200 mm säkerhetsavstånd med gaffeldimension l (hjul Ø650 mm) och 90° stapling med gafflarna i transportläge (nedsänkt läge).

OBS! gångbreddsbehov enl. standard SS-EN15620. Gångbredd, hantering exkl. säkerhetsavstånd rekommenderas ej. Notera med tillbehör, annan gaffellängd och skyddstak förändras gångbreddsbehovet.

Högst tillåtna last

Teknisk information ECO HOEIX 200

Lyfthastighet, utan last/med last

/ 0,17

Sänkhastighet, utan last/med last m/s 0,23 / 0,25 0,23 / 0,25

Hjultyp stödben Singel Polyuretan Singel Polyuretan

Hjuldimension stödben mm Ø 85x75 Ø 85x75

Hjultyp länkhjul Polyuretan Polyuretan

Hjuldimension länkhjul mm Ø 150x40 Ø 150x40

Parkeringsbroms Mek. fotbroms Mek. fotbroms

Styrsystem Kedjestyrning Kedjestyrning

Reglering lyft & sänk Hydraulventil Hydraulventil

Lyftmotor S3 10% kW 0,9 DC 0,9 DC

Batteri spänning/kapacitet V/Ah 12 / 75 12 / 75

Laddare spänning/kapacitet V/A 12 / 5 12 / 5

MULTI HLX 200

Kompakt och lättmanövrerad ledstaplare för gående förare. Trucken drivs med batteri. Lyftkapacitet 200 kg och med en lyfthöjd från 2500 mm upp till 6300. Olika tillbehör finns som skyddstak och gaffelkamera som gör arbetet både lättare, effektivare och säkrare.

MULTI HLX 200 2500D – 4500T

HLX 200 5000T – 6500T

*Gångbreddsbehov inkl. 200 mm säkerhetsavstånd med gaffeldimension l (hjul Ø650 mm) och 90° stapling med gafflarna i transportläge (nedsänkt läge).

OBS! gångbreddsbehov enl. standard SS-EN15620. Gångbredd, hantering exkl. säkerhets-avstånd rekommenderas ej. Notera med tillbehör, annan gaffellängd och skyddstak förändras gångbreddsbehovet.

Högst tillåtna last

Teknisk information MULTI HLX 200

Sänkhastighet, utan last/med last

Körhastighet utan last/med last

/ 3,5

Hjultyp stödben Singel Polyur. Singel Polyur. Singel Polyur.

Hjuldimension stödben mm Ø 85x75 Ø 85x75 Ø 85x75

Hjultyp länkhjul Polyuretan Polyuretan Polyuretan

Hjuldimension länkhjul mm Ø 100x40 Ø 100x40 Ø 100x40

Hjultyp drivhjul mm Gummi Gummi Gummi

Hjuldimension drivhjul mm Ø 240x60 Ø 240x60 Ø 240x60

Färdbroms Eldriven Eldriven Eldriven

Parkeringsbroms Eldriven Eldriven Eldriven

Styrsystem Styrarm Styrarm Styrarm

Reglering lyft & sänk Proportionalv. Proportionalv. Proportionalv.

Reglering körhastighet Transistor Transistor Transistor

Batteri spänning / kapacitet V/Ah 24 / 110 24 / 110 24 / 110 Laddare spänning / kapacitet V/A 24/20 24/20 24/20

SMART HSSX 200

Snabb, stark och ergonomisk åkstaplare för stående förare.

Lyftkapacitet 200 kg och med lyfthöjder från 3 500 mm upp till 7 000. Olika tillbehör finns som till exempel gaffelkamera som gör arbetet både lättare, effektivare och säkrare.

SMART HSSX 200 3600D – 6300TF

Tjänstevikt, utan batteri / med batteri kg 1 325 / –

Högst tillåtna last

*inkl. lastskyddshöjd **Gångbreddsbehov inkl. 200 mm säkerhetsavstånd med gaffeldimension l (hjul Ø650 mm) och 90° stapling med gafflarna i transportläge (nedsänkt läge).

OBS! gångbreddsbehov enl. standard SSEN15620. Gångbredd, hantering exkl. säkerhetsavstånd rekommenderas ej. Notera med tillbehör, annan gaffellängd och skyddstak förändras gångbreddsbehovet.

Teknisk information SMART HSSX 200

Längd,

utan last/med last

Körhastighet utan last/med last

Hjultyp stödben Singel Vulk Singel Vulk Singel Vulk

Hjuldimension stödben

Ø 85x95

Hjultyp länkhjul Vulkollan Vulkollan Vulkollan

Hjuldimension länkhjul mm Ø 150x60 Ø 150x60 Ø 150x60

Hjultyp drivhjul mm Vulkollan Vulkollan Vulkollan

Hjuldimension drivhjul mm Ø 250x80 Ø 250x80 Ø 250x80

Färdbroms Eldriven Eldriven Eldriven

Parkeringsbroms Mekanisk Mekanisk Mekanisk Styrsystem Elservo Elservo Elservo

Reglering lyft & sänk Proportionalv. Proportionalv. Proportionalv.

Reglering körhastighet Transistor Transistor Transistor

Sidostabilisatorer

SMILE HTSX 200

Kompakt och lättmanövrerad ledstaplare för gående förare. Trucken drivs med batteri. Lyftkapacitet 200 kg och med en lyfthöjd från 2500 mm upp till 6300. Olika tillbehör finns som skyddstak och gaffelkamera som gör arbetet både lättare, effektivare och säkrare.

*inkl. lastskyddshöjd **Gångbreddsbehov inkl. 200 mm säkerhetsavstånd med gaffeldimension l (hjul Ø650 mm) och 90° stapling med gafflarna i transportläge (nedsänkt läge). OBS! gångbreddsbehov enl. standard SS-EN15620. Gångbredd, hantering exkl. säkerhetsavstånd rekommenderas ej. Notera med tillbehör, annan gaffellängd och skyddstak förändras gångbreddsbehovet.

Högst tillåtna last

Teknisk information SMILE HTSX 200

Lyfthastighet, utan last/med last

Sänkhastighet, utan last/med last

Körhastighet utan last/med last km/h 8 / 8 8 / 8 8 / 8

Hjultyp stödben Singel Vulk. Singel Vulk. Singel Vulk.

Hjuldimension stödben mm Ø 85x95 Ø 85x95 Ø 85x95

Hjultyp länkhjul Vulkollan Vulkollan Vulkollan

Hjuldimension länkhjul mm Ø 150x60 Ø 150x60 Ø 150x60

Hjultyp drivhjul mm Vulkollan Vulkollan Vulkollan

Hjuldimension drivhjul mm Ø 250x80 Ø 250x80 Ø 250x80

Färdbroms Eldriven Eldriven Eldriven

Parkeringsbroms Mekanisk Mekanisk Mekanisk

Styrsystem Elservo Elservo Elservo

Reglering lyft & sänk Proportionalv. Proportionalv. Proportionalv. Reglering körhastighet Transistor Transistor Transistor

Batteri spänning / kapacitet V/Ah 24 / 240 24 / 240 24 / 775

Sidostabilisatorer Tillval Tillval Tillval

Tjänstevikt, utan batteri / med batteri kg – – –

EFFECT HAX 200

Liten, kompakt och lätthanterlig däcklyftare. Handdragen med elhydraulisk lyft och inbyggd laddare. Enkelt uppbyggd med driftsäkra komponenter för lång bekymmersfri användning. Lyftkapacitet 200 kg och lyfthöjd 1 500 mm.

EFFECT HAX 200

Lyfthöjd H mm 1 500

Stativhöjd, nedsänkt läge h1 mm 1 885

Stativhöjd, upphöjt läge h4 mm 2 400

Totallängd l1 mm 870

Totalbredd b1 mm 660

Svängradie (mått från styrhjul) Wa mm 800

Gångbreddsbehov* Ast mm 1 300*

*Gångbreddsbehov inkl. 200 mm säkerhetsavstånd med gaffeldimension l (hjul Ø650 mm) och 90° stapling med gafflarna i transportläge (nedsänkt läge). OBS! gångbreddsbehov enl. standard SS-EN15620. Gångbredd, hantering exkl. säkerhetsavstånd rekommenderas ej. ! Med tillbehör, annan gaffellängd och skyddstak förändras gångbreddsbehovet.

Teknisk information HAX 200

Lyftförmåga/klassad last Q

Gaffelhöjd, nedsänkt läge

Längd, gaffelrygg till centrumstödbenshjul

lastsida

Gaffeldimension s/e/l mm 25 / 50 / 650

Bredd mellan gafflar mm

Bredd över gafflar b5 mm

Gaffelvagnsbredd

Markfrigång, under stativ

Lyfthastighet, utan last/med last m/s 0,16 / 0,12

Sänkhastighet, utan last/med last m/s 0,13 / 0,16

Hjultyp stödben Polyuretan

Hjuldimension stödben mm Ø 80x30

Hjultyp länkhjul Polyuretan

Hjuldimension länkhjul mm Ø 125x32

Hjultyp drivhjul mm Gummi

Hjuldimension drivhjul mm Ø 240x60

Parkeringsbroms Mek. fotbroms

Styrsystem Länkhjul

Reglering lyft & sänk Tryckknappar

Lyftmotor kW 0,4 DC

Batteri spänning / kapacitet V/Ah 12 / 75

Laddare spänning / kapacitet V/A 12/5

Tjänstevikt, utan batteri / med batteri kg / 100

HANDY DPL 225

Plocktruck för stående däcklagring i stationära eller mobila däckställ eller däckmagasin. Inbyggd laddare.

HANDY DPL

Lyfthöjd H mm 3 000

Stativhöjd, nedsänkt läge h1 mm 1 680

Stativhöjd, upphöjt läge h4 mm 4 860

Totallängd l1 mm 1 450

Totalbredd b1 mm 750

Svängradie Wa mm 1 260

Gångbreddsbehov* Ast mm 950*

*Gångbreddsbehov inkl. 200 mm säkerhetsavstånd. OBS! gångbreddsbehov enl. standard SS-EN15620. Gångbredd, hantering exkl. säkerhetsavstånd rekommenderas ej.

Prestanda och dimensioner är angivna med reservation för tolerans.

Teknisk information HANDY DPL TYPBETECKNING

Lyftförmåga/klassad last Q kg

Lyftförmåga/klassad last Q1 kg

Lyftförmåga/klassad last Q2 kg

Tyngpunktsavstånd

Plockhöjd (Lyfthöjd, plattform + 2 000 mm) h1

undre lastplan

Lyfthöjd, övre lastplan h2 mm

Undre lastplan, nedsänkt läge h5 mm

Övre lastplan, nedsänkt läge h4 mm

Höjd mellan lastplan h6 mm

Längd lastplan I2 mm

Max axeltryck, utan last, förarsida/lastsida kg 370 / 430

Hjultyp drivhjul / Dimensioner mm

Hjultyp lasthjul / Dimensioner mm

Polyuretan / Ø 210x70

Gummi / Ø 250x100

Antal hjul, fram / bak (x = drivhjul) 1x, 2 / 2

Körhastighet lastad / olastad (H:0–500 mm) km/h

/ 6.6

Körhastighet lastad / olastad (H:500–1 000 mm) km/h 3

Körhastighet lastad / olastad (H:1 000–2 000 mm) km/h 2

Körhastighet lastad / olastad (H:2 000–3 000 mm) km/h 1

Lyfthastighet lastad / olastad Q2 m/s - / 0.225

Lyfthastighet lastad / olastad Q1 m/s - / 0.028

Lyfthastighet lastad / olastad Q2 m/s - / 0.233

Lyfthastighet lastad / olastad Q1 m/s - / 0.029

Max backtagningsförmåga, med / utan last % 5 / 8

Färdbroms Elektromagnetisk

Styrsystem Elservo

Lyftmotor S3 15% kW 2.2

Åkmotor S2 60 min kW 0.65

Batteri spänning / kapacitet V / Ah

Laddare spänning V / A

Tjänstevikt, med batteri kg

24 / 120

24 / Inbyggd

800

WHEEL TROLLEY TOWER LIFT

Wheel Trolley Tower Lift är en kompakt och platsbesparande truck för ergonomisk korrekt och säker hantering av däck och hjul i däckställ upp till 6,0 meter höga. Den kräver endast 1,5 meter gångutrymme mellan ställagen.

Uppladdningstid h 3 3

Stativhöjd, nedsänkt läge h1 mm 1595/1700/1955 1700/2230

Svängradie Wa mm 1 500 1 405

Gångbreddsbehov* Ast mm 1 930* 1 930*

Batteri (volt/amperetimmar) V/Ah 24V/210Ah 24V/210Ah

Max belastning kg 180 180

*Gångbreddsbehov inkl. 200 mm säkerhetsavstånd med gaffeldimension l (hjul Ø650 mm) och 90° stapling med gafflarna i transportläge (nedsänkt läge). OBS! Gångbreddsbehov enl. standard SS-EN15620. Gångbredd, hantering exkl. säkerhetsavstånd rekommenderas ej.

Notera Tabellerna innehåller tekniska data för standardutförande. De tekniska uppgifterna kan variera för icke standardutförande, med andra tillbehör eller andra kombinationer som visas ovan, med och utan gafflar.

Teknisk information WHEEL TROLLEY TOWER LIFT TYPBETECKNING

/ Batteri Lastkapacitet (Godslåda + gafflar + operatör)

Hjulmaterial

Maximal höjd h4 mm 4630/4985/6075 4985/7055

Maximal höjd kabin h3 mm 3200/3500/4200 3500/5000 Längd (hylla infälld)

Körhastighet (4e växeln)

Batteri (volt/amperetimmar) V/Ah 24V/210Ah 24V/210Ah

Styrsystem Elektrisk Elektrisk

Körkontrolltyp AC AC

Hållbara lagersystem till framgångsrika företag

BLS står för Brännehylte Lagersystem. Sedan 1987 har vi tillverkat olika typer av ställage och lagersystem för företag som vill optimera sin lagerlokal.

Vi är med dig från dag 1 och sätter en ära i att leverera hållbara och skräddarsydda lösningar.

Vi är sprungna ur vild natur som präglas av myrmark, skogar och sjöar. Alldeles utanför fabriken ligger Store Mosse nationalpark – Sveriges största högmosseområde söder om Lappland. Här, i småländska Kulltorp hittar du vår fabrik. BLS AB · Box 12 · 335 04 Hillerstorp 0370-30 50 00 · blsab.se

Turn static files into dynamic content formats.

Create a flipbook
Issuu converts static files into: digital portfolios, online yearbooks, online catalogs, digital photo albums and more. Sign up and create your flipbook.