November 2022 Component Manufacturing Advertiser Magazine

Page 44

A dverti $ er Component manufaCturing Serving the Structural Building componentS SinduStry The

Prestage Tabl

Capabilities*

Wall

Heights: 7' 11 ½" to 10' 3" - 12 ' 3" - 14' 3" or 16' 3" Wall Lengths: 16', 20' or 24' Pre-Stage Area: 16', 20' or 24' (matches wall length) *Subject to change without notice Why a Prestage Framing Table? The new field-tested Triad PreStage Framing Table, designed and built with customer input, can bring increased productivity to your panel shop. Triad's exclusive and unique design merges a pre- layout material-staging area with a fast and efficient framing station -- into a single unit that can assist with rapid throughput in your plant. A powerful, built-in continuous track system lifts and conveys components and material to framers ­ and then the finished panels to your next station. Initial customer field production, from a Texas plant, has shown an average of 3600 linear feet per day (8 hr shift) of framed walls in their facility! Cal I to learn more about this approach! Experience you can trust. www.TriadMachines.com I P.O. Box 130 Alda, NE 68810 I 800-568-7423 Ext. 133

Rob

Geordie

A dverti $ er Component manufaCturing Serving the Structural Building componentS SinduStry The Inside Articles 6 10 19 24 33 44 52 Anna Stamm – Advertiser Forum: Thankful for the Little Things Joe Kannapell: The Development of the Truss Plate, Part IV: Competition Intensifies Wendy Boyd – Spida USA: Reap the Rewards and Labor Savings From Wall Lines Todd Drummond Consulting, LLC: Labor Shortages Worse Than Most Understand and Automation is Not Going to Be the Cure-All Solution Glenn Traylor: Are You Removing the Connectors Carefully When Replacing Them? Tracy Roe – Eagle Metal: Having a Plan for Tomorrow Edmond Lim, P.Eng. –LimTek Solutions: A Weekend Install and a Packers Home Game
Bellian – Vekta: How Important is Optimization Carl Villella – Acceptance Leasing: Securing Funding in a Rising Interest Rate Economy Thomas McAnally – From the Road: JobLine Turns 30!
Secord – The JobLine: Resolving Our Inevitable Mistakes Lesko Financial Services Team: Fourth Quarter Arrives with More Questions and Challenges Ahead MiTek Staff: Construction Loading Francisco Hernandez –Simpson Strong-Tie: Take a Tour of Our McKinney R&D Lab Joe Kannapell – The Last Word On Pre-Plating 60 82 88 90 94 112 114 132
www.todd-drummond.com todd@todd-drummond.com (603) 748-1051 Cost Savings and Net Profit Gains that Usually take Months or Years, Can be Accomplished in Weeks or Months with TDC “I’ve been reading Todd’s articles for the last few years and have been intrigued by his view of productivity measures, so I decided to hire him to learn more about his philosophy. It was an investment well spent because I not only learned a completely different way to view labor metrics, but I came out of it with a completely different mindset on pricing, scheduling, and staffing. I highly recommend Todd’s services to take your company to the next level. The most valuable information you can get is the information you don’t know you need.” Shane Soule, President Bremen, IN Dozens of clients provided written testimonials on the TDC website. Capital Investments Checklist Equipment Buildings Land Meaningful Process Improvement The Most Advanced and Up to Date Lean Process and Industrial Engineering Methods to Significantly Improve: √ Productivity √ Quality √ Employee Issues √ Net Profits All Areas - Manufacturing, Sales, Design, and Admin.

Thomas McAnally

Stamm

20th

are the property of their respective owner or creator unless otherwise noted

Disclaimer: We reserve the right to refuse any advertisement or

that we deem not in the interest of the industry or the Advertiser. Permission to use content is the responsibility of the contributor including permissions to use any likeness of persons.

The

it at

typographical

unintentional.

32043

Advertisers Sections 4Ward Solutions Group Acceptance Leasing & Financing Acer, Inc Alpine Clark Industries, Inc. Eagle Metal Products Eide Integrated Systems, LLC | ProCut, LLC EstiFrame Technologies Fitzgerald Group HOLTEC USA Hundegger USA LimTek Solutions MiTek Panels Plus ROGworx Automation Runnion Equipment Company Simpson Strong-Tie Spida USA The Hain Company TheJobLine Timber Products Inspection Todd Drummond Consulting, LLC Triad | RUVO | Merrick Machine Vekta Automation Wasserman & Associates Wolf X Machina Wood Tech Systems ..................................................................... 17,111 ............................................. 27,82,83,96 .............................................................................................. 50,92 ............................................................................................... 22,70 ............................................................................ 8,56 .................................................................. 16,44,134 ............................... 30,58,86 .................................................................... 36,102 ................................................................................ 13,86 .................................................................................... 15,75 ...................................................................... 9,31,39,83 ........................................................................... 28,46,52 ........................................................................................ 12,112,131 .......................................................................................... 55,66 ......................................................................... 42,43 ............................................................. 13,86 ............................................................... 14,68,114,122 ......................................................................... 18,19,48,72,76 .............................................................. 9,37,87,91,113 .......................................................... 27,41,51,69,88,90,99,103 .............................................................. 32,100 ...................................................... 4,24 .................................................... 2,38,98 ............................................................................ 40,60,84 ..................................... 7,17,21,57,59,63,64,73, 77,78,81,93,97,99 ................................................................................... 51,85 ........ 21,23,29,31,37,39,41,47,49,51,54,55,57,59,62, 63,65,67,69,71,73,74,77,79,80,81,83,99,101 New & Used Equipment Saws Truss Equipment Panel Equipment Trucks & Trailers Misc. Equipment Modular Manufacturing Door | Stair | Window Equipment Monthly GIGGLES Calendar of Events Safety First Industry News Directory Hiring Zone Published Monthly Publisher
twm@componentadvertiser.org Editor Anna L.
800-289-5627 x 3 anna@componentadvertiser.org Distributed FREE Via e-mail subscription Download PDF or Read on line at www.componentadvertiser.com News of Interest and Advertising inquiries can be submitted to: anna@componentadvertiser.org An Open Forum for many sources. Deadline
of each month. Articles, Trade Names, and Logos
material
Advertiser is provided “As Is” including
errors, omissions, and mistakes both intentional and
Believe
your own risk! 30,55,64,72 Copyright 2008-2022 Component Manufacturing Advertiser The Advertiser 411 Walnut Street #12250 Green Cove Springs, FL.
no reproduction in whole or in part without permission from the component manufacturing advertiser Archive Copies Available On Line www.componentadvertiser.com InsideA dverti $ er Component manufaCturing Serving the Structural Building componentS SinduStry The ................................................................................................ 7 .............................................................................56 .............................................................................64 ............................................................................81 .............................................................................83 ..................................................................97 .................................................99 ...............................................................................101 .................................................................................110 ............................................................................................117 .........................................................................................118 .................................................................................................128 ............................................................................................130

Advertiser F Forum

Thankful for the Little Things

November is a time when we can reflect and be thankful for many things in our lives. But the truth is – anytime of year gives us reasons to be thankful for little things, even when those things are silly or trivial.

The Monkey Wrench in the Plans

For reasons unknown, when I attempted to wash dishes one Wednesday in October, I discovered that I had no hot water. Checking the water heater, I could see the little green light had stopped flashing, so I knew the pilot light was out. I knew to turn the knob to off, then turn it to pilot, then push and hold it, use the clicker, and wait. But, here’s what I didn’t know. Did I need to hold it longer? Did I need to click it again? What secret part of the sequence was I missing when it didn’t fire back up?

Looking for Wise Counsel

I remember very well playing assistant when my father was lighting the pilot on our water heater… but that was decades before all of today’s fancy controls. He used the old-fashioned match attached to the end of a wire, because lighting the pilot meant working for it. So, because I can no longer simply pick up the phone and call him, I decided to consult the internet. Nearly instantaneously, many options appeared and I chose a YouTube video by a friendly looking man who promised to cover all of the details.

If you’ve been conjecturing as to what my problem was, the answer is – when they say you may have to hold it for longer than a minute, they mean it. Plus, if you try more than once, the safety features may reset and you’ll have to give it 10 minutes rest before trying again. On my next attempt, I held that button down for an eternity and was rewarded with the flashing green light!

What We Take For Granted

So yes, when I heard that gas fire up, I was very thankful. I was thankful for the internet. I was thankful I would soon have hot water. I smiled remembering that time with my father. And I was reminded once again not to take the little things for granted too.

PHONE: 800-289-5627 FAX: 800-524-4982Read/Subscribe online at www.componentadvertiser.com Don’t Forget! You Saw it in the Adverti$$er November 2022 #14280 Page #6A dverti $ er Component manufaCturing mThe

2000 Automated Saw

• 3 Operating Modes: Auto, SemiAuto & Manual

• All 20 Axes of Movements are Computer & PLC Controlled

• Comprehensive Setup Screens Display Each Piece with Setup Data

• Anti-Collision & Optimizing Programming

• Auto Calibration Productivity & Time Tracking

• Maintenance Diagnostics

• Variable Speed Conveyor (0-50 Flights per Minute)with Powered Hold Downs

• (1) 30” x 80 Tooth Blade (27 3/4” Scarf on PAE)

• (4) 16” x 40 Tooth Blades (13 1/2” Scarf on Centerline)

• Pneumatic Blade Brakes on all 5 Blades

• 16 1/2”

PHONE: 800-289-5627 FAX: 800-524-4982Read/Subscribe online at www.componentadvertiser.com Don’t Forget! You Saw it in the Adverti$$er November 2022 #14280 Page #7A dverti $ er Component manufaCturing mThe 800-382-0329 | www.wasserman-associates.com
Monet DeSauw DeRobo
Linear Saw • Automated (Truss Design Software Download) or SemiAutomated (Touch Screen Entry) Operation • All Movements are Computer & PLC Controlled • Comprehensive Setup Screens Display Each Piece with Setup Data • 22” x 40 Tooth Blade on PAE Cut 1 or 2 Boards up to 20’ (2 Second Plunge Cut) • Cut Chords, Webs, Rafters, Wedges & Stair Stringers • Cut Long Scarfs by MultiPlunging • Servo Positioning on Infeed, Angle & Outfeed Pusher • Over Travel Protection • Ink Jet Printer • Lumber Optimization Program • Belt Waste Conveyor • 480 Volt / 3 Phase / 60 Amp • Includes 5 Day Onsite Installation & Training • Optional Monet DeSauw Live Deck, Bunk Feeder & Incline Belt Waste Conveyor FOB MO Call For Pricing
Monet DeSauw DeSawyer
Touch Screen User Interface with Backup Mechanical Controls
to 20’ Length Capacity (11” Minimum on Square End Blocks) • Vibrating Waste Conveyor Under Saw • 480 Volt / 3 Phase • Includes 4 Day Onsite Installation & Training • Add $2,900 for Extra Set of Blades • Optional Live Deck, Label Printer, Ink Jet Printer, Catcher Display & Incline Belt Waste Conveyor. Call For Pricing FOB MO NEW! NEW! NEW! NEW SAWS! Buy Factory Direct From Wasserman & Associates at the same price as the Manufacturer, and get the added support and care you need to be up and running FAST! WE’LL EVEN HELP SELL YOUR USED EQUIPMENT TOO! Monet DeSauw FWA 500 Floor Web Cutter • Push Button Powered Blade Angulations • Single Push Button Setting for 2 Blades per Side • Electronic Digital Readouts • Backup Mechanical Indicators • Cuts 4 Angle Webs, Cantilever Webs (2 piece webs) & Square Blocks • Magazine Lumber Feed for 3x2, 4x2 and 6x2 Lumber 12 1/2” to 48 1/2” Length Capacity (7” Minimum on Square Blocks) • 60 Pieces per Minute • (4) Internal 16” Blades & (1) External 16” Cut-Off Blade • Pneumatic Blade Brake on External Blade • Dust Hoods • Belt Waste Conveyor (under saw) • Add $4,200 for 12’ Incline Waste Conveyor (adjacent to saw) • Add $1,900 for Extra Set of Blades • 480 Volt / 3 Phase FOBMO Call For Pricing
Lumbermater® is a registered trademark of Illinois Tool Works, Inc., or ITW. EZ-SET AUTO JIGGING EXCLUSIVE & PATENTED DESIGN CONSIDERING EQUIPMENT? CONSIDER CLARK. Automatic Truss Jigging System to drastically reduce setup times. Allows for 100% embedment on the table, with top & bottom chord pucks in the same slot. TopSider or standard configurations available for conventional kick-leg, walk-thru, or our new trackless 8' and 10' continuous table systems. Systems for other roller & hydraulic gantries are coming soon. Available in new machine installations or for retro-fitting your existing table. The TopSider is exclusively applicable for “kick or flip leg” style truss presses such as the Tri-Axis & Lumbermater® EQUIPMENT FOR TRUSS & COMPONENT MANUFACTURERS WWW.CLARK-IND.COM / GENERAL@CLARK-IND.COM LOCAL 417-235-7182 • US TOLL FREE 800-743-9737 FEATURES / APPLICATIONS • Capable of 100% On-Table Nail Plate Embedment • Two Pucks Per Slot • 24", 26", and/or 30" Spacing • Compatible with all current major design software • Multiple Simultaneous Layouts
PHONE: 800-289-5627 FAX: 800-524-4982Read/Subscribe online at www.componentadvertiser.com Don’t Forget! You Saw it in the Adverti$$er November 2022 #14280 Page #9A dverti $ er Component manufaCturing mThe 916-508-3558• ww w.thehaincompany.com SeetheStudDrillerinaction! Goto https://youtu.be/AnODX5vPesE forademonstration Motor: HeavyDuty5HP-3phase-220vor440v(Pleasespecifywhenordering) MotorcarriagebearingandspindleassemblymountedonBlanchardgroundsteelplate LinealmotionishardenedandgroundVbearingsandrails BlockSizes: 2x4through2x12infiniteheightsettingtocenter AirSupply: 100psi10CFM Drills: 2wing3/4'”CarbideTippedcanaccommodatesmallerorlarger Spindles: AlloySteelpolishedandgroundprecisionshafting Frame: 2"SteelWithPowderCoatFinish Covers: 10Gauge(1/8"Thick)Aluminumremovable Dimensions: Height-60inches,Width-33inches,Depth-33inches Shippingweight: 750lbs.-(Includingcrate) MADEINAMERICABYAMERICANS That'sallthetimeittakes todrillstudsforrunningRomexorotherelectricalwireinthewallpanels Work Smar ter 2Seconds

The Development of the Truss Plate, Part IV: Competition Intensifies

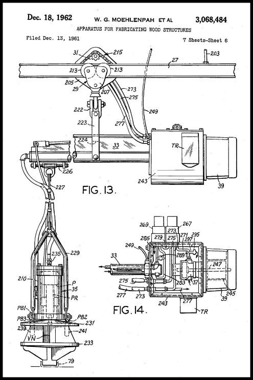
Cal Jureit’s impressive debut at the 1958 NAHB Show, lumberyards and builders across America were anxious to start trussing, but they encountered several obstacles. Their deluge of inquiries couldn’t all be answered, and most were far away from the South Florida source of supply. If they saw an opportunity to enter the plate business, they faced the formidable obstacles of Jureit’s and Sanford’s patents. And for those who were able to obtain plates, they had to seek out or develop their own machinery. Of the several manufacturers who answered this call, one individual would have the most long-lasting impact, namely, Walter Moehlenpah in St. Louis, Missouri.

AfterMoehlenpah’s mechanical engineering expertise enabled him to gain a Vickers franchise, supplying parts and servicing hydraulic equipment in the Midwest. In the late 1950s, his Moehlenpah Engineering business was called in to fix a truss machine at Boise Cascade’s lumberyard outside St. Louis. After addressing the problem onsite, Moehlenpah’s technician brought back news of the chance to service machinery in a brand-new industry.

Moehlenpah was quick to capitalize on this opportunity, commissioning a veteran mechanical engineer, George Pallme, who had retired from one of his nearby customers, McDonnell Aircraft Corporation. Pallme’s first iteration, the Mark 6 Mono-Press, consisted of a C-shaped frame suspended from an overhead power unit. The key to this design was the counterbalancing of the weight of the press by the weight of the hydraulic motor and fluid reservoir, a straightforward task for Pallme, an aircraft designer. The press itself was a relatively lightweight aluminum casting, aimed at trusses with 2x6 or smaller chords. In 1961, Moehlenpah applied for a patent, which he received a year later. The Mono-Press became the entry point into the truss business for hundreds of lumber yards because it readily fit into a typical 50-foot-wide lumber shed, taking up minimal floor space. Despite the immediate success of the Mark 6, Moehlenpah didn’t stop there – he kept expanding the reach of the Mono-Press (literally and figuratively) and at the same time stretching his reach into the truss plate business.

PHONE: 800-289-5627 FAX: 800-524-4982Read/Subscribe online at www.componentadvertiser.com Don’t Forget! You Saw it in the Adverti$$er November 2022 #14280 Page #10A dverti $ er Component manufaCturing mThe Continued next page

Moehlenpah would often say, using a razor and blade analogy, that he “could make a thousand dollars selling a machine (the razor), but he would make much more if he got a nickel every time it pressed (the blades).” During the early development of his Mono-Press, Moehlenpah also searched for a source of truss plates. He first attempted to buy them from Jureit but balked at the hefty premium over steel prices that Jureit had proposed. That encouraged Moehlenpah to begin working on his own design with a local machine shop. Then Moehlenpah gained access to a plate very similar to one developed by Bill Black Sr., father of Bill Black Jr., who later founded Tee-Lok. Moehlenpah licensed it from W.B. Atkins of Timber Truss Connectors, Inc. in January of 1961, but he didn’t produce it because he had already applied for his own patent. In October 1962, Moehlenpah was awarded a patent on his own design, but he was promptly sued by Gang-Nail, as Atkins had been, in what would become the court case of the century for the plate business.

During the time Moehlenpah was getting into the business, at least a dozen other companies were also seeking entry. While South Florida was the hotbed, players in Detroit, Chicago, Pittsburgh, and Colorado Springs joined the fray. All would eventually have to surmount patent barriers, but their most immediate challenges were brought by building inspectors, who found no guidance on plated trusses in their Codes. The most vocal of these were officials of the Federal Housing Administration (FHA, which is now HUD), the only Code body that had national oversight. FHA had requested that the industry develop and submit a uniform design criterion for plated trusses. After receiving only sporadic individual responses, FHA placed a moratorium on plated truss use after July 31, 1960, unless acceptable design standards were submitted. Since FHA-backed mortgages constituted a large share of new home construction, this decree threatened an entire budding business, then in its infancy.

Next Month: Frenetic First Get-Together

Since 1970, Joe Kannapell has worked as programmer, Chief Engineer, Marketing Manager, and Sales VP for MiTek, plus 7 years at truss plants, retiring at the end of 2020.

PHONE: 800-289-5627 FAX: 800-524-4982Read/Subscribe online at www.componentadvertiser.com Don’t Forget! You Saw it in the Adverti$$er November 2022 #14280 Page #11A dverti $ er Component manufaCturing mThe
INSTALL MORE SQUARE FEET IN A FRACTION OF THE TIME COPYRIGHT © 2020 MITEK INDUSTRIES, INC. ALL RIGHTS RESERVED IDEAL FOR LARGE RESIDENTIAL OR MULTI-STORY PROJECTS → Prefabricated to meet builder’s specifications → Ability to be sheathed with most flooring surfaces → Utilizes top chord support for ease of installation → Allowances for deflections, reactions, plumbing locations, waste and duct chases at the design stages Contact your Sales Representative or Contact MiTek at 800-325-8075. FLOOR CASSETTES SAVE TIME ONSITE AND SHORTEN THE INSTALLATION CYCLE Open web design for easy installation of HVAC, Electrical & Plumbing Crane onsite and install in minutes Open web trusses eliminate the need for soffits and dropped ceilings, providing new design possibilities Safe to walk on immediately, improving safety at heights Reduced onsite storage

Fitzgerald Group, LLC

1995 Koskovich Auto Omni Component Saw

1995 Koskovich Auto Omni saw, S/N AO950056 4-blade automated saw includes [1] 29 inch blade and [3] 19 inch blades. Includes scrap incline. Fully automated setup with full power length and all axis angulation, single sided setup from operator console, 2×3 through 2×12, 12 degree minimum angle to -71.6 maximum angle. 20’ to 2′-4” @ 90°/90°, includes owner’s manual and any available spare parts including [6] spare blades. 208/240/480 volt, 3 phase, 100 Amp, and 120 volt, 1 phase electrical, 100 Amp electrical required, 90 psi air.

$14,990 FOB SD Wood Tech Systems 765-751-9990 www.woodtechsystems.com

Safety Speed Manufacturing Model 7400 XL Panel Saw

Safety Speed Manufacturing, model 7400 XL*, vertical panel saw, 3 HP induction motor, 64 inch crosscut, 2 1/8" maximum thickness, accuracy within 0.005 inches, 13 foot long welded steel frame with integrated stand and linear V-guides, enclosed counterweight system, adjustable vertical and horizontal rules. Quick changes from vertical

horizontal cutting. Includes machined aluminum material rollers, hold down bar, wheels, quick stop gauges and material hold downs. Dust collection ready. Options available include digital readouts for vertical cuts, automated length measuring, laser guide, stop bar, vacuum and midway fence. 208-230/460 volt, 3 phase electrical (208-230 single phase, 2 HP power optional +$100.00).

$13,149 Base, FOB MN. Wood Tech Systems 765-751-9990

www.woodtechsystems.com

not cost

Group as

any of

more with

contact. In

advantage of our Partner Relationships

will receive the

Services

offered elsewhere.

www.FitzGroup.com

PHONE: 800-289-5627 FAX: 800-524-4982Read/Subscribe online at www.componentadvertiser.com Don’t Forget! You Saw it in the Adverti$$er November 2022 #14280 Page #13A dverti $ er Component manufaCturing mThe SAWS
National Crane 680-HTM Tractor
Mount, Multiple Units Available Call Dan at 800-824-6704 www.runnionequipment.com • 20 ton capacity • 80’ boom – 90’ tip height • Out and down outriggers • Single front outrigger for 360 degree stability • Continuous rotation • Adjustable swing speed control • 5th Wheel • Freightliner and Peterbilt • OSHA and DOT Certified
to
NEW! A dverti$er Component manufaCturing S erving the S tructural B uilding c omponent S i ndu S try The Used Razer S5 Linear Saw S5 Razer saw modules configured for either left-to-right cutting and/or “Z” shaped layout. AIT auto infeed tables. Vekta user interface software complete with the full version of the optimization algorithms. Stack cutting and side by side cutting Contact for Pricing Eide Integrated Systems, LLC 612-521-9193 www.eidemachinery.com
SpeedCut Speed Rafter Cutter
Saw SpeedCut
model SRC, Speed Rafter
Cutter – One person rafter cutter can make single or double compound cuts and simple cuts on either end of the rafter. Features twin H.D. Milwaukee worm-drive circular saws, 10’ infeed conveyor, turntable system allows for precise angle cuts and easy set-up, 120 volt, 1 phase, 90 psi air required. $2,990, FOB WA. Wood Tech Systems 765-751-9990 www.woodtechsystems.com
a blending of excellent services and products, with answers that work...!© Not producing the results you need or want – getting conflicting info about what to do and the equipment and the systems you may need? Before you Buy - Ask yourself –do I need a salesman or a guide? If you want an Independent Guide that has your bottom-line results as the #1 priority, Call Me. If the salesman will do - we'll talk later... Also, don't let Financing Deals influence your best solution. FitzGroup can arrange – Zero down & No payments for 90 Days! Please be assured that your investment with
our selected partners will
one penny
the Fitzgerald
your purchasing
addition, you
full
and
NOT
RFitzgerald@FitzGroup.com 719.528.5445

Leverage the power of a strong network.

As a truss component manufacturer, you already know Simpson Strong-Tie as a reliable partner in the construction industry. But our connections go beyond the products we make. Our people can help reinforce your network of builders, engineers, contractors, equipment manufacturers and suppliers, strengthening your existing relationships. Also, our open-platform software is integrated with the most widely-used systems, and can be customized to work with the machinery you choose. Backed by our expert service and support, you’ve got all the resources to succeed.

Grow your business ecosystem with a well-connected partner. To learn more, visit our website at go.strongtie.com/componentsolutions or call (800) 999-5099.

© 2022
Simpson Strong-Tie
Company Inc. TRUSS23PART
Simpson Strong-Tie® Building Technology | Software and Service for Smarter Business
Learn More About Our W all Pan e l F u nctionalit y at Ea gle #TIMETOBUILD THE NEWEST PANEL DESIGN PLATFORM AVAILABLE EMPOWERING GREAT COMPONENT MANUFACTURERS TRUEBUILD ® LAYOUT WITH PANEL DESIGN FUNCTIONALITY WAS WRITTEN FROM THE GROUND UP TO DELIVER COMPLETE MODEL CONTROL TO PANEL DESIGNERS.
PHONE: 800-289-5627 FAX: 800-524-4982Read/Subscribe online at www.componentadvertiser.com Don’t Forget! You Saw it in the Adverti$$er November 2022 #14280 Page #17 THE TOTAL SOLUTIONS EXPERTS FOR ALL YOUR OFFSITE & COMPONENT MANUFACTURING NEEDS 4W4WARDCONSULT.COM INFO@4WARDCONSULT.COM 800-382-0329 | www.wasserman-associates.com 2007 Hundegger SC-1 Linear Saw • Servo Driven Single Blade Linear Saw • Automated Cutting with Software Download to Operator Console • 24' Capacity Loading Conveyor System • Automated Infeed Wheel • Automated Clamping & Positioning System • Angle & Bevel Drive for Roof Truss and Floor Truss Cutting • 1 1/2" x 17 3/4" Maximum Lumber Size (can stack 4 high) • Rea Ink Jet Printer (does not work) • 24' Capacity Outfeed Table • 6 Arm Storage Deck (adjacent to saw outfeed table) • Waste Conveyor (under saw, parts to the rear) • Excludes Incline Waste Conveyor • A/C System for Control Cabinet • 480 Volt / 3 Phase • Saw will need a tune up when installed at buyers location for 100% cutting accuracy • Video available upon request NOW $74,900
PHONE: 800-289-5627 FAX: 800-524-4982Read/Subscribe online at www.componentadvertiser.com Don’t Forget! November 2022 #14280 Page #18A dverti Component manufaCturing mThe

Reap the Rewards and Labor Savings From Wall Lines

From the BCMC 2022 event, in which we displayed our Framing Line and several other pieces of machinery, it became apparent that our customers are hunting for ways to save labor and costs – which includes producing wall frames for their markets. We were overwhelmed in the Spida booth with questions on how our customers can introduce a frame line into their factory and start production on their new wall line with a minimum of fuss, and then of course start reaping the rewards.

Each customer’s requirements are different – but we have the solutions to suit almost any situation. Is your business dominated by raking frames or are these “one-offs” that clutter up the production floor? Our Raking Wall Extruder will provide your solution with its ability to do raking frames and also produce all of your common walls, fast and accurately, with a minimum of labor. Do you only get asked for common walls? That’s no problem, and a Wall Extruder is what you need. You can increase your production capabilities with this piece of machinery, then bring your sub-components in at the start of the line or further down the line, whichever you require.

How it is able to meet all of your needs? You simply load the top and bottom plates on the Wall Extruder, receive the first components of the wall from the conveyor, then place at the locator pins, the operator holds the fire buttons so that the nails are fired automatically through the plates into the component, then the wall advances automatically –repeat until the wall is complete. Of course, this seems simple, but there is a lot going on under the hood! Spida technology and software does the heavy lifting here to know placement and keep things running smoothly.

PHONE: 800-289-5627 FAX: 800-524-4982Read/Subscribe online at www.componentadvertiser.com Don’t Forget! You Saw it in the Adverti$$er November 2022 #14280 Page #19A dverti $ er Component manufaCturing mThe
Continued next page

But the Wall Extruder is not our only machinery that delivers labor savings and technology. Nailing C Corners and L Studs can be time-consuming and cumbersome for operators, so the Stud Extruder is your go-to machine for these. This machine nails together a variety of combinations including C and L Studs, double and triple studs, fire and cabinet blocking. Computercontrolled and driven by the same file as the Extruder, the component is made, popped onto the curved conveyor, and delivered to the Extruder for placement, all with an accuracy for both construction and staging that couldn’t be simpler.

Prebuild your window and door openings on a Spida Sub-Assembly Table, then simply place them on the chain conveyor to be loaded over the side of the Extruder via a driven and pneumatically lifted roller bench, so that the operator places them into the wall ready to be nailed. At all times the system is controlled by the extruder computer software – get ready to increase your production, just with these machines.

Looking at this system as a whole, and as always depending on complexity, we see our customers building 100–170 l/f of walls per hour.

And, when it comes to sheathing, Spida has a machine for this in our arsenal as well. With one touch, the now produced wall continues through the Sheather to be nailed off with the studs clamped and straightened to reduce shiners. This set-and-forget function, after the sheathing has been tacked in place, is one of a kind and means your labor costs are set to zero. This cost savings cannot be ignored.

Spida Wall Lines are innovative, fast, and accurate, delivering a true labor-saving exercise for your bottom line. Explore the opportunities by talking to one of our team to find the system for you. Don’t forget that the Spida innovation doesn’t stop there – Floor Truss equipment, Automated Roof Truss lines, and amazing Cutting solutions are part of the whole truss and frame supply package solutions that we specialize in at Spida Machinery. Don’t wait any longer to find your factory solution.

PHONE: 800-289-5627 FAX: 800-524-4982Read/Subscribe online at www.componentadvertiser.com Don’t Forget! You Saw it in the Adverti$$er November 2022 #14280 Page #20A dverti $ er Component manufaCturing mThe

Terminailer XP

Don’t just do it, nail it. It’s a brand new day in wall-panel production, with a whole new way of doing things better.

Terminailer®, a revolutionary, event-driven, nailing machine that completely defies any preconceived notions about sub-component assembly.

Terminailer all but shatters the stereotypical myth that subcomponent equipment is essentially peripheral – unimportant. And it does so by quickly and accurately driving far more framing nails in your wall panel jobs than ever before. Whether in your shop or in the field, one operator sets the pace for production and quality. And that reduces labor costs and other aspects of overhead.

Terminailer is an event-driven, sub-component assembler that will quickly and accurately drive 30% to 70% of the framing nails in any wall panel job. In your shop or in the field, one operator sets the pace for production and quality. The Terminailer functions independent of design software, requires zero set-up time when switching between any configuration, and requires no special operator training.

The Terminailer is easy to move around the shop so it’s location can evolve as your shop evolves. With all of the nailing occurring in the closed main chamber, nail injuries and nail location miss-fires are eliminated, making your plant that much safer.

With nearly ten years of development from people that know

it is assembled to exacting standards, well supported, and it is easily maintained with shelf-item parts. Terminailer: vetted, tested, and ready to drive maximum productivity for you. Be sure to check out our videos below for a quick review of this revolutionary

PHONE: 800-289-5627 FAX: 800-524-4982Read/Subscribe online at www.componentadvertiser.com Don’t Forget! You Saw it in the Adverti$$er November 2022 #14280 Page #21A dverti $ er Component manufaCturing mThe 765-751-9990 www.woodtechsystems.com NEW!
Price: $209,000 FOB: MN
machinery
machine! 800-382-0329 | www.wasserman-associates.com Equipment Wanted! Saws • Automated Component & Linear Saws (2010 & Newer) • Monet DeSauw or TimberMill Manual Component Saws • Floor Web Saws • Spida (Apollo) Saws with Truss Automation • Bunk Cutters Truss Equipment • Roller Gantry & Hydraulic Press Systems • Finish Rollers • Truss Stackers • Floor Truss Machines • Lumber Splicers • Jack Tables • C-Clamp Presses Trucks & Trailers • Stretch Roll-Off Trailers • Gooseneck Roll-Off Trailers Modular Equipment • Pacific Automation or MiTek Mobile Home Press Contact Wasserman & Associates for a Fair Market Value Assessment of your Used Equipment Operational, Needs Work, and Parts Only equipment will be considered!
IntelliVIEW Suite Manage. Design. Build. iCommand Manage projects, customers, materials, pricing & inventory iModel Design truss layout & profiles iDesign Optimize material usage & engineer trusses iPanel Design wall layouts, panelize, bundle, break & stack eShop Maximize crew productivity & improve manufacturing efficiency The industry’s most powerful integrated component design, engineering, and management software for steel and wood-framed structures. The IntelliVIEW Suite is a fully integrated software solution for the layout and design of a building’s rough framing elements—including roof and floor trusses, wall panels, solid sawn, EWP, sheathing and various ancillaries. The IntelliVIEW Suite provides the industry’s most complete analysis of the design, cost information and bill of materials—promoting increased profits by reducing plate and lumber use. Ask those who know. They’ll tell you about the people at Alpine who make a difference. BUILD MORE. alpineITW.com | 800.521.9790

2002 Koskovich Auto Omni 5-Blade Component Saw

2002 Koskovich Auto Omni component saw, 5-blade automated saw includes [3] 20 inch blades, [1] 30 inch blade, [1] 12 inch blade and shaker waste conveyor with factory side pans. Fully automated setup with full power length and all axis angulation, single-sided setup from operator console, 2×3 through 2×12 and 4×2, 20’ to 9” @ 90°/90°, Exair cabinet coolers, remote monitor, no spares. In operation until Aug. ’21. 208/240/480 volt, 3 phase, 100 Amp saw electrical required. 120 volt, 1 phase PC electrical required.

$13,970 NOW $9,997 FOB OH Wood Tech Systems 765-751-9990 www.woodtechsystems.com

Safety Speed Cut Model 7000 Panel Saw

Safety Speed Manufacturing model 7000, vertical panel saw, 3 HP induction motor, 64 inch crosscut, 2 inch maximum thickness, accuracy within 1/64th of an inch, 10 foot welded steel frame with integrated stand and linear V-guides, enclosed counterweight system, adjustable vertical and horizontal rules. Quick changes from vertical to horizontal cutting. Includes machined aluminum material rollers, hold down bar, wheels, quick stop gauges and material hold downs. Dust collection ready. Options available include lower frame extensions, digital readouts, laser guide, stop bar, vacuum and midway fence. 208-230/460 volt, 3 phase electrical (208-230 single phase, 2 HP power optional +$100.00). $9,332 Base, FOB MN.

765-751-9990

www.woodtechsystems.com

The L-M Verticut 2000 is a true Precision End Trim (PET) saw that is capable of holding a 1/16th accuracy all day long. Made in the USA, the V2k comes equipped with a 15 HP 460/230 volt High-E three phase TEFC motor driving a Double ended Premium “Stellite” inlaid saw bar with a spring loaded chain tensioner and an automatic oiler to lubricate the .404 pitch custom profile semi chisel saw chain.

Rather than a single pivot-point, the saw assembly is mounted on a mandrel box that is guided by cam followers on a steel frame that is raised and lowered by a hydraulic cylinder. A console with the saw controls moves with the saw assembly along a track positioned using a manual “V” wheel geared drive or optional Hydraulic drive

The V2k is unlike other imported systems that are basically a Portable Yard Saw on a cutting rack with a best cutting accuracy of +/- 1/8″ (meaning up to ¼” accuracy variance between units of lumber). The V2k from L-M provides +/- 40 thousands, assuring consistent PET precision from unit to unit.

with unlimited phone assistance and technical help. Their team has traveled the country working on crosscut saws for many years and they know their equipment inside and out. L-M is a familyowned business that prides themselves in doing the job right and building long term

Another advantage L-M has over the competition is their commitment to personal

that is vital to their business: “Built to last as long as our customers since 1946”.

PHONE: 800-289-5627 FAX: 800-524-4982Read/Subscribe online at www.componentadvertiser.com Don’t Forget! You Saw it in the Adverti$$er November 2022 #14280 Page #23A dverti $ er Component manufaCturing mThe SAWS
NEW!
765-751-9990 www.woodtechsystems.com
service
relationship
Price based on configuration FOB OR New L-M Equipment Verticut 2000 PET / Bunk Saw Station NEW! USED ALS 276 LINEAR SAW SERVO PARTS & COMPUTER • Used Servo Star CR10251 (2 Available) -$1,100 Each • Used Servo Star CR06251 (2 Available) - $1,100 Each • Used ALS Windows XP Computer - $1,500 • Used parts were removed in "working condition" from the ALS 276 during a saw upgrade FOB AL Wasserman & Associates 800-382-0329 www.wasserman-associates.com

Labor Shortages Worse Than Most Understand and Automation is Not Going to Be the Cure-All Solution

Time and again, executives state they are having problems finding enough qualified people to staff all the needed positions within their company. The truth is that this problem will get much worse, and you need to understand why to fix it.

TDC has found that companies with the best employee practices, low turnover, and very few unfilled positions have the highest profit percentages of sales among their peers, regardless of their automation within their manufacturing. I have seen their P/L statements, and it is not even close. On average, it is 5 to 10 points better. Conversely, the companies with poor employee practices have the worst net profits of their peers, and yet again, the numbers are not even close by at least 5 to 10 points below the average. (Points, not percentages.)

Why are the available labor shortages happening? There are four main reasons, but the number one problem is that 400k fewer new workers in the U.S. are coming into the labor market this year than are leaving. For the next ten years, the problem grows upward towards 900k per year with fewer workers coming than are leaving in the U.S. The problem as a percentage of the total population is even worse for Canadians. (Source for graph: Peter Zeihan Kern County Energy Summit)

The second problem is that fewer people, as a percentage of the total available, are willing to participate in the labor force for various reasons. According to the U.S. Bureau of Labor Statistics, the labor participation percentage is projected to be less, not more.

So not only do we have a shrinking labor force, fewer of the remaining are willing to be employed for various reasons.

PHONE: 800-289-5627 FAX: 800-524-4982Read/Subscribe online at www.componentadvertiser.com Don’t Forget! You Saw it in the Adverti$$er November 2022 #14280 Page #24A dverti $ er Component manufaCturing mThe
Todd Drummond
Continued next page

An additional complication, the third reason, is not being openly talked about in the employment availability discussion – a large portion of the construction workforce needs to be physically healthy to perform the tasks required for the necessary work. So not only are people less willing to work, many, as much as 42%, are not able to perform the tasks needed within the construction industry. Certainly, much of the work that is in the construction industry does not need to be performed by an athlete, but let’s be honest about many of the very real physical needs within our industry.

The last reason for the labor shortage is a fun fact that most employers don’t know. The “higher education” push has been too effective for the workforce needed. Of the U.S. labor force of 140.7 million adults, approximately 69% have a college education. Of the approximately 9.2 million job openings, only 3.2 million (34.7%) needed any college education. There is a natural resistance for anyone with higher education to perform a non-college-educated job position.

The second problem concerning the participation rate needs to be further expanded upon in relation to the education level of the workforce needed.

Associate degree level has a 63.1% workforce participation rate. Those with a bachelor’s or higher education have a 72.3% participation rate.

The numbers look far worse for those without any college, which is 31% of the total workforce. Here, it’s a 55.9% participation rate for those with a high school diploma and only 44.1% for those who never graduated from high school.

In Sept of 2021, there was a need to fill approximately 9.2 million job openings. Of the 9.2 million openings, 6 million were nondegree job openings. Yet there were only 3.39 non-college-educated potential workers available. And no, legal or illegal immigration numbers into the U.S. are not close to filling those open positions. (Source of information for Graphs A and B: The Demographic Drought, 9/2/21, Author and Sr. Labor Economist Ron Hetrick)

PHONE: 800-289-5627 FAX: 800-524-4982Read/Subscribe online at www.componentadvertiser.com Don’t Forget! You Saw it in the Adverti$$er November 2022 #14280 Page #25A dverti $ er Component manufaCturing mThe Continued next page

Automation and labor issues. Many believe that, somehow, a company can invest a lot of capital into the available automation to manufacture roof and floor trusses to markedly reduce the needed personnel within their company. The answer from the leading truss guru lean manufacturing industrial engineering expert, yours truly, is a definitive: no, you cannot. And if you cut back on the number of personnel in many areas, your company will suffer lost sales and net profits. TDC has witnessed this in more than a few companies.

Yes, some tasks of material handling may reduce the headcount by a few personnel, but as far as the manufacturing process for wood trusses, the answer is still no. Current robotic automation for wood truss automation assembly is overrated and is simply not practical. TDC has yet to witness a fully automated truss system that significantly reduces the total labor workforce needed while maintaining or improving the total output worth the capital investment.

TDC has conceptually developed a practical and workable automation assembly roof truss system that would almost double the output of most gantry tables. Yet, no one has taken up my offers to help develop the automation seriously. If your company has the means to develop robotic automation and is seriously interested, contact me.

Those who believe they can reduce the number of personnel on the assembly tables falsely believe labor savings based on board footage (B.F.) per work hour rates. For every needed assembler on a wood table, the rate is approximately $3k to $3.5k in sales per shift. Translated, this means that when there are only two roof truss assemblers when there should be three, the company loses $3 to $3.5k in additional sales per shift per workstation. For more about this subject, see How to Lose Millions of Profits with Linear Saws and Two-Person Crews.

For all the wood truss manufacturers still using B.F. or other non-work-minute estimations, such as piece count with an average setup time applied to each piece, please see Estimating Truss Labor Using Board Footage Versus Proper Man-Minute Time Standards.

How does automation investment make sense to reduce labor? Automation within the truss manufacturing process and in the design/admin process can, if done correctly, dramatically improve productivity and quality for the same amount of labor. The takt time, units per hour rate greatly enhances the amount of product being produced for the same amount of labor. It can also improve quality and the learning curve to get new workers up to speed. It is not the magic pill to reduce the total number of personnel unless your company wishes to reduce the total sales output. Reducing the number of personnel and improving the output per labor hour are not the same thing. Sometimes one must employ more personnel to enhance the units per labor hour. And just because your company may have a lot of automation does not mean you can fill those positions with warm bodies and not expect output and quality to suffer, which it seriously would. Too many highly invested companies only operate at about a 60% efficiency rate because of the labor practices.

As stated in my October article, Including Meaningful Process Improvement on Your Capital Investment Checklist, “Over the coming decade, the companies that survive and prosper will only be those with strong and healthy H.R. management practices.” This article should convince your company to take best-in-class H.R. practices seriously. Automation is not going to be good enough. And if you want to review your company’s labor management practices, TDC can help.

PHONE: 800-289-5627 FAX: 800-524-4982Read/Subscribe online at www.componentadvertiser.com Don’t Forget! You Saw it in the Adverti$$er November 2022 #14280 Page #26A dverti $ er Component manufaCturing mThe
Continued next page

The team of TDC is your best source for learning about proven and practical lean manufacturing best practices combined with industrial engineering principles to keep your company at the leading edge of competitiveness. No one is better at providing your team with proven results for good employee practices, pricing, truss labor estimation, and so many other best-in-class practices. TDC’s tailored solutions are for the client’s specific needs. Go beyond the typical software and equipment vendor recommendations for your operations and do what many have dared to do. Embrace the Drummond Method, and your company can experience cost savings, and net profit gains that usually take months or years can be accomplished in weeks or months, resulting in an average of 3 to 6 point net profit gains for CMs. All areas are addressed, not just the manufacturing. Please do not take my word about TDC’s services, though. Read the public testimonials many current and past clients with decades of expertise and experience have been willing to give: https://todd-drummond.com/testimonials/.

Website: www.todd-drummond.com

Phone (USA): 603-748-1051

E-mail: todd@todd-drummond.com

Copyrights © 2022

PHONE: 800-289-5627 FAX: 800-524-4982Read/Subscribe online at www.componentadvertiser.com Don’t Forget! You Saw it in the Adverti$$er November 2022 #14280 Page #27A dverti $ er Component manufaCturing mThe
Start smarter... Grow faster... Achieve more... cvillella@acceptlease.com | www.acceptlease.com 894 Beaver Grade Road, Suite #304 - Moon Township, PA. 15108 Phone: 412-262-3225 Fax: 412-262-1154 Keep More of Your CASH Eliminate Yearly Financial Reporting Low Fees Fixed Payment Programs No Additional Collateral Now offering short term Working Capital Loans “Serving the Component Industry Since 1996” Start smarter... Grow faster... Achieve more... 800-289-JOBSJobLine.com, inc. Time To Hire? We’re here when you need help! visit: www.thejobline.com email: twm@thejobline.com STRICTLY CONFIDENTIAL! The
One month after installing a Double Lumber PickLine to feed two TCT Linear Saws: "We are getting 3,000 to 5,000 bdft more each saw, than we were getting before the install. We have shut down one Cybersaw and one TCT chord saw. This equals about 3 less people 10 hours, and 2 less forklifts 10 hours. Overall, it is a major improvement to our operation. We hope to have the chance to run it two shifts to further accelerate the payback.” Tom
LimTek Solu�ons Inc. 6021 Yonge St., Unit 1019 Toronto, ON M2M 3W2 Tel: (416) 888-4457 Edmond.Lim@LimTekSolu�ons.com LimTekSolu�ons.com Edmond.Lim@LimTekSolutions.com
PHONE: 800-289-5627 FAX: 800-524-4982Read/Subscribe online at www.componentadvertiser.com Don’t Forget! You Saw it in the Adverti$$er November 2022 #14280 Page #29A dverti $ er Component manufaCturing mThe 765-751-9990 www.woodtechsystems.com NEW! New Monet DeSawyer 2000 Component Saw New, Monet DeSawyer 2000, computerized, five-bladed component saw, sets up in 15 to 17 seconds, can run in manual mode, downloads projects from a network or manually using display screen controls. Features all powered movements, cuts from 15" 90/90 cuts to 20 foot length, 2 x 3" to 2 x 12" lumber depths and internal brakes are standard. Options include enhanced servo controls featuring autocalibration, catcher's display and either shaker or belt scrap conveyor and incline. 440 volt, 3 phase electrical. Call for Pricing Condition: New Location: MO
PHONE: 800-289-5627 FAX: 800-524-4982Read/Subscribe online at www.componentadvertiser.com We bring the best together! Eide Integrated Systems, LLC 612-521-9193 www.eideintegratedsystems.com All WizardPDS® Systems feature the patented Open-Channel design. See WizardPDS® in Action WizardPDS®. Your table, automated. Automate with the truly revolutionary and 100% automated jigging system that sets the bar for all truss-table automation. Whether new or existing tables, your entire table or a dedicated section to capture the bulk of your schedule, let WizardPDS® automation set the pace of the table - not a little manual jigging at the bottom/top chord or everyother slot. Automation is a big deal with the promise of a great return - invest in the best. » Multiple setups per table » Reduces your Jig Set Up time by 99% » Compatible with all major design software » Retrofit ANY existing table » PDS-ready NEW table options » Any truss set up in 30 seconds or less » No additional jigging required Industry Tested. Industry Proven. Industry Standard.

2000 SpeedCut MetraCut

2000 SpeedCut MetraCut model SSA17 centerline radial arm saw, provides center-in cutting with turntable analog angle measurement. Includes (1) 16 inch diameter blade with 1 inch diameter arbor bore. Angular capacity 164 degrees with a maximum scarf cut of 31 inches. No conveyors included. 220/440 volt 3 phase electrical required.

$10,793 FOB TN

Wood Tech Systems

765-751-9990

www.woodtechsystems.com

Five-blade SERVO controlled saw is configured with [1] 30 inch blade, [3] 20 inch blades and [1] 12 inch blade. This saw includes shaker side-pans, and numerous OEM spare parts, several sharp blades, and Matthews Ink-jet with stand (needs reconditioning). 208/240/480 volt, 3 phase, 100 Amp, and 120 volt, 1 phase electrical, 100 Amp electrical required.ASIS, Where-IS

$44,990 FOB KY

Wood Tech Systems 765-751-9990

www.woodtechsystems.com

2003 Hundegger SC 1 Saw

Complete Roof Truss cutting functions including angle cutting with auto-loading conveyor system, auto-discharge. 15KW (20HP) saw motor with a 25″ blade will cut any length lumber from 3’6″ to 24′, and in widths from 1.5″ to 17.75″. Up to 4-board stacked cutting of dimensional 2×4. Saw comes with OEM in-feed and out-feed extensions for processing longer length material (I-Joist). According to Hundegger literature: “The Hundegger Whole House Saw ™ is a computer numeric controlled (CNC) saw capable of cutting a wide range of roof, floor and wall framing components, including wood I-joists, laminated strand lumber (LSL), laminated veneer lumber (LVL) and glue-lam”. Maintenance program, and tech support available in N. America. This saw is under power and operational. OEM installation required for successful startup at buyer’s location. Printer needs to be rebuilt. Saw available to ship after 30 September 2022. 480 volt, 3 phase, 65 Amp saw electrical required, 120 volt, 1 phase, 20 Amp computer electrical supply required. 150 PSI at 27 CFM air required.

$44,900 FOB BC

Video

765-751-9990

www.woodtechsystems.com

PHONE: 800-289-5627 FAX: 800-524-4982Read/Subscribe online at www.componentadvertiser.com Don’t Forget! You Saw it in the Adverti$$er November 2022 #14280 Page #31A dverti $ er Component manufaCturing mThe SAWS
Saw
2007 Servo Auto Omni Component Saw

truss industry relies on 3rd party quality assurance services to provide random visits to review the plants Quality Assurance program along with their operations. If your plant needs to comply with the IRC, IBC and to those who depend on solid, experienced QA expertise, we ask you to consider selecting Timber Products Inspection, Inc. (TP) as your choice for 3rd party inspections.

serving the forest products industry for over 50 years, TP brings the expertise you need to ensure your business is successful. As a responsible partner, TP delivers to clients, employees, and the industries we serve the confidence to drive value through the effective use of our diverse professional team.

would like to welcome the following authorized agents to our inspection team, each of whom have many years of experience in the truss industry!

Al Coffman

Jean Hart

Curt Holler

Chuck Ray

Glenn Traylor

Elliot Wilson

trusguy@gmail.com.

919-280-5905

Read/Subscribe online at www.componentadvertiser.com The
Proudly
TP
If you have questions about how you can make this selection, please contact your authorized agent above or Glenn Traylor at
or
https://www.tpinspection.com/ https://www.tpinspection.com/auditing-services/truss

Are You Removing the Connectors Carefully When Replacing Them?

Facethe facts—occasionally, it is necessary to replace connectors. It’s part of the manufacturing process. In my May 2016 article, Is There a Reduction For Plating in a Previously Plated Area?, we discuss the limitations and considerations of removing a plate, including upsizing the plate and how to calculate the necessary upsize connector. The area of the chord and web members where holes have been made by the original plate loses 50% of its capacity, so the replacement must be done with a larger plate. Typically, smaller plates can be replaced by upsizing the connector by height and width up one size, but as the plate size increases the proportion must increase.

Witnessing a truss repair recently, I noticed a truss builder aggressively removing a connector. Although I had thought this was intuitive, it needs to be said aloud—special care must be taken when removing a plate. After removing the plate, this truss builder was planning to just replace the plate with a slightly upsized connector, but I asked him to wait until we could investigate the repair. Unfortunately, a significant amount of wood had been removed, which created a significant problem. The area that was damaged by the wood removal had become totally ineffective. That meant additional tooth count would be required in the damaged area. Bringing this to the attention of the builder and his supervisor, I realized this calculation surprised them. Per ANSI/TPI 1 section 3.9.2, when a plate is removed, the area of removed lumber becomes ineffective.

As shown in these photos, a significant amount of wood may be destroyed while removing the connector. This area must be replaced 100% by upsizing the connector accordingly.

PHONE: 800-289-5627 FAX: 800-524-4982Read/Subscribe online at www.componentadvertiser.com Don’t Forget! You Saw it in the Adverti$$er November 2022 #14280 Page #33A dverti $ er Component manufaCturing mThe
Continued next page

The diagram shows how either the 50% requirement or the 100% requirement will be activated after you remove a connector.

Another requirement that may seem intuitive but also should be said aloud— remember that the upsized connector must be of the same type and gauge. That means you cannot replace a 20-gauge connector with an 18-gauge connector, for example. This also comes from ANSI/TPI 1, section 3.6.6.

The final statement that needs to be said aloud is this—taking a few extra seconds or minutes to “be careful” will be worth it, because you need to take special care not to remove wood when removing a connector. Not only will the damage make your repair more difficult and require a larger connector, it also may make your repair impossible.

An ANSI/TPI 1 3rd Party Quality Assurance Authorized Agent covering the Southeastern United States, Glenn Traylor is an independent consultant with almost four decades of experience in the structural building components industry. Glenn serves as a trainer-evaluator-auditor covering sales, design, PM, QA, customer service, and production elements of the truss industry. He also provides project management specifically pertaining to structural building components, including on-site inspections and ANSI/TPI 1 compliance assessments. Glenn provides new plant and retrofit designs, equipment evaluations, ROI, capacity analysis, and CPM analysis.

Glenn Traylor

Structural Building Components Industry Consultant http://www.linkedin.com/in/glenntraylor

PHONE: 800-289-5627 FAX: 800-524-4982Read/Subscribe online at www.componentadvertiser.com Don’t Forget! You Saw it in the Adverti$$er November 2022 #14280 Page #34A dverti $ er Component manufaCturing mThe

to Michael Bryan, Purchasing Manager at Wheeler’s located in Rome, GA for winning Timber Products Inspection’s 2022 BCMC ANSI/ TPI 1 Inspection Challenge.

had the highest score competing with fabricators from across America! Recently, Glenn Traylor presented Michael with the grand prize, a Yeti cooler provided by Timber Products Inspection, a worldwide provider of third-party certification for the truss and wood products industry.

PHONE: 800-289-5627 FAX: 800-524-4982Read/Subscribe online at www.componentadvertiser.com Don’t Forget! You Saw it in the Adverti$$er November 2022 #14280 Page #35A dverti $ er Component manufaCturing mThe Save the Date! A PRIL 26-28 San Antonio, TEXAS msrlumber.org/workshopLEARN MORE AT: 2023 WORKSHOP Congratulations
Michael

Spida Automated Apollo Saw

The Spida Apollo saw with Automation is a computerized, pull-arm type saw used for cutting either wood truss components or wall panel cutting and represents the lowest-cost way to add an automated single-blade saw to your operation. Features include angle cutting from 10 to 170 degrees, 36 inch scarf cuts, patented variable stroke limiter for safety, solid frame and arm design, 17 inch industrial touch screen with enclosure, 7.5 HP motor, plug and play wiring making installations easier and includes cowls for adding a dust extraction system.

Available options include software is available for both trusses and wall panel cutting, laser guide showing exactly the path of the blade before the blade moves, Safe Grip™ Clamp for cutting smaller pieces, clamping table, Plate Marker template providing automated set up for marking joint locations (studs, sub-component locations, etc.) on top/bottom plates, Chop Saw Table for adding another saw for miter/compound or end cuts, prior to feeding the Spida Apollo saw, Portable Dust Extractor and spare blades.

Saw is available in 240 volt, 20A or 460 volt, 15A 3 phase electrical. Computer requires 110 volt, 1 phase, 20A.

765-751-9990

PHONE: 800-289-5627 FAX: 800-524-4982Read/Subscribe online at www.componentadvertiser.com Don’t Forget! You Saw it in the Adverti$$er November 2022 #14280 Page #37A dverti $ er Component manufaCturing mThe
www.woodtechsystems.com
$64,500 FOB NZ/IN NEW! theHAINCOMPANY 6125 Enterprise Drive, Unit 9 | Diamond Springs, CA 95619 530.295.8068 | sales@thehaincompany.com Electrical Supply: 110 VAC Motor: 1/4 HP, 110 VAC, Linear Actuator Highly Accurate: +/- .010 Inches Stop Rail: 2 x 4 x 1/4 Aluminum Extrusion Stops: Jig Bored Steel Stop Blocks: Machine Billet Aluminum Internal Components: Hardened, Ground and Polished Steel and Billet Aluminum Dimensions: Length: 5 feet (60”) to 60 feet (720”) Height: 12 inches Depth: 12 inches If you are looking for the fastest, most consistent way to measure and cut your product, then the Hain Measuring System (MEA) is your answer. The MEA changes from one length t any length instantly, up to 60’, without changing the operator’s position on the line. It is also highly accurate (+/- .010) and quickly moves from one length to the next in seconds. The MEA is designed for quick and easy setup and is simple to use. Even a first time user will be productive with little or no training required. It can adapt to any saw and can be mounted to any surface so that you can integrate the MEA with your existing setup. The MEA is versatile allowing “left” or “right” handed operation and measurement in “feet and inches” or “inches” depending on your preference. The MEA is also available in a “Skid Mounted” version.
•Control Duality • Control Consistency • Control Costs Now has an Autonomous Mode - UNMANNED operation DVouTube •Multi-tool - Twin Gantry - Servo Controlled • Accommodates 6 high-capacity pneumatic nailers • Auto-Sizing, Configurable Spacing Plate Fire • Auto-nailing of window openings, top & bottom • LIVE Video Assist Locating Technology • 278% more air tank capacity • Nails a 121 stud in approximately 2-4 seconds • Automatic tilting of nail guns [for example on seams) • Auto-positioning nailers, at 1611 & 2411 OC • Easily set 11rules11 for your nailing profile[s) • Vertical axis servo control, for wall thicknesses • Laser sensors for material detection [won1t fire nails over openings) lliiii:� • Network compatible We've been helping professional builders take control of their operations for nearly 60 years. Put our experience to work for you! Give us a call or check out our NEW web site: •w' Triad Machines 800-568-7423 ext. 126 www.TriadMachines.com

New Monet DeRobo Linear Saw

New, DeRobo linear saw by Monet organizes "fill" boards to increase optimization of each board, can produce unlimited scarf cuts, cuts 1 or 2 boards at a time and cuts webs, chords, wedges, rafters and open-stair stringers. Works with all major connector plate manufacturer's software. Features include 22 inch blade, left-to-right feed direction standard, lumber push and pull grippers for more accuracy, ink marking on the 1 1/2" face of the incoming boards and small piece capture and delivery to the front of the saw for easy access. Infeed deck and bunk feed are shown as options only. 480 volt, 3phase. Call for pricing, FOB MO.

765-751-9990

www.woodtechsystems.com

New Spida Rolsplicer

New Square 1 Rolsplicer, splices 2"x3", 2"x4" and 2"x6" lumber with a 3 to 4 second cycle time. Presses the lumber together prior to imbedding plates. Embeds plate lengths up to 19 inches. Features two, recessed, simultaneous-activation buttons, guarded motor and sprockets, external lubrication points, 3 HP motor and a footprint of 59" long x 42" wide. Optional 20' infeed and 10' outfeed conveyor available. 480 volt, 3 phase electrical. Other voltages available.

765-751-9990

$29,800 FOB IN

www.woodtechsystems.com

PHONE: 800-289-5627 FAX: 800-524-4982Read/Subscribe online at www.componentadvertiser.com Don’t Forget! You Saw it in the Adverti$$er November 2022 #14280 Page #39A dverti $ er Component manufaCturing mThe REPRESENTATIVES
NEW!
NEW! REPRESENTATIVES

Component Saw

2002 Auto Omni 5 blade automated component saw includes shaker waste conveyor with factory side pans, [3] 20 inch blades, [1] 30 inch blade and [1] 12 inch blade. Fully automated setup with full power length and all axis angulation, single sided setup from operator console, 2×3 through 2×12, 22’ to 3′ @ 90°/90°, and spare blades. 208/240/480 volt, 3 phase, 100 Amp and 120 vac, 90 Amp electrical required.

Price: $19,990 FOB PA

Wood Tech Systems 765-751-9990

www.woodtechsystems.com

2008 Alpine PF90 Wall Panel Saw

2008 Alpine PF 90 wall panel cutting and marking system. 3.5″ x 12″ maximum cutting profile, Inkjet option, cuts to 16 ft long. From the OEM’s literature, “Effortlessly handles two of the most critical and difficult processes in any wall panel operation – plate cutting and panel layout.

At the rate of 1,000 linear feet per hour or more, uses data from the design software and accurately marks stud, cripple and jack locations, job and panel number, subcomponent and window/door locations, and even sheathing locations on both top and bottom plates simultaneously with ink-jet printing.

MORE INFORMATION HERE $8,499 FOB NY

Wood Tech Systems 765-751-9990

www.woodtechsystems.com

Safety Speed Manufacturing Model 6400 Panel Saw

Safety Speed Manufacturing model 6400 vertical panel saw, 3 HP worm drive motor, 64 inch crosscut, 1 3/4" inch maximum thickness, accuracy within 1/64th of an inch, 10 foot welded steel frame with integrated stand and linear V-guides, enclosed counterweight system, adjustable vertical and horizontal rules. Quick changes from vertical to horizontal cutting. Includes machined aluminum material rollers, hold down bar, wheels, quick stop gauges and material hold downs. Dust collection ready. Options available include lower frame extensions, digital readouts, laser guide, stop bar, vacuum and midway fence. 120 volt. Starting at $5,169 FOB MN.

765-751-9990

www.woodtechsystems.com

PHONE: 800-289-5627 FAX: 800-524-4982Read/Subscribe online at www.componentadvertiser.com November 2022 #14280 Page #41A dverti $ er Component manufaCturing mThe Industry News SAWS REPRESENTATIVES 765-751-9990 www.woodtechsystems.com New Monet FWA-500 AC Automated Floor Web Saw Call For Pricing FOB MO Additional Information Here NEW!
NEW!
2002 Koskovich Auto Omni 5 Blade
Truss Operations Manager J15231 Opportunity at expanding truss manufacturing plant for an Operations Manager/Plant Manager. Roof and Floor Trusses. Compensation: $80 yr. +- plus production bonus. Relocation assistance available. Hiring Bonus $25,000 paid over the first year*. Relocation assistance available. Southwest Location. Give me a call, let's talk off the record 800-289-JOBS (5627) visit: www.thejobline.com email: mail@thejobline.com STRICTLY CONFIDENTIAL! TheJobLine.com

Having a Plan for Tomorrow

TheGreek philosopher Heraclitus is credited with the origin of the phrase, The only constant in life is change. This couldn’t be more true in the world we live and work in today. Whether we are enduring labor shortages, a global pandemic, material shortages, input cost increases, or an unstable economy, we must remain vigilant. We have people counting on us at home and at the office to make the right decisions and to push forward. To say the past 24 months in our industry has been unprecedented is an understatement. The future shows no signs of returning to what we used to identify as normal anytime soon. Everyone must have a plan for tomorrow.

Being a truss fabricator in today’s market and economy is especially demanding. You are forced to make decisions every day based on the information you have at the time. What if things suddenly change? Are you prepared? Do you have backup plans B, C, and D ready to execute? Our TrueBuild® software suite offers the flexibility to execute your plan in your plant your way. Our TrueBuild® Job Management application contains nothing pre-determined or confining. Use it your way. It gives you the ability to assign any task to any resource you choose and also be able to operate with your own status list within each one. You have complete control of capacity and working days, all with the ease of drag-and-drop functionality. You will never “lose” a project again with our quick-look unscheduled list.

This application uses a ticket-based format instead of the traditional job folder with reporting on its contents. Instant visualization of all jobs within a project and all tickets within a job makes it efficient to track progress on those otherwise complicated multi-job or multi-delivery jobsites. TrueBuild® Job Management gives you instant reference where each piece of the puzzle lies in your operation. You have complete and customizable status and task tracking, again based on your process.

PHONE: 800-289-5627 FAX: 800-524-4982Read/Subscribe online at www.componentadvertiser.com Don’t Forget! You Saw it in the Adverti$$er November 2022 #14280 Page #44A dverti $ er Component manufaCturing mThe
Continued next page

TrueBuild® Job Management will even offer you visibility into your performance. As a fabricator, especially in these times, variables are constantly changing. This makes your pricing strategy even more important. Our Labor Analysis Dashboard shows you immediately how your estimated labor stacks up against your actual labor. There are no time collection devices, and no corrupt data because someone on the floor forgot to click a button. You can enter actual data from your timeclock reports or other ledger entries, and spread that data over a day, a week, or any period you choose.

A good Job Management application should not be bulky, cumbersome, or intimidating. Instead, it should be intuitive to the user and be flexible enough to meet the needs of any size operation. It should have exactly what you need but nothing that you don’t. When we developed TrueBuild® Job Management, we wanted to achieve complete flexibility in managing jobs and scheduling your operation with a clean, easy to use interface. We are confident that we have delivered exactly that. Make the decisions you need to make for your business with precise data in a very clear and easy to read interface. Adaptability is a key to success. This software application isn’t like other job management solutions on the market. Contact us today and let us show you what you are missing.

PHONE: 800-289-5627 FAX: 800-524-4982Read/Subscribe online at www.componentadvertiser.com Don’t Forget! You Saw it in the Adverti$$er November 2022 #14280 Page #45A dverti $ er Component manufaCturing mThe
· Simplified Re-Design · Robust low maintenance · No upper hold downs · Electronic braking · Auto feeding lumber · Holds calibration · Out cuts any linear saw · Cut by Truss or Batch cut 6021 Yonge St., Unit 1019 Toronto, ON M2M 3W2 Tel: (416) 888 -4457 Edmond.Lim@LimTekSolu�ons.com LimTekSolu�ons.com Edmond.Lim@LimTekSolutions.com

FOB VA Wood Tech Systems 765-751-9990

www.woodtechsystems.com

• Automated Stop & Automated Saw

as directed by Truss Software

• Generation 1 - Windows 98 (highly recommend Spida $32,000 Upgrade)

• 5.5 HP Motor (3 Phase) with 17.7" Blade

• Computer with Enclosure

• Outfeed Table with Automated Stop

• Infeed Roller Conveyor $15,900 FOB KY

Wasserman & Associates 800-382-0329

www.wasserman-associates.com

2017 MiTek Blade Linear Saw with Ranger RT

MiTek Blade linear saw, model 89060-501 for processing up to 20′ length material from 2×3 through 2×12 lumber. The Blade includes a crooked lumber sensor (CLS), servo axis control including bevel cut capability, standard 16-valve face printer, and short horizontal waste conveyor. System includes a 2017 Ranger RT, 65‘, 10 bay lumber retrieval system in an optional “TEE” configuration with 9 bays in front of the Blade feed-rail and 1 bay to the rear (current configuration features (4) Full-unit carts/(6) magazine carts). The Ranger features an integrated control system, 70 feet/minute vacuum pick-head, laser material scanner, and perimeter safety system. Cut material discharges to a skewed out feed-conveyor or an optional rear-facing discharge for delivering cut truss parts to an assembly-table (both conveyor set-ups included). (1) spare blade included. Currently in operation. Installation by the OEM is suggested. 230 volt, 3 phase electrical required. 110 PSI @ 50 CFM air required.

PA

765-751-9990

PHONE: 800-289-5627 FAX: 800-524-4982Read/Subscribe online at www.componentadvertiser.com Don’t Forget! You Saw it in the Adverti$$er November 2022 #14280 Page #47A dverti $ er Component manufaCturing mThe A dverti$er Component manufaCturing S erving the S tructural B uilding c omponent S i ndu S try The SAWS EKSTROM-CARLSON MODEL E STRAIGHT LINE RIP SAW • 10 HP Arbor Motor • 3 HP Variable Speed Feed • 4" Maximum Thickness (when using 18" Blade) • 48" Throat • Adjustable Rip Fence • Overhead Holddown • Automatic Chain Oiler • Dust Outlets $10,500 FOB MI Wasserman & Associates 800-382-0329 www.wasserman-associates.com DANCO GANG-RIP SAW • 3 3/8" Maximum Thickness • 13 1/2" Maximum Distance from Rip Fence to Outer Saw • 100 HP Arbor Motor • 2 HP Feed Motor • 7 1/2 HP Dust Collector • 480 Volt / 3 Phase • Waste Conveyor with Short Incline $35,000 NOW $29,900 FOB MN Wasserman & Associates 800-382-0329 www.wasserman-associates.com 2005 PCS / MiTek Twin Axis Sheathing Saw 2005 PCS/MiTek Twin Axis sheathing saw: Cuts X and Y axis simultaneously in one pass through the saw. Cuts up to 1″ thick, wood sheathing material, minimum width 3″. Fully enclosed to reduce noise, dust, and improve operator safety; automated via downloaded sheathing cutting files from wall design software. Includes 8 foot long idler infeed conveyor and outfeed conveyor with pop-up skate wheels, (1) spare blade and all available spare parts. 220v/440v, 3phase electrical saw, 120v, 1 phase electrical PC. 100 PSI at 14 CFM air required. $17,991
Used Spida Automated Truss Saw
Rotation
REPRESENTATIVES
www.woodtechsystems.com
$429,497 FOB
PHONE: 800-289-5627 FAX: 800-524-4982Read/Subscribe online at www.componentadvertiser.com Don’t Forget! You Saw it in the Adverti$$er November 2022 #14280 Page #49A dverti $ er Component manufaCturing mThe 765-751-9990 www.woodtechsystems.com 2006 Koskovich Omni Miser WFA with WoodRunner Lumber Retrieval Servo controlled angulation axis of movement for cutting and making wall frame (square & angle cut) components. , “D” Print option (both faces, one edge). Includes 5 HP, 3450 RPM, arbor motor, computer monitor, console, 220/440v 3 Ph, spare blade. The WoodRunner Air Pick automated lumber retrieval system includes a single picking head with 10 bunks and 2 magazines. Includes manuals, all available spare parts and spare servo cards, and WoodRunner software source code. Available March 2022. $124,990.00 NOW $69,990 FOB SD Available March 2022
RANGER RS is a trademark of ACER INC The RANGER RS system is protected under U.S Patent #8,960,244 and other patents pending Acer Inc. 301 Industrial Drive Rushford, MN 55971 USA 507-864-2220 www.acerinc.com Designed for productivity , built to last . A new Universal stacking infeed deck in testing at the Acer plant . Fewer moving parts , compact size, and higher productivity. Maximize production from your linear saw with the Ranger Retrieval System from Acer . The reliable partner in your plant.

NEW!

$13,149 Base

FOB MN

Safety Speed Manufacturing Model 7400 XL Panel Saw

Safety Speed Manufacturing, model 7400 XL*, vertical panel saw, 3 HP induction motor, 64 inch crosscut, 2 1/8" maximum thickness, accuracy within 0.005 inches, 13 foot long welded steel frame with integrated stand and linear V-guides, enclosed counterweight system, adjustable vertical and horizontal rules. Quick changes from vertical to horizontal cutting. Includes machined aluminum material rollers, hold down bar, wheels, quick stop gauges and material hold downs. Dust collection ready. Options available include digital readouts for vertical cuts, automated length measuring, laser guide, stop bar, vacuum and midway fence. 208-230/460 volt, 3 phase electrical (208-230 single phase, 2 HP power optional +$100.00).

765-751-9990

www.woodtechsystems.com

We create transformative website and app experiences

Since 2006, we've been helping businesses of all kinds build their online presence. We make websites and software for the construction industry to empower companies to reach a wider customer base and engage their audiences. Companies all around the world work with us to make websites and apps that people actually want to use. Reach out to Wolf X Machina if you're a business and you want a website that actually drives results.

WOLF X MACHINA www.wolfxmachina.com info@wolfxmachina.com

TheJobLine.com Regional Manager

Highly confidential position, Regional Manager opportunity. Experience with operations in the $20-50M range. Responsible for all areas of Truss and Wall Panel Manufacturing operations, safety, inventory control, delivery, and customer service at 3 locations producing $10-15M each. The facilities produce Roof and Floor Trusses.

Compensation $100k+ base range plus substantial bonus based on your performance. Very competitive benefits package. Relocation package is negotiable if not in the region. Please inquire to discuss details. Strictly Confidential! Let's talk to see if this is a perfect opportunity for you.

Give me a call, let's talk off the record 800-289-JOBS (5627)

visit: www.thejobline.com email: mail@thejobline.com

STRICTLY

New Monet DeWall Saw

Monet DeWall 90/90 wall panel marking saw is a computer numeric controlled wall panel saw with touch screen user interface. Cuts and marks up to 2 boards at a time using 2x4 through 2x8 or cuts and marks one board at a time. Call for pricing, FOB MO

765-751-9990

www.woodtechsystems.com

PHONE: 800-289-5627 FAX: 800-524-4982Read/Subscribe online at www.componentadvertiser.com Don’t Forget! You Saw it in the Adverti$$er November 2022 #14280 Page #51A dverti $ er Component manufaCturing mThe
NEW!
CONFIDENTIAL!
J15261

A Weekend Install and a Packers Home Game

The majority of our machinery installs are requested to be done over a weekend, usually starting on Friday. A weekend install requires key personnel to give up their weekend in order to minimize production interruption. The weekend of September 30, 2022 in Green Bay, WI was a particularly challenging weekend installation because an existing RetroC had to be shut down in order to be upgraded with 70 ft of auto feed live deck, and concurrently a 250 ft Lumber PickLine had to be constructed — and there was a Packers home game on Sunday to boot!

For this plant, the 70 ft of “actively passive” auto feeding live deck was replacing two full-time forklifts. The biggest fear factor was the thought of implementing just-in-time material feeding. The two full-time forklifts used to pick several jobs ahead in order to keep up with the RetroC to minimize saw idle time. Just-in-time in-line material feeding is possible because the RetroC is that reliable, and that fast.

The goal for the weekend installation team was to improve material in-feed to the RetroC to utilize as much of the RetroC’s unused capacity and to finish before Sunday’s 3:25 pm kickoff time. Packers fans are some of the best and loudest in the NFL and the weekend installation team was no exception, pushing to finish early to enjoy Green Bay becoming a huge tailgate party around Lambeau Field.

PHONE: 800-289-5627 FAX: 800-524-4982Read/Subscribe online at www.componentadvertiser.com Don’t Forget! You Saw it in the Adverti$$er November 2022 #14280 Page #52A dverti $ er Component manufaCturing mThe
Continued next page

The conversion of two full-time forklifts to just one part-time position of replenishing lumber bunks on the 250 ft Lumber PickLine was a big part of the ROI calculation.

Mission accomplished, and the Packers won in OT!

When you’re ready to see these efficient and effective systems for yourself, let us know! Inside and out, LimTek Process Organization Technology will help you squeeze out more truss production and deliver quality trusses with shorter lead times to better service your customers by organizing your truss fabrication pro cesses to maximize your investment in automation. https://limteksolutions. com/#solutions

PHONE: 800-289-5627 FAX: 800-524-4982Read/Subscribe online at www.componentadvertiser.com Don’t Forget! You Saw it in the Adverti$$er November 2022 #14280 Page #53A dverti $ er Component manufaCturing mThe

2006 Alpine AutoMill SC, model 348B, five-blade component saw. Servo controlled computerized saw sets up in 2 to 19 seconds and downloads from a network or by using a touch screen for ease of operation. Five-head automated component saw works in both automated (downloading files) and semi-automated control via touchscreen input. It has 23 axes of automated movement, enhanced diagnostics, and auto management reporting. The SC cuts from 9″ 90/90 blocks to 2′-6″ to 20′-0″ long angled material, in sizes ranging from 2×3″ through 2×12″, and 4-angle floor webs from 3′-4″. Includes [3] 18″, [1] 20″ and [1] 32″ blades with air brakes, under-saw shaker conveyor and a scrap incline conveyor. Includes owner’s manual, all available spare blades and all available spare parts. 480v/ 60Hz/ 3 phase electrical required.

765-751-9990 www.woodtechsystems.com

Monet FWA 500 Floor Web Saw

New, Monet five-head, floor truss web saw, cuts 4-angle, 4x2 floor truss webs from 16 inches and 90-90 blocks from 12 inches to four foot long maximum length. Features 10-board magazine feed, powered, fixed-quadrant angulation, manual carriage standard, shaker-pan scrap conveyor with short incline conveyor and cut-off blade. Option for longer carriage length, single-sided setup (shown in pictures, but not standard), dust hood and horizontal scrap conveyor 480 volt, 3 phase. Call for pricing, FOB MO.

765-751-9990

www.woodtechsystems.com

WOOD WALL

STATION

The Squaring Station consists of a squaring table with various features. The squaring table is designed to hold wall panels square while sheathing is tacked in place and rough openings are cut out, ensuring quality panels every time.

This model can be stand-alone or integrated into a full production line. Various sizes and configurations are available.

PHONE: 800-289-5627 FAX: 800-524-4982Read/Subscribe online at www.componentadvertiser.com Don’t Forget! You Saw it in the Adverti$$er November 2022 #14280 Page #55A dverti $ er Component manufaCturing mThe
SQUARING
BENEFITS
Ergonomic working height • Holds wall square while tacking sheathing • Improved squareness vs. traditional methods WWW.PANPLUS.COM 1-866-726-7587 REPRESENTATIVES
NEW! REPRESENTATIVES
2006 Alpine AutoMill SC Component Saw
$69,997 NOW $59,997 FOB BC
PHONE: 800-289-5627 FAX: 800-524-4982Read/Subscribe online at www.componentadvertiser.com Don’t Forget! You Saw it in the Adverti$$er November 2022 #14280 Page #57A dverti $ er Component manufaCturing mThe REPRESENTATIVES 765-751-9990 www.woodtechsystems.com New Spida Floor Truss Finish Press New Spida floor truss finish roller press, four-foot wide (other widths available) x 3 1/2” tall throat. Use of this process speeds assembly and transports finished truss away from the production area, adds quality and peace of mind for your finished floor trusses. The unique “uni-body” construction creates a ridged machine that does a final press of the connector plates for complete embedment into lumber, saving wear on your floor assembly machine. 12” diameter rolls, 7 1/2 HP motor, 80# chain, 114 FPM speed, emergency photoelectric shut-off, chain and sprocket guards, integrated brake. Available options include: other roller widths, Heavy-Duty upgrade, gear motor drive, and soft start controls. 480 volt, 3 phase electrical. Other voltages available. Price based on configuration, FOB FOB IN NEW! 800-382-0329 | www.wasserman-associates.com NEW IDLE & POWERED 14' TRUSS CONVEYOR (AZ) • 14' Long x 4" or 5" (Inside Diameter) Schedule 40 Pipe • Tube Steel Stands (7" Height Adjustment - Height to be Specified) • 4 Bolt Flange Bearings • Idle and Motorized Rollers • 1/4 HP Motors (240/480 Volt-3 Phase) with Controls • 1" and 1 1/4" Cold Rolled 24" Shafts Baffled • 6 to 8 Week Delivery NEW! 800-382-0329 | www.wasserman-associates.com Wescana Vertical Truss Stacker • 4 Lifting Arms Stack Trusses from 20' to 60' Spans (2 HP / 3 Phase) • Stacking Capacity of 30 Trusses with Indexing for Each Truss Stacked • 28 Second Cycle Time • Automatic Truss Sensors to Activate Lifting Arms • PLC Controlled • 7" Touch Screen User Interface • Dual, Manual & Automated Electric Controls • 70' Powered Outside Conveyor (1 HP / 3 Phase) Call for Price - FOB Alberta A dverti$er Component manufaCturing S erving the S tructural B uilding c omponent S i ndu S try The Hiring Zone Building Component Industry's Job Board Employer to Candidate Direct Hiring No Recruiting Fees! Post your Opportunity... Candidates respond directly to you! For Additional Information Contact: twm@componentadvertiser.org or Call: 800-289-5627 x1 Visit our website: www.componentadvertiser.com/Hiring-Zone

Triad

USED - Truss Equipment

Table

Generation 3 Framing Table has adjustable 20’ long walls, with wall heights from 6’9” to 14’ 3”. Studs are placed between color-coded stud locators. With just a push of a button, the width adjustment clamp is activated to clamp and square all components. The Generation 3 Framer features a wider table top, designed with the framer in mind. Our new Anti-Slip Surface allows the operator to work on a comfortable and safe surface.

»

squaring lip

»

Razer S5 Linear Saw features AIT auto infeed tables and a stacking system for auto loading two stacked boards into the saw. The saw modules configure for either left-to-right cutting and/or “Z” shaped layout. The Razer S5 Linear Saw provides stack cutting and side by side cutting. The saw cuts Bevel (45 degree only), all main angles, and cut on edge (floor trusses).

track for placing window

Squaring

door

WoodRunner

WoodRunner WR-2 lumber retrieval system seeks and retrieves the exact boards needed to cut. The core of the system is a trolley with an automated picking head. The trolley moves back and forth on a runway truss positioned over lumber carts while the picking head’s laser scans below. After locating the specific piece of lumber needed, the picking head uses a powerful vacuum to hold the board while moving it to the infeed deck.

»

material length with 4 lumber carts

load magazine cart, with guide tracks.

deck holds up to 12 2x4s in queue, and

of the picking head.

system with 5 lumber stations.

Anniversary See More Here!
Framing
The
Includes Trident Tool Dollies » Continuous
for precision, with
stops
Optional tape
and
bridge
Eide Machinery Sales, Inc 612-521-9193 www.eidemachinery.com 3219 N 2nd St. Minneapolis, MN 55412
16’ maximum
and 1 manual
» Infeed
operates independently
» 30’ long
» Vekta user interface software complete with the full version of the optimization algorithms » P3 Precision truss print systems upgrade » Accuracy Follower upgrade
Razer S5 Linear Saw
2015
The

2018 Clark Mini Barn Press, builds rigid frames for sheds from 8 foot to 14 foot spans, to 3′-6″ height. Builds mansard and rafter shapes. Includes (5) track mounted heads with 8″ x 10″ platens, material clamps, 10 HP hydraulic power unit with manifold for air and fluid, ball valve controls, mounting track and all available jigging. 460 volt, 3 phase electrical required.

Tech Systems 765-751-9990

2007 Clark Industries Horizontal Truss Stacker Model HVS, Two Unit, 2-Zone, 14’ Horzontal Stacking System. Two lifting units (one master and one slave) with integral electrics. A truss sensing system consisting of adjustable laser sensors mounted on slide rails. One indoor electric control enclosure & panel w/PLC and manual controls. A stacker-conveyor interface package comprised of (1) mounted 3-push button enclosure and (1) remotely mounted 2-push button enclosure (pause/ emergncy stop). Hand-held Wampfler Remote Control System. 8 stacking rails and 4 stripping posts. Stack 1 5/8” thick x 14’ tall trusses up to 30 high. Stack a truss in approximately 40 seconds (cycle time). Stack up to 55’ or longer trusses on each side of the conveyor with minor assistance for truss sag, shorter lengths can be stacked unassisted. Excludes 77’ Walk Through Conveyor System. Two systems available at $25,000 NOW $19,900 Each. FOB NE. Wasserman & Associates 800-382-0329 www.wasserman-associates.com

WESCANA FLOOR TRUSS MACHINE

• 7' x 40' Table with 3/4" Steel Table Top

• Two 5' Park Sections

• Truss Depths from 12" to 26"

• Truss Flip-Over Arms

• Side or End Ejectors

• Bui lt-In Camber for Clamping on Both Sides

• Air Cylinders Under Table

• 2 Contr ol Valves for Clamping

• 1 Contr ol Valve for FlipOver Arms

• 1 Control Vlave for Ejectors

• 24" Diameter x 1" Wall Thickness Roller

• 10 HP / 3 Phase Gear Motor

• Front & Rear Emergency Shut-Off Bars

• Joystick Control

• 2' per Second Travel Speed

| www.wasserman-associates.com

98′ Roof Truss Gantry System

98’ x 14′ side-eject system complete with (13) T&G plastic top 14’x72″, recessed-rail tables, with (12) skatewheel liftouts. 110′ dual gantry rail, and dual 7′ park stations. Table plastic is newly installed on 6 tables with material included to refinish the remaining 7 tables. Currently configured with 20″ aisles (includes aisle cover plates). System includes 120′ of conveyor @ 5′ O.C. (12-pwr, 12-idle ), no receivers. Features one (1) 24″ dia. Klaisler GR 14-24 recessed rail, gantry roller with 24″ diameter roller, riding platform, and push-button controls. 14′ Final-Roller with 20″ diameter rollers, driven by dual SEW Euro-Drive motors with a single safety-bar. includes all available air-manifold, electrical chord, jigging hardware , 230v, 3ph, 60 amp power. As-is, Where-is.

Table Guided Gantry System by Spida Machinery

New table-guided (NO rail) gantry system by Spida, side-eject or end-eject options, with continuous production tables built to length. Available in steel, plastic or combination table top options. Can be fabricated to receive automated jigging such as “Wizard” brand. 24″ diameter gantry heads feature raised operator platform, heavy-duty steel roll with 4″ shaft, baffles and heavy-duty spherical bearings, dual 7.5 HP braking gear motors for a total of 15 HP, easy adjusting bogie wheel assemblies, safety bars, Wampfler “finger safe”, under-table-mounted electrical supply and optional soft start drive. Spida can provide the combination of powered transfer rolls, sloping ejectors, receivers, idler conveyors and powered conveyors required to meet your configuration needs. 440 volt, 3 phase electrical. Other voltages available. FOB IN.

765-751-9990

PHONE: 800-289-5627 FAX: 800-524-4982Read/Subscribe online at www.componentadvertiser.com Don’t Forget! You Saw it in the Adverti$$er November 2022 #14280 Page #59A dverti $ er Component manufaCturing mThe TRUSS EQUIPMENT
NEW!
www.woodtechsystems.com Price based on configuration FOB IN 800-382-0329
NEW! 765-751-9990 www.woodtechsystems.com
$214,990 FOB KY
2018 Clark Mini Barn Press
$19,997 FOB TX Wood
www.woodtechsystems.com A dverti$er Component manufaCturing S erving the S tructural B uilding c omponent S i ndu S try The

How Important is Optimization

Today, linear saw technology provides unmatched efficiency with profound differences to productivity, service, and reliability. An automated linear saw can also reduce the lumber cut waste by batching and combining different cuts of various pieces known as lumber optimization. So what is the one question that’s seldom asked but has the biggest impact on a business when choosing a linear saw: how efficient and flexible are the optimization algorithms of your system?

Optimizing seems relatively straightforward – it’s largely based on the software looking at your components, mixing and matching them to work out what length of timber would be best to cut from them. Cut files can have hundreds of components, but without meaningful and efficient ways of sorting the components after cutting, the order of the cutting becomes critical and a significant optimizing constraint.

My Top Five Questions You Should Ask When Considering Optimization

Obviously, if you’re thinking of investing in a new linear saw to improve your optimization, you’ll have lots of questions. My advice: make sure these five are on your list.

1. Is there flexibility in the cutting order? You may want to cut in a certain way now, but a good algorithm will give you efficient options to cut in a variety of manners. A good optimizing algorithm must be extremely flexible in how it can be configured if you want to get optimal results

2. How mature is the algorithm? Optimizing algorithms are a far less obvious element of a linear saw, but they have one of the single biggest impacts on the financial benefits. Look for long-standing, constantly improved and improving algorithms.

3. Are there tools to help refine your settings? Every plant will want and need to optimize differently. This means a flexible system must be configured in a custom way to best fit your business. A good software package should have specific tools that will help you work out things such as what lengths of timber you should stock and the impact of the cutting order on timber efficiency.

PHONE: 800-289-5627 FAX: 800-524-4982Read/Subscribe online at www.componentadvertiser.com Don’t Forget! You Saw it in the Adverti$$er November 2022 #14280 Page #60A dverti $ er Component manufaCturing mThe
Continued next page

4. Where and how can optimizing be performed? Some businesses prefer to optimize at the saw. Others prefer for someone in the office to be responsible for minimizing waste. A good optimizing solution will provide efficient means of doing both, including the ability to lock files that have been pre-optimized. The software should also make it easy to optimize several files at once and automatically print off and/or save necessary files and documents, such as pick lists.

5. Can I run sample files and see the results? If you are looking at a new saw, it is a great idea to ask the suppliers you’re considering to run some sample files for you and analyze the results – the more, the better! It’s amazing how rarely this happens for such a crucial element of a very expensive piece of equipment.

If you have a linear saw, take the time to evaluate your optimizing systems and settings. If you are looking at purchasing a linear saw, ask the questions and take the time to ensure the optimizing system stacks up to today’s standards and your expectations. Don’t be afraid to evaluate your options against the optimizing software of the Vekta Razer Saw.

We’ve developed and continually improved our optimizing software over the past 20+ years with the focus on enhancing optimizing for both flexibility and efficiency. We’ve engaged and collaborated with Curtin University Mathematics Department to develop ground-breaking mathematically guaranteed optimizing algorithms – making a significant investment in the R&D on this endeavor alone. With the ability to do a variety of cuts between 0° to 67° at a throughput rate of 300 – 500 components per hour, it’s no wonder the Vekta Razer V5 Linear Saw is the choice of large and small plants today.

Optimization is not a trivial element in today’s linear saws, and it isn’t something that can be developed properly in just a few years. Good, proper, and efficient optimization is an extremely complicated process that can’t be rushed. Go ahead and prepare some sample results – they’ll be worth it.

PHONE: 800-289-5627 FAX: 800-524-4982Read/Subscribe online at www.componentadvertiser.com Don’t Forget! You Saw it in the Adverti$$er November 2022 #14280 Page #61A dverti $ er Component manufaCturing mThe
PHONE: 800-289-5627 FAX: 800-524-4982Read/Subscribe online at www.componentadvertiser.com Don’t Forget! You Saw it in the Adverti$$er November 2022 #14280 Page #63A dverti $ er Component manufaCturing mThe New Spida Trackless Floor Gantry Price based on configuration FOB IN NEW! 765-751-9990 www.woodtechsystems.com NEW! 765-751-9990 www.woodtechsystems.com New Spida Roof Truss Finish Press Price based on configuration FOB IN 800-382-0329 | www.wasserman-associates.com WESCANA TRACKLESS ROLLER GANTRY SYSTEM • Trackless Roller Gantry System • 24" Diameter x 1" Wall x 14' Long Gantry Roller • 7.5 HP / 3 Phase Gear Motor with Safety Brake • Contr olled Motor Drive System for Start & Stop • Safety Barrier & Electric Eyes • Front & Rear Emergency Shut Off Bar • Joystick Operation Control • Ride-On Platform at Table Height • 2' per Second Travel Speed • Continuous 3/4" Steel Slotted Top Table • Manual Roof Jig Hardware • Ejectors for Side or End Eject • 2 Park Sections • Optional W izard Ready Tables, Transfer Rollers, Exiting Conveyor, Finish Roller & Outside Conveyor NEW! 800-382-0329 | www.wasserman-associates.com • (2) 24" Diameter x 14' Long Rollers • 3 1/2" Diameter Shafts with Baffles • Dual 5 HP / 3 Phase Gear Motors • Front & Rear Emergency Shut Off Bar • Safety Barriers & Electric Eyes • Controlled Motor Drive System for Start & Stop • Running Amber Beacon • Reversing Red Beacon & Buzzer • Emergency Stop Control Module • Taper-Lock Sprockets • S ealed Flanged Roller Bearings • Revesing Magnetic Starter • 2' per Second Travel Speed NEW!
One Table System $87,900 Wasserman & Associates Framing Table With Panel Bridge -Laser Pointer -Bridge Auto Return -Bridge Tilt at Sheathing Seams -Programmable Fastener Patterns -Pop-Up Skatewheel Conveyors -6’-11” to 12’-5” Wall Heights -Fixed Squaring Stops -No Floor Rails *Includes Installation Support in the United States & Canada Wasserman & Associates 2341 Shepard Rd Milford NE 68405 Phone: 800-382-0329 Web: www.wasserman-associates.com $91,900 Additional Information Here

PANEL EQUIPMENT

2016 Triad Wall Assembly Equipment

2016 Triad exterior and interior wall panel lines with conveyors and terminal stations. Builds 2×4 and 2×6 walls up to 16’ in length with wall heights from 6’-9” to 10’-2” and includes Component Nailer model FTN and panel lift model XPL1000:

Exterior line includes (2) sets of Rough Opening Assembly tables model RO-CAT, framing table model Gen II with manual nail-gun tool dollies each side & stud locators at 16” and 24” o.c., squaring and sheathing table model Gen II with staple & routing combo bridge & side shift for seams @ 3” & 6” o.c. fasteners, top & bottom plate gun mounts for 6” o.c. fasteners, auto stop & tilt features, (3) 10 ft skatewheel conveyors, (4) 20 ft x 36″ roller conveyors and (4) powered infeed conveyors with chain track.

Interior line includes Rough Opening Assembly table model RO-CAT, framing table model Diamond Quad with manual nail-gun tool dollies each side, pop-up rollers & stud locators at 16” and 24” o.c., (2) 10 ft skatewheel conveyors, (4) 20 ft x 36″ roller conveyors.

System sold for over $223,000 new. Sold as one system only. 110 volt, 1 phase electrical required. 100 PSI air required.

Used Triad G2 Wall Assembly Equipment

Used Triad wall assembly equipment includes 16 ft x 12′-3″ max height framing station, model G2, with (2) two-tool dollies, squaring/ sheathing combo table, model G2 SH-SQ, with multi-tool mount nailing bridge and separate manual-drive router bridge, quantity of (6) 10 ft long x 2 ft wide idler roller conveyors with (4) legs, and Triad model FTCN component nailing station with four Hitachi NR83A nail tools.

Framer includes 16″ and 24″ color-coded stud locators, pop-up skate wheel conveyors, tool dollies have two tool mounts each (no tools) and powered height adjustment. Sheathing bridge includes joy-stick controls, tool offset, tool tilt, laser guide, power return and mounts for up to (23) Hitachi nail tools. Router and all available spare parts included. 120 volt, 1 phase, 30 Amp electrical required. 100 PSI air required.

FOB CA

PANEL EQUIPMENT

Wall Panel Work-Station (Green)

Custom fabricated, heavy-duty table ideal for producing rough openings, rake-walls, even interior walls. Table features a squaring lip, double-row pneumatic liftouts, duplex 110v outlet for hand tools. Table dimensions: 16’ 4 1/2” long, 9’ 5” wide, 30 1/2” high.

$9,490 FOB KY Wood Tech Systems 765-751-9990 www.woodtechsystems.com

Wall Panel Work-Station (Blue)

Custom fabricated, heavy-duty table ideal for producing rough openings, rake-walls, even interior walls. Table features a squaring lip, double-row pneumatic liftouts, duplex 110v outlet for hand tools. Table dimensions: 17’ 8 3/4” long, 9’ 5” wide, 25 1/2” high.

$9,490 FOB KY

Wood Tech Systems 765-751-9990

www.woodtechsystems.com

PHONE: 800-289-5627 FAX: 800-524-4982Read/Subscribe online at www.componentadvertiser.com Don’t Forget! You Saw it in the Adverti$$er November 2022 #14280 Page #65A dverti $ er Component manufaCturing mThe 765-751-9990 www.woodtechsystems.com
Price: $274,900 Location: NV
765-751-9990 www.woodtechsystems.com
$40,997
The Industry-Leading Manufacturer of Panelized Wall Panel & Floor Cassette Equipment. IMPROVE CONSISTENCY INCREASE EFFICIENCY OUR POPULAR PANELIZING PRODUCTS WOOD WALL FRAMING STATIONS WOOD WALL SQUARING STATIONS WOOD WALL SHEATHING STATIONS LIGHT GAUGE STEEL FRAMING & SHEATHING WWW.PANPLUS.COM 1-866-726-7587 PLATINUM SERIES AUTOMATED SHEATHING STATION The Platinum Series Automated Sheathing Station is the most automated sheathing station that Panels Plus offers and reduces the amount of time an operator needs to be hands-on during the sheathing process. This sheathing station is driven using MiTek Software and completely fastens sheathing to studs, blocking, headers, and sill plates to ensure quality panels every time. This model can be stand-alone or integrated into a larger system. Various sizes and configurations are available.

IBS/Comsoft

New Panels Plus Wall Panel Framing Equipment

Consider Panels Plus wall panel assembly equipment for manufacturers of wood or steel wall panels, floor-panels, and related framing components. Panels Plus is an employee owned, ISO certified, manufacturing company that builds state-of-the-art equipment featuring durable construction, with fit and finish second to none in the structural building component industry. The referenced base framing table allows you to assemble from 7-12 foot wall heights, at industry standard 16 foot lengths, at a working height of 29 to 32 inches. This framer design includes controls at each end of table, squaring stops and pneumatic clamping for consistent wall panel quality. Frames 2x4 or 2 x 6 walls, with color-coded, steel stud locators at 16 and 24 inches O.C. spacing. Includes pop-up skate wheels for easy transfer of completed wall frame. Framing table can be configured to receive wall framing light bars, other options include custom buildable wall heights, lengths and auto-indexing of optional 2 or 3 tool carriages.

Additionally from Panels Plus are sheathing tables with features that include foot pedal control at squaring end of table, with squaring stops, roller conveyors at both sides, single pendant controls for bridge, tool spacing at 6 inch centers with 3 inch bridge shift for offset nailing. Tool bridges can accommodate from 2 x 4 to 2 x 8 walls, with seam tilt being standard equipment Panels Plus Tool Bridges are available with single beam or dual beam design for two different tool mounts on one bridge. Squaring stations, sub-component tables, conveyors and panel lifts are also available to complete the configuration of the wall panel assembly line. Price includes factory installation and training. 50 CFM at 120 psi air. 120 or 230 volt, 1 phase electrical.

765-751-9990 www.woodtechsystems.com

PHONE: 800-289-5627 FAX: 800-524-4982Read/Subscribe online at www.componentadvertiser.com Don’t Forget! You Saw it in the Adverti$$er November 2022 #14280 Page #67A dverti $ er Component manufaCturing mThe
CLICK HERE for more information NEW! PANEL EQUIPMENT New Component Table with Skatewheel Conveyors Lift & Extend Skatewheel Conveyors. 10' x 10' Work Area with Squaring Lip. Gun Holster & Nail Tray. $11,900 FOB NE Wasserman & Associates 800-382-0329 www.wasserman-associates.com
Wall Panel Light Bars Reconditioned dual 16’ foot long light bars, includes spare light board. Light bars are compatible with all light-bar equipped or ready IBS/Comsoft, Panels Plus, etc. wall panel equipment driven by ITW (IBS) or other compatible design software. 110 volt, single phase electrical. $18,890 NOW $16,550 FOB MN. Wood Tech Systems 765-751-9990 www.woodtechsystems.com 765-751-9990 www.woodtechsystems.com NEW! Spida Automated Wall Sheathing Station $274,900 FOB NZE/IN New Spida fully-automated CNC controlled sheathing station, fastens sheathing to wood frame wall panels from 2×3″ to 2×8″ nominal, in wall heights from 7′ to 12′. Straightens studs from the underside of the panel prior to firing fasteners. Fixed bridge fires fasteners into sheathing as wall panel passes under bridge. Works with tools firing up to 3 1/2″ nails. Features touch-screen controls, (4) high-speed nail tools, automated tilting of tools at seams and powered transfer of panels. Approximate size is 18 ft wide x 27 ft long. 230 / 460 volt, 3 phase electrical required. 100 PSI at 28 CFM. 2004 Triad Sheathing/Routing Bridge Triad model PSRB Sheathing/Routing bridge builds minimum 3′ 9″ and maximum 12′ 3″ walls. includes: staple/nail bridge (no tools included) with auto return, 24 tool mounts, Porter-Cable Router, laser sight & joystick control. Bridge only, no table included. 120v, 100 PSI air required. $8,490 Wood Tech Systems 765-751-9990 www.woodtechsystems.com

Your software. Your data. Your decisions.

Modern business relies on actionable data to drive decisions. That’s why truss component manufacturers rely on Simpson Strong-Tie. As a partner to the construction industry, we’re continuing to invest more resources in solutions built just for you. Our open-platform software can be integrated with your existing systems and equipment for smoother collaboration inside and outside the company. At the same time, it provides secure access to proprietary data, so customized reports can be created with greater ease and control. Use your data, your way, and drive business results.

Get the software you need to manufacture business success. To learn more, visit our website at go.strongtie.com/componentsolutions or call (800) 999-5099.

© 2022 Simpson Strong-Tie Company Inc. TRUSS23SOFT
Simpson Strong-Tie® Building Technology | Software and Service for Smarter Business

2021 Triad Router Bridge & Portion of V-Track

2021 Triad Routing Bridge with approximately (20) feet of v-track. Fits over tables that build up to 12′ nominal height wall panels. Includes powered automatic bridge return, powered vertical router movement, manual fine adjustment wheel, manual vertical router travel with chain drive and (1) Milwaukee router, catalog #5625-20 120 volt, 1 phase, 15 Amp electrical required. No table included.

$28,970 NOW $5,000 FOB BC

Wood Tech Systems 765-751-9990

www.woodtechsystems.com

New Panels Plus Floor Cassette Framing Station

Price: $Call for pricing

FOB: MN

IBS Tool Bridge & Router Bridge

IBS multi-tool bridge with (24) tool stations.

features auto-return, button controls and laser guide mount. Fits up to 12′ nominal rail centers. IBS router bridge features (1) router, laser guide mount and lever-switch button controls. Fits up to 12′ nominal rail centers. Sold as a pair. Includes all available floor mounted, v-rail. Both bridges missing laser sub-assembly. 120vac, 120psi air.

$15,975 FOB UT

Wood Tech Systems 765-751-9990

www.woodtechsystems.com

New Panels Plus floor framing machine, supports the structural members creating floor sections from 2" x 6" LVL through 2" x 10" to 2" x 12" dimensional lumber, 20" deep wood floor trusses or engineered wood / I-joists. Standard footprint of floor panels (cassettes) up to 12' wide x 45' long. Table consists of a fixed section and a track-guided, moveable section controlled by either a foot switch or push-buttons.

Includes a series of color-coded locator pins at 16", 19.2 and 24" on-center spacing and clamping with squaring feature including foot pedal control. The locators individually flip down if a joist comes out on top of them. After the floor is complete and unclamped, the floor section can be raised up on skate-wheel conveyors and rolled out or lifted off the table using an overhead crane. Table height is 24.5", OAL 45.5 ft, OAW 14.5 ft. 120 volt, 1 phase, 15 Amp electrical required. 90 to 120 PSIG at 15 CFM air required.

www.wasserman-associates.com

PHONE: 800-289-5627 FAX: 800-524-4982Read/Subscribe online at www.componentadvertiser.com Don’t Forget! You Saw it in the Adverti$$er November 2022 #14280 Page #69A dverti $ er Component manufaCturing mThe A dverti$er Component manufaCturing S erving the S tructural B uilding c omponent S i ndu S try The 765-751-9990 www.woodtechsystems.com NEW!
PANEL EQUIPMENT 2007 VIKING 16' X 12' SQUARING TABLE WITH SHEATHING BRIDGE • 16' x 12' Squaring Table with Powered Width Adjustment & Powered Chain Conveyor • Wall Panel Lengths up to 16', Wall Panel Heights from 4'-0" to 12'-2" • Swing Gates at Both Ends of Squaring Table • Automated Field & Edge Nailing Driving by Panel Pro Event Software & Your Programmed Nailing Patterns • Simple Touchscreen Controls • 2 Tool Carriages for Sheathing Nailing with Tilt Function for Seams • 2 Paslode Nail Guns with High Load Coil Tray • Auto Sheathing Bridge Return • Includes 4 Pallets of Magnum Coil Nails (2 3/8 x .113) • 480 Volt / 3 Phase $29,900 FOB KS. Wasserman & Associates 800-382-0329 www.wasserman-associates.com
Bridge
New Wall Panel Lift • 8' to 12' Wall Heights • 1,000 Lb Capacity • Weight: 120 Lbs • Excludes: Electric Hoist & Freestanding Bridge Crane $1,850 FOB NE Wasserman & Associates 800-382-0329
800-289-JOBSJobLine.com, inc. Time To Hire? We’re here when you need help! visit: www.thejobline.com email: twm@thejobline.com STRICTLY CONFIDENTIAL! The

Alpine has it all—the right equipment, user-friendly software and dependable hardware to improve your teams efficiency. Alpine delivers the complete package for success—including comprehensive support and service that sets us apart within our industry.

Ask those who know. They’ll tell you about the people at Alpine who make a difference.

“Alpine has been our partner for the 20 years we’ve been in the truss industry. Their service and product innovation are second to none!”
— Joe Nolte, Noltex Truss
BUILD MORE. alpineitw.com | 800.521.9790
PHONE: 800-289-5627 FAX: 800-524-4982Read/Subscribe online at www.componentadvertiser.com Don’t Forget! You Saw it in the Adverti$$er November 2022 #14280 Page #71A dverti $ er Component manufaCturing mThe NEW! New Panels Plus Combination Table Price: $Call for pricing FOB: MN 765-751-9990 www.woodtechsystems.com 765-751-9990 www.woodtechsystems.com 2007 Panels Plus Steel Wall Panel Sheathing Station $74,970 NOW $68,997 FOB MN 765-751-9990 www.woodtechsystems.com Triad 12 ft Gen II Sheathing Bridge & Track Triad Generation II nail tool bridge with 60 ft of v-track, refurbished by Triad in 2021. Maximum panel height clearance 12′-3″. Includes locations for (3) tool mounts along the middle beam, top & bottom plate tool mounts, tilt-tool option, joy-stick controls, power bridge return, e-stop button, all available Paslode tool mounts, manual and all available spare parts. 120 volt, 1 phase electrical required. 100 PSI air required. $75,971 NOW $69,997 FOB CO

2016 Triad Framer, Nail Bridge & Component Nailer

2016 Triad wall assembly equipment, model Diamond Quad Framer, Panel Nailer Bridge and Flow Thru Nailer. Builds from 6′-9″ to 9′-3″ panel heights to 16′-0″ long. Framer includes power height adjustment, (4) Hitachi nail tools, squaring stops, manual dollies and parking sections. Nailing bridge includes (18) Hitachi nail tools, laser pointer, 3″ tool shift function and plate fire. Flow Thru Nailer includes (4) Hitachi nail tools. Handle bar router and all available skatewheel conveyors are included. 120 volt, 1 phase electrical required. 100 PSI at 10 CFM air required at nail bridge and Flow Thru Nailer.

765-751-9990

www.woodtechsystems.com

PHONE: 800-289-5627 FAX: 800-524-4982Read/Subscribe online at www.componentadvertiser.com Don’t Forget! You Saw it in the Adverti$$er November 2022 #14280 Page #73A dverti $ er Component manufaCturing mThe
$74,897 FOB FL NEW 12' X 16' FRAMING TABLE 800-382-0329 | www.wasserman-associates.com • Add $11,900 for Sub-Component Layup Tables with Pop-up Skatewheel Conveyors • EQUIPMENT FINANCING available from SLS Financial Services $37,500 FOB NE • Pop-up Skatewheel Conveyor • Powered Height Adjustment (6'-11" to 12'-5" wall heights) • Fixed Squaring Stops • Excludes Tool Dollies • 110 Volt / 20 Amps • Add $6,000 for Stud Locators at 16" & 24" O.C. • Add $2,750 for 1 Pair of 15' Skatewheel Conveyor with Stands NEW! 765-751-9990 www.woodtechsystems.com Triad / Viking Wall Equipment Triad squaring table with two bridges and one Viking power conveyor. Either bridge fits on the squaring table. Builds from 6′-9″ to 12′-3″ tall wall panels to 16′-0″ long. Triad squaring table, model G2SHSQ, has powered clamp / unclamp controls on either end of the fixed side of table. Triad nailing bridge, model PSTT, has (24) tool mount locations with Paslode tool mounts, auto return and bottom plate laser sight mount. Changed by owner from staple tools to nail tools. Router bridge is manual travel. Viking powered conveyor 23 ft long with support platforms alongside both chains. Forward powered drive only. Foot pedal controls for drive motors. 120 volt, 1 phase electrical required. 100 PSI air required. $26,977 FOB MD
765-751-9990 www.woodtechsystems.com
IT’S ONE THING IN LIFE TO MAKE THE CUT. IT’S ANOTHER TO MAKE IT BETTER.
Designed for high-volume floor truss web output with even greater safety, the Monet DeSauw FWA-500 AC (for “automated controls”) offers the very latest in operator-friendly saw technology. Perfect for manufacturers running floor trusses in large volumes with variable web design, the 500 AC features automation for all blades, including the fixed cut-off blade for minimal waste. And without any need to open the saw motor cabinets, except for periodic service, you’ll benefit from enhanced safety as well. You might say that with the fully automated FWA-500 AC, Monet DeSauw has set a new standard. Again. Contact us today to discuss how this exceptional machine can positively impact your production goals.
Wood
Tech Systems is a registered trade name
of Wood Truss
Systems, Inc.

New Spida Wall Extruder Panel Assembly System

The concept of the Spida Extruder is to bring materials to a central location as the product is extended or “extruded” to create the framed wall panel. A single operator in one central location, feeds the studs and sub-components in-between the plates, while the Extruder does the nailing. The Extruder features (4) servo-controlled, indexing, bracket-mounted tools that can be coil or stick fed, hands-free clamping of plates and is adjustable for wall heights starting from 5’-11”, with options to build walls to 12‘3”, from 2×4″ to 2×8″ lumber.

An option is available to add an intermediate tool mount, for fastening blocking between studs, a notoriously slow process in wall panelization that usually reduces production. The Extruder design makes this connection much easier for the operator, keeping your wall production high.

The support stations are adjacent to the Extruder and operators at those stations build the sub-component openings, sub-assemblies (like ladders) which are conveyed to the central operator’s station, where they are dropped and nailed into the panel in sequence.

Conveyors and transfer tables of various configurations are used to bring the parts to the Extruder. Each design takes advantage of curved or raised conveyors to efficiently bring materials to the Extruder and fit within your plant’s material flow in the most efficient way possible.

Once the wall panel is framed, it proceeds by conveyor to a squaring station and a sheathing station for completion. Here too, the sheathing is fastened as the panel passes by the sheathing bridge with its’ (4) four, high-speed tools. There are options for router bridges and automated ply loading. The Spida Sheather is a fully automated, CNC machine that features touch screen controls and tilt nailing at seams.

Over ten years in development and use in Australia and Asia, there are now several locations using the Extruder here in North America. A typical system can be installed in about (5) hours thanks to the modular, “plug-and-play” design of the Spida wall equipment. 120 volt, 1 phase, 15 Amp electrical required and 110 PSI air @ 6 CFM required for each Extruder and Sheather station.

PHONE: 800-289-5627 FAX: 800-524-4982Read/Subscribe online at www.componentadvertiser.com Don’t Forget! You Saw it in the Adverti$$er November 2022 #14280 Page #77A dverti $ er Component manufaCturing mThe
Price: 178,300 Location: NZE/IN 765-751-9990 www.woodtechsystems.com New! 765-751-9990 www.woodtechsystems.com 2019 Triad Gen 3 Framing Station with Trident Tool Dollies 2019 Triad Gen 3 framing station with Trident tool dollies builds up to 16 ft long walls from 4 ft to 12 ft in height with 2×3″ through 2×8″ material. The framer clamps and squares components with push button activation before nailing. The trident tool dollies use a single tool per dolly and can be set up to accommodate the nail spacing and quantity of nails. Pop-up skate wheel conveyors assist with moving the wall or components. 110 volt, 1 phase electrical required. $68,990 FOB MA 800-382-0329 | www.wasserman-associates.com 2014 TRIAD RAKE WALL TABLE • Wall Lengths to 12' • Wall Heights to 40' • Powered Height Adjustment • Manually Adjustable Rake Side (0 to 12/12 pitch) • Adjustable Squaring Stop • Pop-Up Skatewheel Conveyors • Stud Locators at 16" and 24" Centers • Center Support Bar with Stud Locators • Excludes Tool Doilies • Price is in US Dollars $37,900 NOW $29,900 FOB Ontario
Wall Panel Lift * 8’- 12’ Wall Height * 1,000 LB Capacity * Easy Adjustment * Hoist and Crane Sold Separate Handle Bar Router * 8’ - 12’ Wall Height * 2 Person Operation * 3 ¼ hp Production Router * 120 Volt /1 Phase/15 Amp Lay-Up Tables * 10’ x 10’ Working Area * Lift & Extend Rollers * Squaring Lip * Gun Holster And Nail Tray Skate Rollers * 15’ Standard Length * Adjustable Height * Sturdy Stands * Custom Lengths Available EST. 1991 $11,900.00 Wasserman & Associates Wall Panel Line Accessories New Equipment New Equipment $2,750.00 $3,000.00 $1,850.00

New PROSTACK

Developed in a commercial wall panel production facility this is the remarkable ProStack, fully automated wall panel stacker. The ProStack relieves your build team from creating a stack of wall panels and keeps them building walls instead. Stacks 2×4 through 2×8 walls up to 20′ in length and up to 12 feet in height. The ProStack automatically centers each layer including multiple wall

on the same layer, and the ability to “create” fork lift pockets for ease of loading in your yard or on the build site. (Please see video for more.) 208 volt, 3 phase, 45.3 full Amp load electrical required. No air required. Footprint is 26′-5″L x 19′-3″W.

Assembly Equipment

2016 Triad exterior and interior wall panel lines with conveyors and terminal stations. Builds 2×4 and 2×6 walls up to 16’ in length with wall heights from 6’-9” to 10’-2” and includes Component Nailer model FTN and panel lift model XPL1000:

Exterior line includes (2) sets of Rough Opening Assembly tables model RO-CAT, framing table model Gen II with manual nail-gun tool dollies each side & stud locators at 16” and 24” o.c., squaring and sheathing table model Gen II with staple & routing combo bridge & side shift for seams @ 3” & 6” o.c. fasteners, top & bottom plate gun mounts for 6” o.c. fasteners, auto stop & tilt features, (3) 10 ft skatewheel conveyors, (4) 20 ft x 36″ roller conveyors and (4) powered infeed conveyors with chain track.

Interior line includes Rough Opening Assembly table model RO-CAT, framing table model Diamond Quad with manual nail-gun tool dollies each side, pop-up rollers & stud locators at 16” and 24” o.c., (2) 10 ft skatewheel conveyors, (4) 20 ft x 36″ roller conveyors.

System sold for over $223,000 new. Sold as one system only. 110 volt, 1 phase electrical required. 100 PSI air required.

PHONE: 800-289-5627 FAX: 800-524-4982Read/Subscribe online at www.componentadvertiser.com Don’t Forget! You Saw it in the Adverti$$er November 2022 #14280 Page #79A dverti $ er Component manufaCturing mThe 765-751-9990 www.woodtechsystems.com
2016 Triad Wall
$185,970 FOB NV
WALL PANEL STACKER
segments
Here are some of the features of the ProStack Wall Panel Stacker: • Wall Length Max – 20’ • Wall Height Range – 8’ to 12’ • Material 2×4″ through 2×8″ • Total Weight capacity – 6,000 lbs. • Total stack Height Max – 6’ • This unit stacks on-center • System is able to stack on center layers that have multiple wall segments • Siemens controls • Full manual override controls via HMI • Speed – 45-60 seconds per wall layer $124,900 FOB MN 765-751-9990 www.woodtechsystems.com

IF ONLY YOU COULD NAIL EVERYTHING IN LIFE THIS EASILY.

With a Terminailer XP, it takes only one person to drive between 30% and 70% of the framing nails in any given job . And all this nailing is done within a secure enclosure, so your people are protected from costly nailing injuries while eliminating literally millions of repetitive motions ( 4,001,398 repetitive motions to be exact , judging from the total nail count tallied recently on a two year-old Terminailer XP).

That’s a lot of nails successfully installed to be sure, and a lot of debilitating repetition your workers’ hands are spared, without any complicated training, software or lengthy setup time required.

Developed by people who know wall panel production, Terminailer XP boasts multiple repeat buyers, 20-plus machines performing exceptionally in the field and tens of millions of nails installed. Thoroughly field-proven, Terminailer is ready to drive greater productivity for you. Contact us today for more information.

765-751-9990 www.woodtechsystems.com

Wood Tech Systems is a registered trade name of Wood Truss Systems, Inc.

PHONE: 800-289-5627 FAX: 800-524-4982Read/Subscribe online at www.componentadvertiser.com Don’t Forget! You Saw it in the Adverti$$er November 2022 #14280 Page #81A dverti $ er Component manufaCturing mThe 2003 JDH TRUSSMASTER SIDEOFFLOADING TRUSS TRAILER 10,000 Lb Tandem Axles (Dual Wheels). 26,000 GVWR. Deliver Trusses Vertically. Stretch from 18' to 38'. Raise Loads Hydraulically. Air Brakes. $6,900 FOB CA Wasserman & Associates 800-382-0329 www.wasserman-associates.com TRUCKS & TRAILERS 2006 A-NU-PROSPECT Step Deck Roller Trailer 40'-0" Lower Deck, 12'-6" Upper Deck Hydraulic Tilt on Lower Deck Lower Deck has 3 Split Load Lifts Roller Locks (upper & lower decks) GVWR: 37,000 KG (81,400 LB) Air Ride Suspension Tires & Brakes are Good Winches & Straps Price in US Dollars $30,000 NOW $24,900 FOB ON Wasserman & Associates 800-382-0329 www.wasserman-associates.com 1995 Pines 45' Chip Trailer • Modified by LMI TENN • 8" Floor Cross Members • Reinforced Roof • 22.5 Tubeless Tires • Sl iding Tandem Axle (for weight distribution) (FOB PA) $9,900 Wasserman & Associates 800-382-0329 www.wasserman-associates.com 1987 Barnes Pole Trailer 1987 Barnes pole trailer, model RTY. Carries trusses peak down, with spans from 28’6″ to 46′-0″. Includes bolster arms for shorter trusses, center chains and split support tubes. Has current Pennsylvania DOT inspection valid through March of 2023. $8,129 FOB PA Wood Tech Systems 765-751-9990 www.woodtechsystems.com 2005 JDH TRUSSMASTER 35'-50' STRETCH ROLL-OFF TRAILER • Hydraulic Front End • Fixed Tandem • Spring Suspension • Air Brakes (Good Condition) • 1 Tire Needs Replaced • Locking & Controllable Rollers • Not used in the last 12 months (DOT is not current) NOW $22,500 FOB KS Wasserman & Associates 800-382-0329 www.wasserman-associates.com 2007 Freightliner Truck with Hiab Knuckle Boom Crane • 2007 Freightliner M2 Flatbed Truck (168,000 Miles) • New Tires in 2022 ($12,000 Value) • Hiab 322E-7 Hipro Crane (FOB WA) $89,000 800-382-0329 | www.wasserman-associates.com Used 6-Head SLLasers System Used (mix of 2013 & 2014) SL-Lasers, model PD-6, green laser system. Six head system with PC in stand-alone enclosure & two spare heads that need diodes and galvos. (Parts are available for this model by OEM at an additional cost.) Lasers project roof truss, floor truss and wall panel design images accurately onto building surface, for faster setup and fabrication times. (For further details, please see listing on WTS website.) $98,970 NOW $88,970 FOB AL 765-751-9990 www.woodtechsystems.com 1993 Lakeside 42'-60' Stretch Roll-Off Trailer • Hydraulic Front End • Sliding Tandems • Locking Rollers • Spring Suspension • Air Brakes • Headache Rack • New Wiring • DOT is not current (out of service for 2 years) • One of the Hydraulic Lift Cylinders needs replaced $18,500 FOB ND Wasserman & Associates 800-382-0329 www.wasserman-associates.com

Securing Funding in a Rising Interest Rate Economy

Withinterest rates on the rise, it’s important to consider working with funders who are not as quick to increase rates. You need a lender who will help you not squeeze you, in this economic climate or any climate. You need a company that will work with you to do the best they can for you.

Here at Acceptance Leasing and Financing, we have strong working relationships with the top funders in the business and can pass on the best rates in the industry to you, despite the rising rate environment.

New programs are being created and marketed all the time, and we would be pleased to introduce you to them so that you could take advantage of these offers.

One obvious advantage we have is to be able to lock in a rate regardless of the delivery date of the equipment. With supply chain disruptions, you want to be able to secure a lower rate now and not be exposed to the uncertainty of what rates may be like months into the future.

Of course, many programs that you may not be aware of are on-going. “Application Only” financing permits you to apply for financing with a minimum of paperwork. We also offer deferred payment programs which allow you to make minimal monthly payments during your slow season to help you with cash flow issues.

And of course, there is always the flexibility of deciding the terms of your financing, from 24 months up to 84 months in some cases.

We invite you to contact us at 412 262-3225 to learn what programs are currently in place to help you with your borrowing needs. And remember, there is no annual financial reporting required after you’ve been approved. The only collateral is the equipment being financed.

We are Acceptance Leasing and Financing Service, Inc. We’re proud to be celebrating our 30th anniversary in business this year. Established in 1992, we pride ourselves on our Certified Leasing and Financing Professional designation. We are a member of SBCA and a frequent attendee of the BCMC tradeshow. We can provide financing for any new and, regardless of age, used equipment.

We look forward to working with you.

PHONE: 800-289-5627 FAX: 800-524-4982Read/Subscribe online at www.componentadvertiser.com Don’t Forget! You Saw it in the Adverti$$er November 2022 #14280 Page #82A dverti $ er Component manufaCturing mThe
PHONE: 800-289-5627 FAX: 800-524-4982Read/Subscribe online at www.componentadvertiser.com Don’t Forget! You Saw it in the Adverti$$er November 2022 #14280 Page #83A dverti $ er Component manufaCturing mThe Used 3-Head SLLasers System Used (mix of 2013 & 2014) SL-Lasers, model PD-6, green laser system. Three head system with PC in stand-alone enclosure & one spare head that need diodes and galvos. (Parts are available for this model by OEM at an additional cost.) Lasers project roof truss, floor truss and wall panel design images accurately onto building surface, for faster setup and fabrication times. (For further details, please see listing on WTS website.) $49,970 NOW $39,970 FOB AL 765-751-9990 www.woodtechsystems.com Start smarter... Grow faster... Achieve more... cvillella@acceptlease.com | www.acceptlease.com 894 Beaver Grade Road, Suite #304 - Moon Township, PA. 15108 Phone: 412-262-3225 Fax: 412-262-1154 Keep More of Your CASH Eliminate Yearly Financial Reporting Low Fees Fixed Payment Programs No Additional Collateral Now offering short term Working Capital Loans “Serving the Component Industry Since 1996” Start smarter... Grow faster... Achieve more...

AMI Industrial Floor Carts

AMI's industrial floor trucks (material carts) are designed of hardwood construction, fitted with space-age phenolic, roller-bearing wheels, and ball bearing swivel casters for strength and durability. AMI's phenolic wheels resist shock without chipping. They are non-sparking, non-marking, and can be operated continuously between -50℉ and 260℉. They are unaffected by grease, oil or debris on your shop floor.

Series "B" AMI Industrial Floor Truck

Hain 20' Powered Measuring System

Adapts to Any Saw. Left or Right Hand Operation. Feet & Inches System (Stops at 12” Centers) or Inches System (Stops at 10” Centers). Motor: 1/4 HP Linear Actuator (110 Volt). Stop Rail: 2 x 4 x 1/4” Aluminum Extrusion. Stops: Jig Bored Steel. Stop Blocks: Machine Billet Aluminum. Optional Lengths from 5’ to 60’. Optional Gang Stop. Add $890 per 10’ Section of Heavy Duty Roller Conveyor with Stands $7,890 Wasserman & Associates 800-382-0329 www.wasserman-associates.com

Since

We create transformative website and app experiences

make websites

industry to empower companies to reach a

base and engage their audiences. Companies

around the world work with us to make websites and

that people actually want to use. Reach out to Wolf X Machina if you're a business and you want a website that actually drives results.

WOLF X MACHINA www.wolfxmachina.com info@wolfxmachina.com

MISC.

Scrap Incline

legs, side-rails,

power

Where-Is.

$1,990 FOB KY

Wood Tech Systems 765-751-9990 www.woodtechsystems.com

2017 CMF-Stealth Live Deck

2017 CMF-Stealth Live Deck, (6) rail/ pedestal design, 16′ wide x 20′ long, powered infeed for component saws. Handles lumber lengths from 3′ to 20′. Features guarded sprockets, heavy-duty construction, dual push-button controls at both ends of deck and adjustable base feet. Split-design, easily shipped and installed. Multi-voltage 3 phase motor. Steel panels between rails not included.

$28,497 FOB PA

Wood Tech Systems 765-751-9990

www.woodtechsystems.com

PHONE: 800-289-5627 FAX: 800-524-4982Read/Subscribe online at www.componentadvertiser.com Don’t Forget! You Saw it in the Adverti$$er November 2022 #14280 Page #85A dverti $ er Component manufaCturing mThe
MISC.
Our swivel casters are precision built with perfectly aligned raceways. All cold-form parts are made to exacting tolerances from heavy-gauge steel, and are hardened for severe service and long wear. Series B-4 carts include four casters, one at each corner, to prevent "tri-cycling" of long lumber loads. Standard Models Available Max Load Weight (lbs.) 2748 27" x 48" Series "B" & "C" 2500 3248 32" x 48" Series "B" & "C" 2500 3260 32" x 60" Series "B" & "C" 2800 3660 36" x 60" Series "B" & "C" 2800 3672 36" x 72" Series "B" 4000 4072 40" x 72" Series "B" 4000 3696 36" x 96" Series "B" 4000 4896 48" x 96" Series "B" 4000 *Other models and sizes are available on request. FOB NC. Wood Tech Systems 765-751-9990 www.woodtechsystems.com NEW GALVANIZED STEEL STRAPPING 1 1/4" wide x .035 thick. $69 $59 per coil. $1,449 $1,155 per skid (21 coils). FOB PA. Wasserman & Associates 800-382-0329 www.wasserman-associates.com New Hain Company Micro Mini Measuring System Video Here $3,499 FOB CA Wood Tech Systems 765-751-9990 www.woodtechsystems.com INGERSOLL RAND ROTARY SCREW AIR COMPRESSOR Model UP6-15c-210. 15 HP. 38 CFM at 210 PSIG. 120 Gallon Tank $7,900 NOW $5,900 FOB NE Wasserman & Associates 800-382-0329 www.wasserman-associates.com
2006, we've been helping businesses of all kinds build their online presence. We
and software for the construction
wider customer
all
apps
Conveyor Adjustable
rough-top belt, 3-phase
As-Is,
A dverti$er Component manufaCturing S erving the S tructural B uilding c omponent S i ndu S try The
PHONE: 800-289-5627 FAX: 800-524-4982Read/Subscribe online at www.componentadvertiser.com Don’t Forget! You Saw it in the Adverti$$er November 2022 #14280 Page #86A dverti $ er Component manufaCturing mThe National Crane 680-HTM Tractor Mount, Multiple Units Available Call Dan at 800-824-6704 www.runnionequipment.com • 20 ton capacity • 80’ boom – 90’ tip height • Out and down outriggers • Single front outrigger for 360 degree stability • Continuous rotation • Adjustable swing speed control • 5th Wheel • Freightliner and Peterbilt • OSHA and DOT Certified Fitzgerald Group, LLC a blending of excellent services and products, with answers that work...!© Not producing the results you need or want – getting conflicting info about what to do and the equipment and the systems you may need? Before you Buy - Ask yourself –do I need a salesman or a guide? If you want an Independent Guide that has your bottom-line results as the #1 priority, Call Me. If the salesman will do - we'll talk later... Also, don't let Financing Deals influence your best solution. FitzGroup can arrange – Zero down & No payments for 90 Days! Please be assured that your investment with any of our selected partners will not cost one penny more with the Fitzgerald Group as your purchasing contact. In addition, you will receive the full advantage of our Partner Relationships and Services NOT offered elsewhere. RFitzgerald@FitzGroup.com 719.528.5445 www.FitzGroup.com ProCut™ UC-4 shown UC LINEAR SAW SERIES ™ ProCut LLC (612) 521-9193 3219 N 2nd St Minneapolis, MN 55412 www.eidemachinery.com/emsi-procut Maximize your output with ProCut™ Material Handling Systems For Roof, Floor, and Wall components: Webs, Chords, Sliders, and Wedges - up to 4-boards high! The ProCut™ Linear Saw Series is configurable to any assembly line - Providing a safe, accurate way to cut your lumber, while keeping your materials moving on your line. Eliminate carts and congested staging areas in your plant. The ProCut™ saw, when used in combination with the ProDeck™ and our Custom Material Handling Systems, can be configured to improve the flow of perfectly cut parts and materials directly to your assembly stations. The ProCut™ UC Linear Saw Series offers many variations to suit your plant and assembly line. Let us design a system for you.

Quincy 15 HP Reciprocating Compressor with Tank

Quincy QT-15 splash lubricated, reciprocating compressor with 120 gallon tank.15HP motor supplies a manufacturer stated 52.5 CFM at 175 PSI. 230v, 3 phase electrical.

$2,990 FOB IN

Wood Tech Systems 765-751-9990

www.woodtechsystems.com

New SL Laser Projection System

Used 2015 Woodrunner Lumber Retrieval System

The WoodRunner WR-2 lumber retrieval system seeks and retrieves the exact boards needed to cut. The core of the system is a trolley with an automated picking head. The trolley moves back and forth on a runway truss positioned over lumber carts while the picking head’s laser scans below. After locating the specific piece of lumber needed, the picking head uses a powerful vacuum to hold the board while moving it to the infeed deck.

Call for Price

Eide Integrated Systems, LLC 612-521-9193

www.eidemachinery.com

New, laser projection system from SL Laser. Projects roof truss, floor truss and wall panel design images accurately onto building surface, for faster setup and fabrication times. Each laser head provides 21' projection length (@15 foot ceiling heights). Includes system computer, cables, mounting hardware for attachment to customer's structure, factory installation, training and choice of green or red laser. Works with each connector plate manufacturer's design software. Modular nature of the laser heads allows for easy, future expansion of system length. 120 volt, 1 phase. FOB NC Wood Tech Systems 765-751-9990

www.woodtechsystems.com

Virtek LPS-6R, 3-Head System

2003 Virtek, 3-head system, model

includes

with

and

heads for

Generation 3, Used 2018 Triad Framing Table

and

Projection area of 14′

20′ with proper

height

work area. Red laser projection. 110 volt,

phase electrical.

$9,890 FOB OK

Wood Tech Systems 765-751-9990

The Generation 3 Framing Table has adjustable 20’ long walls, with wall heights from 6’9” to 14’3”. Studs are placed between color-coded stud locators. With just a push of a button, the width adjustment clamp is activated to clamp and square all components. The Generation 3 Framer features a wider table top, designed with the framer in mind. Our new Anti-Slip Surface that allows the operator to work on a comfortable and safe surface.

Call for Price Eide Integrated Systems, LLC 612-521-9193

www.eidemachinery.com

on

It

to the next in

simple to use. Even a first

It can adapt to any saw and

with your existing

operation and

preference. The MEA is

PHONE: 800-289-5627 FAX: 800-524-4982Read/Subscribe online at www.componentadvertiser.com Don’t Forget! You Saw it in the Adverti$$er November 2022 #14280 Page #87A dverti $ er Component manufaCturing mThe
MISC.
LPS-6R,
PC
monitor
keyboard, PC enclosure, two LPS-6R
parts
all available power cords.
x
mounting
over
1
www.woodtechsystems.com theHAINCOMPANY 6125 Enterprise Drive, Unit 9 | Diamond Springs, CA 95619 530.295.8068 | sales@thehaincompany.com Electrical Supply: 110 VAC Motor: 1/4 HP, 110 VAC, Linear Actuator Highly Accurate: +/- .010 Inches Stop Rail: 2 x 4 x 1/4 Aluminum Extrusion Stops: Jig Bored Steel Stop Blocks: Machine Billet Aluminum Internal Components: Hardened, Ground and Polished Steel and Billet Aluminum Dimensions: Length: 5 feet (60”) to 60 feet (720”) Height: 12 inches Depth: 12 inches If you are looking for the fastest, most consistent way to measure and cut your product, then the Hain Measuring System (MEA) is your answer. The MEA changes from one length t any length instantly, up to 60’, without changing the operator’s position on the line.
is also highly accurate (+/- .010) and quickly moves from one length
seconds. The MEA is designed for quick and easy setup and is
time user will be productive with little or no training required.
can be mounted to any surface so that you can integrate the MEA
setup. The MEA is versatile allowing “left” or “right” handed
measurement in “feet and inches” or “inches” depending
your
also available in a “Skid Mounted” version.

JobLine Turns 30!

When I think about JobLine turning 30, my first thought is: how did time go by so fast

Then again, with everything we have done over the years, it makes me smile. We’ve achieved a lot, from pioneering the Candidate Profile, which gives employers a “first interview” and candidates a true representation of their value and capabilities, to the Component Systems Institute (CSI), the first Truss Designer Training Center where any employer could send promising students. The 4-week course covered basic design skills, complex math skills, load path development, blueprint reading, and handson computer experience using MiTek, Alpine, or Truswal Software. Students came in with little or no truss design experience and left with the ability to design basic truss packages. The math and design properties learned at CSI prepared students to advance, with reduced errors and greater confidence. Geordie Secord did an outstanding job leading that effort, and now he is back to run our Canadian recruiting office.

Congratulations Thom and The JobLine for celebrating 30 years in business! As I have worked with you and your company over those 30 years, I have never considered you a recruiter and that has always been important to me. I have considered you a partner in my business who, when I call, will work hard to find the right person for the job I need to fill. I have also respected the fact that you have never called me or any of my employees to encourage them to move to another company, and your integrity in this area has always impressed me very much. You have always been pro industry, pro company, and pro employee, which is very difficult to do but you balance it well. You have built a great company and I wish you all the best in your future endeavors.

Along with CSI, JobLine created the National Truss Design Skills Evaluation, a truss design skills-focused evaluation that measured truss designers in 9 critical areas. The report compares these 9 areas with other designers we have tested over the years. I say compares in the present tense, because the evaluation is in its 8th version, and the comparison is against the thousands of designers we have tested since its inception. I know that “the test,” as it is now called, has helped many employers have greater confidence in a candidate’s abilities and has helped candidates show their value using a recognized industry standard. It is available if you need a solid benchmark to test a designer’s skills.

PHONE: 800-289-5627 FAX: 800-524-4982Read/Subscribe online at www.componentadvertiser.com Don’t Forget! You Saw it in the Adverti$$er November 2022 #14280 Page #88A dverti $ er Component manufaCturing mThe
Continued next page

I have enjoyed traveling and seeing how our clients produce the products our candidates help make possible. Seeing manufacturing operations not only helped me better understand the environment candidates would be working in, but it also gave me a chance to let my manufacturing animal out a little. Prior to starting JobLine, I was a multi-plant General Manager, Plant Manager, Design Manager, Designer, Estimator, and on down the line to a kid who cleaned out the saws. That experience helps me better understand what both candidates and employers are looking for. Just ask our employers, who go through the same detailed process as candidates do to understand their needs and what they have to offer. It’s like having a Recruiter Down the Hall to help make the best professional matches.

Happy 30th anniversary to The JobLine! Having been both a client and customer of The JobLine, I have been able to experience both sides of the table with the services they provide. Originally in my years as a truss plant GM, I utilized the search and placement services to locate and hire qualified talent for roles from truss designers to plant management. Being in unique locations at times can be a bit challenging when it comes to attracting applicants, but the knowledge and contacts Thom has in the industry have provided very qualified staff selections for our business units many times over the years. Later on, as I decided to relocate across the country, Thom was able to match my capabilities with an employer that I have been more than happy with for almost 10 years now and counting. Thom and The JobLine are truly experts in their field and an asset to the industry. Congratulations on the years of success you have earned – I am confident this will continue for many years going forward.

Thom and the entire JobLine staff have always conducted themselves very professionally and have been great to work with as an employer. Their attention to detail in trying to match the right candidate with the correct employer has always been a plus when searching for experienced employees. Congratulations on 30 years, my friend!

Danny B., Shelbyville, KY

Steve G., Dallas, TX

It may surprise you to know that I don’t solicit like other recruiters do and never have. I didn’t like being on the other side of that when I was a GM, so I don’t do it either. Sure, it means that fewer candidates cross my desk, but the ones who do and the ones who will work with me using the JobLine system are less likely to be tire kickers or job hoppers, and are more likely to be hired. JobLine candidates take the time needed to create a detailed profile, and that gives us the information needed to present a detailed application. For the employer, it’s almost like having a first interview. Employers and candidates can come to me knowing I will do my best for them, remain Strictly Confidential, and hopefully make matches that last. And, our retention record seems to agree!

It’s been a great ride, even with a slight hiccup back in the late ‘00’s. We are still here and have no intention of going away anytime soon. I am just as excited about where we are now, and the new projects JobLine has on the horizon, as I was when JobLine started in November of 1992.

JobLine got me this job!

Happy 30th JobLine! Did you hear that? Yea 30 years!

Your “recruiter down the hall,” I’ve been recruiting off-site manufacturing industry professionals for 30 years through TheJobLine.com. ConIact me for assistance with recruiting assignments or your outplacement job search: twm@thejobline.com.

PHONE: 800-289-5627 FAX: 800-524-4982Read/Subscribe online at www.componentadvertiser.com Don’t Forget! You Saw it in the Adverti$$er November 2022 #14280 Page #89A dverti $ er Component manufaCturing mThe

Design Connections Resolving Our Inevitable Mistakes

Ioncehad the sales representative for a software company looking to secure our business tell me that, in his view, being a truss designer (or panel designer) was like taking a never-ending math test in which any score less than 100% was failure. He was certainly of the “old school” when it came to his view of how staff should be managed, but it got me to thinking about this idea of pass or fail versus educate and develop.

Certainly, none of us likes to see mistakes. That is true of ownership and management obviously, but it is equally true for virtually all staff members – at least those with the positive work attitude that makes them a valuable part of your team. Your people are all human, and that means that some mistakes are inevitable. As a designer, I have always hated making mistakes! It exposed that I had slipped up in one or more ways, such as:

• Perhaps I misread the plans or failed to get clarification on some unclear detail,

• While creating the truss layout I made some type of data entry mistake,

• During the design process I failed to update my designs to the most recent model,

• Code-required or project engineer-specified requirements weren’t addressed.

Regardless of the cause of the mistake, there is always a cost to correct it. Someone once told me about a “Rule of 10” that applies to the cost of correcting a mistake:

• Re-doing a layout or fixing some designs before the work leaves the design department might cost $50,

• If the trusses or panels have been built but not yet shipped, the cost jumps x10 to $500,

• If the mistake is discovered after trusses or panels are on site and installed, it’s x10 again to $5,000.

Yes, I know these are broad generalizations, but I’m sure you would agree that the hard costs go up the later in the process that they are discovered. And any time a mistake makes it to the site, there is a cost to your company’s reputation that could be much worse than any back charges.

The framing foreman, site super, and others may be involved in communicating the problem, so that is pure lost time for them. The time needed for the truss plant to determine the cause of the repair and find a solution is almost always a delay to the site schedule. Finally, there is the time to implement the fix. Every step of getting the problem corrected has a cost correlated with it, and almost without fail your client understandably will expect to be compensated.

So, how should management respond when it’s clear that a mistake has been made? Here are my thoughts:

• When facing the client, I put the blame on our company and not solely on any individual. We are all part of the same team, and unless an individual is not a good part of the crew, we shouldn’t be throwing them under the bus. Doing so sends a message to all members of the team.

PHONE: 800-289-5627 FAX: 800-524-4982Read/Subscribe online at www.componentadvertiser.com Don’t Forget! You Saw it in the Adverti$$er November 2022 #14280 Page #90A dverti $ er Component manufaCturing mThe Continued next page
Geordie Secord, Senior Recruiter TheJobLine.com – Canada

• I make it clear to the client that this is not “normal” for our company (of course, if it was, that’s a whole other discussion) and everyone on our team regrets the progress delays that result.

• Where possible, I try to have the designer involved in resolving the problem. Often this is taken over by the design manager or a senior designer, but I think it’s important to keep the initial designer involved. He or she will see the effort needed to rectify the problem and hear the heated discussions that the salespeople or senior tech people have with the client.

• If our staff were going to the site to investigate the problem or to do some remedial work, I would try to have the designer at the site too. Some people have felt that sending a designer to site with their hammer and work boots was a punishment, but I’ve always emphasized that this was about learning: learning that our errors cause the client lost time; learning that mistakes require someone to do extra work to make it right; and, for the client, learning that both the company and the individual are going to make things right.

Mistakes are regrettable, but to some extent inevitable. How we respond can either make things worse or better in both the short term and long term.

Do you have any tips that you want to share on resolving design errors? I’d love to hear them!

If you want help

that

design job in Canada, please contact me. If your work is in the mass timber world anywhere in North America, I’d love to talk to you about connecting you to that next great job or candidate. You can reach me at secord@thejobline.com, or 800-289-5627 ext. 2. I’m also happy to engage at: LinkedIn.com/in/geordiesecord. www.thejobline.com

HSF

Hain Systems

measurement in “feet and inches” or “inches” depending on your preference. The MEA is also available in a “Skid Mounted” version.

PHONE: 800-289-5627 FAX: 800-524-4982Read/Subscribe online at www.componentadvertiser.com Don’t Forget! You Saw it in the Adverti$$er November 2022 #14280 Page #91A dverti $ er Component manufaCturing mThe
finding
next perfect component designer or
Framer The Hain Systems Framer (HSF) will help you build square and accurate wall panels for residential or commercial construction applications. It will help you cut building costs by saving time and improving your quality. It’s a reliable, efficient and proven system that features a ruggedly simple design. The HSF is based on a proven design with over 20 years of actual production use and maintenance experience. It comes fully assembled and is designed for portable job site framing or in-plant permanent installation. The table has many optional attachments and will support Mylar Tape wall layout or any other type of layout. The optional gun rails can also be retro-fit to any table. Details: Table Construction: Thick-wall Structural Steel Tubing, Jig Welded for Accuracy Air Supply: 90 psi (10 CFM Air Flow Recommended) Electrical Supply: 120 VAC Powder Coat: Industrial Gray Dimensions: Height: 43” Length: 16’ or 20’ Width: Adjustable 8’ to 10’ or 8’ to 12’ Shipping Weight: 3000 lbs Electrical Supply: 110 VAC Motor: 1/4 HP, 110 VAC, Linear Actuator Highly Accurate: +/- .010 Inches Stop Rail: 2 x 4 x 1/4 Aluminum Extrusion Stops: Jig Bored Steel Stop Blocks: Machine Billet Aluminum Internal Components: Hardened, Ground and Polished Steel and Billet Aluminum Dimensions: Length: 5 feet (60”) to 60 feet (720”) Height: 12 inches Depth: 12 inches If you are looking for the fastest, most consistent way to measure and cut your product, then the Hain Measuring System (MEA) is your answer. The MEA changes from one length t any length instantly, up to 60’, without changing the operator’s position on the line. It is also highly accurate (+/- .010) and quickly moves from one length to the next in seconds. The MEA is designed for quick and easy setup and is simple to use. Even a first time user will be productive with little or no training required. It can adapt to any saw and can be mounted to any surface so that you can integrate the MEA with your existing theHAINCOMPANY 6125 Enterprise Drive, Unit 9 | Diamond Springs, CA 95619 530.295.8068 | sales@thehaincompany.com Electrical Supply: 110 VAC Motor: 1/4 HP, 110 VAC, Linear Actuator Highly Accurate: +/- .010 Inches Stop Rail: 2 x 4 x 1/4 Aluminum Extrusion Stops: Jig Bored Steel Stop Blocks: Machine Billet Aluminum Internal Components: Hardened, Ground and Polished Steel and Billet Aluminum Dimensions: Length: 5 feet (60”) to 60 feet (720”) Height: 12 inches Depth: 12 inches If you are looking for the fastest, most consistent way to measure and cut your product, then the Hain Measuring System (MEA) is your answer. The MEA changes from one length t any length instantly, up to 60’, without changing the operator’s position on the line. It is also highly accurate (+/- .010) and quickly moves from one length to the next in seconds. The MEA is designed for quick and easy setup and is simple to use. Even a first time user will be productive with little or no training required. It can adapt to any saw and can be mounted to any surface so that you can integrate the MEA with your existing setup. The MEA is versatile allowing “left” or “right” handed operation and
RANGER RS is a trademark of ACER INC The RANGER RS system is protected under U.S Patent #8,960,244 and other patents pending Acer Inc. 301 Industrial Drive Rushford, MN 55971 USA 507-864-2220 www.acerinc.com There ’s nothing else like it Every plant layout is unique . That’s why every Ranger Retrieval System is built to order, sized for your operation, and matched to your choice of linear saw. The Ranger Retrieval System is built to order in lengths from 30 130 ft (9 40m), and can feed 1 or 2 linear saws.
PHONE: 800-289-5627 FAX: 800-524-4982Read/Subscribe online at www.componentadvertiser.com Don’t Forget! You Saw it in the Adverti$$er November 2022 #14280 Page #93A dverti $ er Component manufaCturing mThe MISC. 2005 Koorsen Connector Detector (For Repair or Parts) 6 detection zones to locate missing plates. Horn & zone lights indicate missing plates. 12" to 60" adjustable height from floor. 110 Volt / 1 Phase. New control panel switches & lights in 2014. Needs circuit board repair or replacement and new tower light. Includes 4 extra detection zone boxes. $2,500 NOW $1,500 FOB NE Wasserman & Associates 800-382-0329 www.wasserman-associates.com Ace Equipment Vertical Bailer Ace Equipment model Vertical Bailer, infeed opening 24″ high x 66″ wide, 59 second cycle time, 10 HP pump, 10 GPM at 2,200 psi, 6″ diameter cylinder x 48″ stroke, 37 PSI at pressing platen with 62,000 lbs. pressing pressure. Overall nominal dimensions 6′ wide x 4′ deep x 12′ tall. Controls 120 volt, 1 phase electrical. Bailer 230/460 volt, 3 phase electrical required. Weight 4,200 lbs. #4,490 FOB IN Wood Tech Systems 765-751-9990 www.woodtechsystems.com 2004 SL Laser Heads Three (3) 2004 model PD-4 SL laser heads. All three heads are functional but need some repairs before being installed. The heads are also valuable as parts heads for the motherboards and other components. Repair quotes are available upon request. $11,900 FOB WI Wood Tech Systems 765-751-9990 www.woodtechsystems.com Sweed Scrap (Band) Chopper with Stand 1/2 HP Motor (115/208-230 Volt) $1,900 NOW $1,750 FOB NE. Wasserman & Associates 800-382-0329 www.wasserman-associates.com MISC. 800-382-0329 | www.wasserman-associates.com New Handle Bar Router Porter Cable Model 7519 Production Router Motor with Soft Start. Steel Handle Bar Frame with Makita Switches. 120 Volt / 1 Phase / 15 Amp / 21,000 RPM. Includes 2 Router Bits. $3,000 FOB NE. Wasserman & Associates 800-382-0329 www.wasserman-associates.com Jenkins Model 195 Double End Machining Center • Refurbished in 2019 • Please reference attached proposal for specifications Additional Details $115,000 FOB IA A dverti$er Component manufaCturing S erving the S tructural B uilding c omponent S i ndu S try The 2021 Gorbel crane frame with 1,000 lb electric chain hoist Purchased but never installed. Manual (x, y) movements, powered vertical movement. 15-ft wide bridge x 23 ft long x 14 ft height. Hoist moves at 16 feet per minute, includes pendant control, chain container and centering strap to minimize the need to reach for the control pendant. Last 3 photos show current condition & status. Other photos are of matching crane frame with hoist in place. 115 volt, 1 phase electrical required. $16,690 FOB NV Wood Tech Systems 765-751-9990 www.woodtechsystems.com Hydro-Air Chord Splicer • 7 1/2 HP - 3 Phase Hydraulic Power Unit • 9" x 16" Platen • Dual Push Button for Operator Safety $10,900 FOB PA Wasserman & Associates 800-382-0329 www.wasserman-associates.com 2003 Thermwood C53DT CNC Router • 18 HP Spindle with 5 Position Typewriter Tool Changer • X, Y and Z Servo Axis • Q-CORE Controller (THM Version 8.73 - Windows7) • Reads NC Files via Network or USB Flash Drive • 5' x 20' Fixed Table • Roller Hold Down • Program Side Fence • Auto Tool Length • Auto Lubrication • Excludes Dust Collector • The seller was cutting OSB Sheathing and 1 1/4" TimberStand Stair Stringers • Video available upon request $29,500 FOB MN Wasserman & Associates 800-382-0329 www.wasserman-associates.com

Fourth Quarter Arrives with More Questions and Challenges Ahead

The markets and the economy still face a number of challenges from lingering inflation, ongoing Fed rate hikes, and geopolitical instability. This is playing out within a context of a stock market that has declined—recent gains the exception—even if it has already priced-in a lot of “bad news.”

Two big questions remain as to what’s ahead: Has inflation peaked? Is a recession looming?

Inflation outlook

Leading economic analysts are divided on the question of whether inflation has seen its highest point. June’s 9.1% shock was followed by lower CPI numbers in July (8.5%) and August (8.3%) leading many to believe we are on the downside.

Other factors suggesting inflation might have reached its highest level include progress on the easing of supply chains; lower demand for gas followed by decreases at the pump in some areas; additional consumer belt-tightening—which has also lowered demand for consumer goods; and a cooling off in the housing market driven mostly by rising mortgage rates.

Also on the “peaked” side, the strong dollar has been helping U.S. consumers buy exported goods. And enough time has passed since the initial consumer surge in the immediate post-COVID aftermath to suggest some further easing of consumer demand. Another good sign: 5-year inflation expectations have declined among leading CEOs, settling near 2.25%—closer to the Federal Reserve’s target.

But questions remain. Prices outside core CPI items, including groceries and heating fuel, have surged above the inflation rate. And among unknown factors at play are global pressures—including the ongoing Ukrainian war, slowdowns in China, and a new U.K. regime with a shaky start.

PHONE: 800-289-5627 FAX: 800-524-4982Read/Subscribe online at www.componentadvertiser.com Don’t Forget! You Saw it in the Adverti$$er November 2022 #14280 Page #94A dverti $ er Component manufaCturing mThe Continued next page

Two peripheral items which may also factor in are the upcoming midterm elections in the U.S.—which could impact domestic energy policies; and holiday sales, which are forecast to grow 4-6%—substantially down from last year’s 15% but still in the black. Lingering uncertainty has resulted in tumultuous markets, slower growth forecasts, belt-tightening, an economy showing signs of gradual cooling, and recession jitters. Memories of past slowdowns have cast a pall over Wall Street and Main Street.

Recession ahead?

The “R” word—recession—has continued to be tossed around in financial news stories and among analysts. Adjusted GDP numbers showed a 1.9% decline in the first quarter followed by a .6% decline in the second quarter. But many analysts are pushing aside the technical recession definition of two consecutive quarters of negative GDP and looking at other indicators.

Job growth has remained strong and stands well above ten million available openings despite a dip for August. Second quarter corporate earnings were strong and so was sentiment among corporate executives in industrial companies.

These factors seem to defy the other definition of a recession: a decline in overall business activity. Retail sales have also not experienced the full effect of any consumer cutbacks and the upcoming holiday season may show shoppers to be resilient.

But if there’s no agreement on whether we’re actually in a recession, many voices are warning that one may be looming in the coming year. Their main concern is the aggressive stance by the Federal Reserve and its pledge to continue raising interest rates to slow the economy down and stem inflation.

Many did not expect the Fed to follow its historic rate hike of .75% in July with another in September, but that’s what happened, with Chairman Jerome Powell saying there would be “some pain” ahead and seemingly committed to future aggressive action.

That hike, along with inflation numbers, led to deep market selloffs in September which put the S&P index into Bear market territory. But then stocks rallied strongly the first two trading days of October leading analysts to wonder if we were experiencing a “Bear-market rally” or if the market had already begun to price in future Fed action. Since October is also notorious for stock volatility, we’ll have to wait and see.

PHONE: 800-289-5627 FAX: 800-524-4982Read/Subscribe online at www.componentadvertiser.com Don’t Forget! You Saw it in the Adverti$$er November 2022 #14280 Page #95A dverti $ er Component manufaCturing mThe
Continued next page

No easy decisions

It’s natural for investors to feel prompted to act when deep downturns erase previous gains and most of the economic news is tainted by gloom and doom. That’s when it helps to get perspective—especially the historic context of past big market declines and their ability to bounce back.

It’s been a proven losing strategy to try to time when you should be in the market or out of it. Many investors who attempt to do this usually end up losing more than if they had just sat still and done nothing.

It’s helpful to stay in contact with your financial advisor during these times and ask for a review to see how exposed you may be to risk. And, of course, discuss your concerns. But it pays to take a page once again from the Oracle of Omaha and simply wait out the storm.

“The market is the most efficient mechanism anywhere in the world for transferring wealth from impatient people to patient people,” according to Warren Buffet.

In other words: Resist making moves in the heat of the moment when times turn challenging.

Our advisors are ready and available to review your situation and offer perspective in light of your own financial goals. Please let us know how we can help ease any concerns you have. www.leskofinancial.com

PHONE: 800-289-5627 FAX: 800-524-4982Read/Subscribe online at www.componentadvertiser.com Don’t Forget! You Saw it in the Adverti$$er November 2022 #14280 Page #96A dverti $ er Component manufaCturing mThe
Start smarter... Grow faster... Achieve more... cvillella@acceptlease.com | www.acceptlease.com 894 Beaver Grade Road, Suite #304 - Moon Township, PA. 15108 Phone: 412-262-3225 Fax: 412-262-1154 Keep More of Your CASH Eliminate Yearly Financial Reporting Low Fees Fixed Payment Programs No Additional Collateral Now offering short term Working Capital Loans “Serving the Component Industry Since 1996” Start smarter... Grow faster... Achieve more... A dverti$er Component manufaCturing S erving the S tructural B uilding c omponent S i ndu S try The Hiring Zone Building Component Industry's Job Board Employer to Candidate Direct Hiring No Recruiting Fees! Post your Opportunity... Candidates respond directly to you! For Additional Information Contact: twm@componentadvertiser.org or Call: 800-289-5627 x1 Visit our website: www.componentadvertiser.com/Hiring-Zone
PHONE: 800-289-5627 FAX: 800-524-4982Read/Subscribe online at www.componentadvertiser.com Don’t Forget! You Saw it in the Adverti$$er November 2022 #14280 Page #97A dverti $ er Component manufaCturing mThe 800-382-0329 | www.wasserman-associates.com New Sub-Component Nailer • Assembles Trimmers, Jacks, L’s, Channels & Headers • 2x4 and 2x6 Capacity • Remote Fire & 3-Way Clamping • Staggered or Straight Line Nail Pattern • Squaring Stop • Foot Pedal Control • Reserve Air Tank • 5’ Infeed & Outfeed Roller Conveyor $23,500 FOB NE NEW! MODULAR EQUIPMENT Hilman Model BSP-6P Rollers • 6 Ton Capacity. • Polyurethane Wheels. • Swivel Padded Top. • 54 48 Available $290 NOW $250 each FOB NE Wasserman & Associates 800-382-0329 www.wasserman-associates.com 800-382-0329 | www.wasserman-associates.com Wescana Jack Press & Table 35 Ton Hydraulic Press with 14" Wide Platen Press Roof or Floor Truss (4" Maximum Opening) Steel Frame Table with 1/4" Steel & 1" Plastic Top Slotted Jigging at 12" Centers | Joystick Control 7.5 HP / 3 Phase (208/230/460/575 Volt) 6' x 25' Table & 8' x 25' Table Available NEW! MISC. BLACK BROTHERS LAMINATING PRESS (3) 98" x 74" Side Loading Air Pod Laminating Presses 98" x 222" Press Area with Used Together 6" to 74" Adjustable Press Load Opening (threaded rods for manual adjustment) 4 Air Hose Actuated Roller Tracks in Lower Platen All Necessary Air Contols for the Press $18500 FOB IA Wasserman & Associates 800-382-0329 www.wasserman-associates.com EMSI Teeter Cart Width - 46" / Length - 72" / Load Capacity - 3000 pounds / Pneumatic tires - 14.5 inch / Maximum utility in truss plants, panel plants and lumber yards / Quick assembly by bolting parts together / All hardware is supplied / Upright 2 x 4's not supplied. Medium duty tires rated at 1500 lbs each are included. Call for Price Eide Integrated Systems, LLC 612-521-9193 www.eideintegratedsystems.com A dverti$er Component manufaCturing S erving the S tructural B uilding c omponent S i ndu S try The
Full door processing for either horizontal or vertical workflows: www.RuvoDoorMachines.com 1-800-568-7423 ext. 133 Opportunity KnocksOpportunity Knocks on doors machined with
PHONE: 800-289-5627 FAX: 800-524-4982Read/Subscribe online at www.componentadvertiser.com Don’t Forget! You Saw it in the Adverti$$er November 2022 #14280 Page #99A dverti $ er Component manufaCturing mThe 800-289-JOBSJobLine.com, inc. Time To Hire? We’re here when you need help! visit: www.thejobline.com email: twm@thejobline.com STRICTLY CONFIDENTIAL! The 765-751-9990 www.woodtechsystems.com Door } Stair } Window Machines 800-382-0329 | www.wasserman-associates.com Builders Automation Stair Stringer Router More information here: http://goo.gl/mSsxyY NEW! Dotul Door Stop Stitcher Click Here for details $4,900 NOW $3,600 FOB GA Wasserman & Associates 800-382-0329 www.wasserman-associates.com RUVO MODEL 1300 DOUBLE END DOOR TRIM SAW $4,250 FOB PA Wasserman & Associates 800-382-0329 www.wasserman-associates.com BAM “Ovation” Door Machining Center (DMC) New Builders Automation Machinery “Ovation” series, door machining center (DMC). Fully programmable, two-stage door machine featuring (27) axes of operation. Can be specified with either two or four front machining heads. Machine is side-eject, direct-drive with helical gear racks and gear protection from dust. The door loader is driven by an absolute encoder; no stepping motors, belts or exposed ball screws are used. More information Click Here Price based on configuration Wood Tech Systems 765-751-9990 www.woodtechsystems.com BAM Staircase Assembly Clamp Builders Automation Machinery (BAM) staircase assembly clamp, model 2210, accommodates up to 20 foot long stringers with a maximum width of 54″… Price based on configuration FOB FL NEW!

The truss industry relies on 3rd party quality assurance services to provide random visits to review the plants Quality Assurance program along with their operations. If your plant needs to comply with the IRC, IBC and to those who depend on solid, experienced QA expertise, we ask you to consider selecting Timber Products Inspection, Inc. (TP) as your choice for 3rd party inspections.

Proudly serving the forest products industry for over 50 years, TP brings the expertise you need to ensure your business is successful. As a responsible partner, TP delivers to clients, employees, and the industries we serve the confidence to drive value through the effective use of our diverse professional team.

would like to welcome the following authorized agents to our inspection team, each of whom have many years of experience in the truss industry!

Al Coffman

Jean Hart

Curt Holler

Chuck Ray

Glenn Traylor

Elliot Wilson

at 919-280-5905

trusguy@gmail.com. https://www.tpinspection.com/

TP
If you have questions about how you can make this selection, please contact your authorized agent above or Glenn Traylor
or
https://www.tpinspection.com/auditing-services/truss

BAM Pre-Hung Door Machine

Series

Automation Machinery (BAM) Titan series pre-hung door machine. Designed to produce between 150 and 250 doors per day. Multi-function door machine capable of doors 1′-6″ to 4′-0″ in width, and both 6′-8″ or 8′-0″ door heights. Processes both 1 3/8″ and 1 3/4″ thick door slabs. Machines the door, hinge jamb and strike jamb all at the same time. Capable hinge sizes include 3 1/2″ x 3 1/2″, 4″ x 4″, 4 1/2″ x 4 1/2″ with 5/8″ radius. Cycle time with flush hinge routing is 45 seconds. 10′ long x 7′-6″ wide footprint. Shipping weight 4,000 lbs.

Builders

BAM Stair Wedge Saw

Automation Machinery (BAM) model 2220, stair wedge saw station automatically produces wood wedges used to lock stair treads and risers into slots cut into the stair stringers…

Builders

PHONE: 800-289-5627 FAX: 800-524-4982Read/Subscribe online at www.componentadvertiser.com Don’t Forget! You Saw it in the Adverti$$er November 2022 #14280 Page #101A dverti $ er Component manufaCturing mThe
Price based on configuration FOB FL 765-751-9990 www.woodtechsystems.com
Titan
More information Click Here Price based on configuration 765-751-9990 www.woodtechsystems.com NEW! NEW! gigglesA dverti$er Component manufaCturing S erving the S tructural B uilding c omponent S i ndu S try The
TheJobLine.com Careers in the Truss, Wall Panel and Engineered Wood Components Industry Job Opportunities Available Candidates Services & Products Since 1992

TheJobLine.com

Big Sky Living in Montana!

Truss Designer. MiTek software. Experience required: 2+ years. Components include: floor trusses, roof trusses and wall panel experience is a plus. Markets include lumber yards, single family, single family custom, and light commercial. Work Schedule: average 40-45 hours a week or more if interested.

Compensation hourly, plus overtime, and base pay from $22 to $28hr+-. ($45k-70's) Yr.+-) depending upon experience, monthly bonus based on production output/errors. Benefits include: Medical, Dental, Vision, retirement programs, and ESOP (Employee Stock Ownership Plan). Relocation is open to negotiation. Low cost of living. EOE (Equal Opportunity Employer). J15235

Not a remote job but who wants to work remote when the office is in Montana?

See what we can do for YOU!

visit: www.thejobline.com email: mail@thejobline.com

STRICTLY CONFIDENTIAL!

TheJobLine.com

HIRING NOW!

Remote Truss Designer

MiTek - J15228

Our client in Florida is looking for Remote Truss Designer NOW, before the end of the year! Work remote, or in an office location in Florida. They need ONE Basic or Intermediate level Remote Truss Designer. Fantastic benefits, compensation is very competitive, and they use MiTek software. Remote is an option if you have a home office and remote experience, or you can work in office. They may consider someone without remote experience, just depends on the skill level. Fantastic benefits, compensation is very competitive, and they use MiTek software. I can't say more about this opportunity here.

Compensation can be estimated based on your experience and skill 45 hours per week average.

Overtime hours are usually available. Call/email for details

See what we can do for YOU!

www.thejobline.com email: mail@thejobline.com

CONFIDENTIAL!

Plant Manager - Truss/Panel J15258 Midwest

Operations Manager J15231 Southwest

Truss & Wall Panel Designer J15259 Midwest

Truss Design/Estimating Manager J14171 Texas

Remote Multifamily Truss Designer J15257 REMOTE

Project Manager - Yard/Site/Trans J15256 Southeast

Plant Manager - Truss J15255 Florida

Project Manager J15252 South

Residential Order Tech J15232 South

Truss Designer J15251 South

Truss Designer J15250 South

Remote Multifamily Truss Designer J15249 Southeast or Remote Remote Truss Designer - J15248 Eastern US

Procurement Manager J15247 Remote or in Texas Operations Manager - Truss ID: J15230 Southwest Yard/Field Delivery Manager J15240 South

Truss Designer J15239 South or Remote Truss Designer - Remote (MiTek) J15241 Remote

Truss & Wall Panel Designer J15226 Northeast

Remote Truss Designer - Alpine J15246 Midwest Candidate preferred

Outside Sales - Truss/Panel/EWP J10600 Southern IA Truss Sales - Truss/Framing Packages J15245 Texas, Louisiana, Oklahoma

General Manager - Truss J15242 Upper Midwest Truss Designer J14164 Florida

Remote Designer - Truss/Panel J14179 KY

Components Package Estimator J15238 Western US Truss & Wall Panel Designer J15237 Western US

Truss Designer J15235 Montana

Advancement Opportunity to Production Manager J15219 South

Remote Mega-Multifamily Truss Designer J14177 Nation Wide

Remote Multifamily Truss Estimator J15227 USA

Remote Mega-Multifamily Truss Design Manager J15234 Nationwide Mega-Multifamily Project Manager J15229 South/Southeast

Senior Truss Designer J14214 Remote - Central or Eastern time zone preferred

Remote Truss Designer - MiTek J15228 Florida

Senior Designer - Panel/Truss J14181 Midwest

Senior Truss Designer - Truss J13952 South

Senior Design/Design Manager | Alpine J15224 Knoxville, TN

General Manager - Truss J15221 South

Remote Truss Designer - MiTek J15215 Central Florida

Production Manager - Truss/Wall Panel/Shipping/Maintenance J15217 KY

Estimating/Inside Sales ManagerTruss/Panel Mega-Multifamily J15216 South

Outside Sales - Truss J14207 KY, TN, IN Production Manager - Truss/Panel Midwest J13987

Design Manager - Truss/Panel J14014 Midwest

Remote Mega-Multifamily Design Checker J14187 Remote or in Texas

Senior Designer/Design ManagerPanel/Truss J14186 New England

Senior Multifamily Truss Designer J14117 Colorado

Truss & Wall Panel Designer J14182 Florida

PHONE: 800-289-5627 FAX: 800-524-4982Read/Subscribe online at www.componentadvertiser.com November 2022 #14280 Page #104TheJobLine.com, inc. 800-289-JOBS www.thejobline.com job opportunities available
visit:
STRICTLY
Get Current Job Opportunities Here

ID: C18459

Remote Wall Panel Designer | Wall Panel Designer

Relocation: Alberta, British Columbia, Ontario

8 Years' experience as a wall panel designer. Uses HSB CAD, AutoCAD, Autodesk Revit. Everything from Single family custom to multifamily and modular.

ID: C10968

Senior Designer - Truss / Part Time

Relocation: Florida, Alabama Candidate desires to use his career long industry experience to be the best Part Time Remote Designer you have. Prior truss plant owner for 10 years, strong production and operations management background, and JobLine Senior Designer rating in truss design using MiTek software. Also has FASTBeam experience. Products: floor & roof trusses. Markets: Single family custom, multi family, tract and light commercial. Was successful in creating strong teams in production, design and customer service, but the local economy and overwhelming competition was more than he could overcome from a small plant perspective. Degree: BSEE Compensation: $26hr part time employee or $33 hr 1099

Thom's Notes: I have worked with this candidate as an employer for years. Very strong manager with the ability to combine individual strengths into one team effort. Fair, honest, and customer service oriented. Scored 98

ID: C13419

Truss Designer | Design Manager | Remote Truss Designer | Estimator Relocation: Illinois 20+ years Truss Design experience. Manage estimating and design department. 4-5 employees. Handle all computer and software issues. Assist in network maintenance. Project

Available Candidates

coordinator for all multifamily and commercial projects. Train new designers. Schedule final designs for all orders. Assist in sales for 4 million dollar operation.

Past: Established and maintained remote design office. Assisted in adding 2 million dollars to operation along with a sales representative. Managed all communication with main office. Designed all components for local area.

Looking for a position suited for a self-motivated person with a very knowledgeable background in component and housing design industry. Enthusiastic about working for a professional, well organized and establish environment that will allow someone to achieve their fullest potential while adding efficiency and profitability to the operation.

Scored above average using only a Construction Master Calculator. Very fast!

ID: C18468

Truss Designer | Wall Panel Designer

Relocation: Arizona, California, Nevada, Utah Designer, truss and wall panel, MiTek, AutoCAD, iLevel, almost considered a senior designer. In addition to design, was responsible for training new designers. Also has iLevel, Open Joist 2000 experience. Wall panel design experience is in AutoCAD and later in Sapphire. Started in the industry in sales, then wall panel design, added truss, and I-Joist. 7 years' experience in truss design, 3 in wall panel, 10 in I-Joist design. Will consider relocation to indicated areas only. Will consider remote.

$26-28 hr.

ID: C18456

Plant/Location/Production Manager - Truss & Panel

Relocation: USA - Eastern Exceptionally dedicated and highly motivated Plant and Production Manager offering a 30-year background in leadership, oversight, and development of high productive environments through coaching and development strategies maximizing profitability, optimizing output, and minimizing operating costs.

Past framer, framing contractor with 14 years' experience in truss and wall panel manufacturing.

MBA, retired veteran.

ID: C18387 Division Manager, VP Operations, President - Truss | Panel | Building Materials | Pro Dealer

Relocation: Arizona, Colorado, Florida, Georgia, Hawaii, Maryland, Texas, USA - South, Virginia, Washington DC, Wisconsin

TheJobLine.com, inc. 800-289-JOBS

Executive level manager, VP, President with $1+B P&L responsibility. Lumber, building materials, trusses, wall panels, and CFS background. Inquire to discuss this candidate.

ID: C18449

Estimator | Designer - Truss, Panel | Prior carpenter Relocation: Ohio, Pennsylvania Prepare and distribute estimates to competing bidders. Calculate labor, time, and material estimated per individual job. Read, analyze, and interpret residential and commercial blueprints. Ensure projects meet the proper building codes and standards for the industry. Communicate with prospective bidders both over the phone and in person. Design and engineer roof trusses, floor trusses, pre-fabricated wall panels, and EWP. Gained first-hand experience setting trusses in the field during prior construction job. Design roof systems to be most

Time To Hire?

We’re here when you need help! visit: www.thejobline.com email: mail@thejobline.com or call Thomas McAnally for Personalized Service STRICTLY CONFIDENTIAL!

efficient and inexpensive when being constructed in the field. Design complete models in MiTek Sapphire. Design and engineer roof trusses and transfer loads throughout the structure as need. Also design and engineer beams and hangers when necessary.

ID: C12414

Truss Designer | Wall Panel Designer | All Hats Relocation: Arizona Engineered panel and truss design, developed material take off for turnkey build up, worked in coordination with multiple plants and design teams, worked closely with material suppliers on take offs and estimating.

I've worked for decades in the construction industry. Not only in new construction, but additions and remodels as well using innovative designs for added value and to drive down cost. In addition to experience with MiTek, Wallbuilder and other design software packages, I have extensive manual trig/ math skills. I use these to back check questionable loads as well to design from scratch in the field when needed. I have also written

PHONE: 800-289-5627 FAX: 800-524-4982Read/Subscribe online at www.componentadvertiser.com November 2022 #14280 Page #105TheJobLine.com, inc. 800-289-JOBS www.thejobline.com
Available Candidates

Time To Hire?

a plant hemorrhaging money into an extremely profitable facility, earning an 51% ownership stake in the company. I managed all aspects of the company from production and admin to Human Resources, design, and sales.

P&L responsible for the financial management of lines of credit, accounting, and analysis. Worked directly with major accounts, trained and supported sales manager and staff. Developed market focus and worked closely with sales manager to support technical and design areas of expertise.

departmental policies, goals, objectives, and procedures, conferred with organization officials, and staff members as necessary.

ID: C10853

Remote Design Manager | Remote Offshore Design Project Manager

Design Manager/Senior Designer/PE/Optimizer - Truss/ Panel/EWP

Relocation: North Carolina

30 year industry veteran, started as a Truss Designer, earned his way to Design Manager over 20+ designers. MiTek - Advanced, AutoCAD proficient. BSCE - PE.

tutorials for the training of others and checked other designer's work as a Design Manager at a Panel Plant. All things being equal, I love working in components whether designing, cutting, building or setting components at the site.

ID: C11636

General Manager - Truss Relocation: USA - ALL States, Alabama, Alaska, Arizona, Arkansas, California, Colorado, Conneticut, Delaware, Florida, Georgia, Hawaii, Idaho, Illinois, Indiana, Iowa, Kansas, Kentucky, Louisiana, Maine, Maryland, Massachusetts, Michigan, Minnesota, Mississippi, Missouri, Montana, Nebraska, Nevada, New Hampshire, New Jersey, New Mexico, New York, North Carolina, North Dakota, Ohio, Oklahoma, Oregon, Pennsylvania, Rhode Island, South Carolina, South Dakota, Tennessee, Texas, USA - Eastern, USA - Northwest, USA - South, USA - Southwest, USA - Western, Utah, Vermont, Virginia, Washington, Washington DC, West Virginia, Wisconsin, Wyoming

20+ Years truss industry experience from Design Manager to Owner/GM of a $7M truss manufacturing company. Turned

Organized manufacturing systems and procedures to control costs and quality, oversaw buying to keep costs at a minimum and inventory lean but available. Developed LEAN procedures that minimized labor steps, eliminated duplication between stations, and made sure that safety procedures and reporting requirement were maintained. Overall, I had a hands on role in all areas of the company to make sure it operated efficiently and very profitably. Market conditions and competition from larger competitors ultimately required us to close the company.

ID: C18357

Division/Regional Manager, Multiplant Operations Manager - Components & Lumber to Site | Mega Multifamily.

Relocation: Florida, Georgia, North Carolina, South Carolina, Tennessee, Texas, USA - South, Virginia, Arizona, Colorado

Oversaw Operations of multiple Component Facilities with annual Sales exceeding $100MM. Assisted with the start-up of three Facilities. Reviewed financial statements, sales and activity reports, and other performance data to measure productivity and goal achievement to determine areas needing cost reduction and program improvement. Established and implemented

Relocation: Texas Top level Engineering/Design Management candidate, 14+years experience Truss, 4+- Panel experience. Has experience building and integrating offshore design resources with internal design departments and training design managers to better utilize offshore capabilities. Large volume manufacturer experience. MiTek Sapphire design/layout proficient. Too confidential to go into more detail.

Compensation: $120k+

ID: C18430

Truss Designer | Remote Truss Designer Relocation: USA - South, USASouthwest, USA - ALL States Extensive experience in truss estimating and design. Proficient in designing roof and floor trusses for a variety of projects including: custom homes, track homes, multi-family, mega-multifamily, and light commercial projects. I always get everyone involved with the project like architect, engineers, homeowners, and sales personnel Many times I go to the job site for the convenience of the framer and see what kind of condition or changes they might have; this way we will be working on the same page. Also included in my experience is purchasing material, negotiating contracts, setting up deliveries, steel and cmu detailing for steel columns and beams, with almost 25 years of experience in the construction business. MiTek Sapphire.

ID: C10897

Compensation: Open??

Thom's Notes: PE with Mid Atlantic seals

ID: C14510

Remote Truss Designer Relocation: Florida

20+ Years' experience in truss design. Alpine software but will consider other software if training is provided. Has extensive experience, except MegaMultifamily, but will consider positions that are MMF as long as a learning curve is expected. Scored Senior Designer on JobLine's Design Skills Evaluation, representing the best 5 % of Truss Designers nationwide. Has extensive remote and in office management experience but is looking to step back and focus on design and manage personal results.

Compensation: $30-32 an hour, depending on opportunity, benefits, and job expectations. Not looking to work 50-60 hour a week all year, but will consider high hours on a seasonal basis. Remote only.

ID: C18420

Senior CFS Truss Designer/ Detailer | Wood Senior MegaMultifamily Truss Designer | Design Manager | Checker | Remote or In Office Relocation: Florida

Currently CFS truss design, but has wood experience. Scored

PHONE: 800-289-5627 FAX: 800-524-4982Read/Subscribe online at www.componentadvertiser.com November 2022 #14280 Page #106TheJobLine.com, inc. 800-289-JOBS www.thejobline.com Available Candidates
TheJobLine.com, inc. 800-289-JOBS
We’re here when you need help! visit: www.thejobline.com email: mail@thejobline.com or call Thomas McAnally for Personalized Service STRICTLY CONFIDENTIAL! Available Candidates

Senior Designer in the JobLine Truss Design Skills Evaluation, that is primarily wood truss focused. Currently an advanced Alpine TrussSteel user, but has used MiTek in the past. Also has AutoCAD, Keymark experience. Projects include $700k MegaMultifamily apartments. Designs/ Layout using Alpine, CAD shop drawings, designs connections and hardware, creates department procedural and standards program, trains new designers.

ID: C18278

General Manager | Operations Manager - Truss/Panel

Relocation: Georgia, North Carolina, South Carolina, USAEastern, Virginia, Florida

General Manager over floor and roof truss manufacturing facility producing $15-20M, 110-135 employees. Supply clients in the NC, SC, Eastern TN, and VA markets. Turned around volume, safety, and profitability of a failing plant. 6 Sigma, Lean, BA.

ID: C11667

General Manager - Truss/Panel

Relocation: Florida, Georgia, North Carolina, South Carolina, USA - Eastern, USA - South, Tennessee, Virginia, West Virginia

I have worked in the residential and multi-family construction industry for 25 yrs. I started as a framer and have held numerous positions throughout my career. I have held a position as a Division Manager for a Wall Panel Facility that was part of a Building Material Supply Company. In this position, I was responsible for total operation of the division including P&L responsibility. I have also been a Department Manager of a Wall Panel Facility at a second Building Material Supply Company. During my career, I have held positions as a Director of Purchasing and a Purchasing Manager for Home Building companies, as well as an Operations Manager at a Soffit & Siding installation company. In

Available Candidates

this position, I was responsible for the day to day operations of the company.

ID: C18367

Wall Panel Designer | Remote Wall Panel Designer | MegaMultifamily Relocation: Utah Remote wall panel design for medium to large scale MF. Remote estimating using MiTek Sapphire to get a more accurate material count. 100,000 - 500,000 sq ft MF projects primarily in the New England Market with the panel plant being in New Brunswick. Also worked on projects in the Arizona, Texas, and California markets.

Compensation: $70's+ (45+hours)

ID: C18365

Intermediate Canadian Remote Truss Designer - Sapphire Relocation: Ontario Remote Truss Designer available.. Currently provides technical support and designs to lumber distributors for roof systems for residential and commercial applications. Provides technical assistance and support to the distribution staff to meet client demands for engineered wood structural applications. Ensures that wood truss fabricators, lumber distributors and specifiers have adhered to established building standards, codes and practices. Maintains extensive knowledge of structural analysis programs such as MiTek SAPPHIRE Structure design software. Analyze/ prepare engineered wood designs and details for Design Engineer review and approval. Generate manufacturing information and quotations for sales team and management. Prepares the job for production. Canadian codes and standards experienced.

ID: C18399

Full or Part Time Lumber Buyer/Logistics

Relocation: Colorado Personally managed, purchased all lumber products and manage a $100 million spend for this industry leading 6 plant location manufacturer, VMI, contract developer and manager. Responsible for supply, programs, demand cycles, strategic planning, and purchasing excellence. Purchased MRO, machines, trucks, assembly lines, buildings and ongoing CAPEX projects. Team member for new construction projects for plants, 3rd party labor. Products used for construction in North America focused on multifamily engineering products. Direct mill purchasing from major US/Cano vendors.

ID: C15958

Operations/Plant Manager - Millwork | Doors | Ply | Flooring Relocation: Colorado, Illinois, Indiana, Iowa, Kansas, Kentucky, Minnesota, Missouri, Montana, Nebraska, Nevada, North Carolina, South Dakota, Tennessee, Virginia, Wyoming 30 years' experience starting in production and advancing to multi-plant operations manager. Door experience includes managing three Production Managers and five Production Supervisors, consisting of 300 hourly employees producing 11,000 doors and 10,000 face frames per day. Responsible for the manufacturing functions of all mill operations, five frame component machining cells, three frame assembly operations, four door component machining cells, three door assembly clamps, three door profiling lines, two wide belt sanding lines and specialty machining and assembly cells.

Flooring experience: Responsible for all plant functions including budgeting and P&L. Managed six Department Managers: two Production Departments, Quality Assurance, Materials, Human

Time To Hire?

We’re here when you need help! visit: www.thejobline.com email: mail@thejobline.com or call Thomas McAnally for Personalized Service STRICTLY CONFIDENTIAL!

Resources including SHE, and Plant Engineer/Maintenance Manager including the CI program. Their staffs consist of eleven Supervisors and 330 hourly employees. The door plant operation dries lumber, cuts dimension stock, assembles and sands the doors. The panel plant produces the veneered flat and raised center panels, by cutting engineered wood and veneer from flitch and pressing the veneer to the substrate. Both plants are equipped with finishing lines.

ID: C11638

General Manager/Division Manager - Truss/Panel/EWP/ Lumber

Relocation: Colorado, Conneticut, Delaware, Illinois, Maryland, Massachusetts, Minnesota, New Jersey, New York, Pennsylvania, Wisconsin, North Carolina, Ohio, Indiana, Kentucky, Louisiana, Maine, Michigan, Missouri, Oregon, South Carolina, Virginia, Washington DC, New Hampshire, Vermont

An energetic, out-of-the-box, problem-solving, executive with a science-based holistic approach to manufacturing, building products and other business operations; I am recognized for my vision,

PHONE: 800-289-5627 FAX: 800-524-4982Read/Subscribe online at www.componentadvertiser.com November 2022 #14280 Page #107TheJobLine.com, inc. 800-289-JOBS www.thejobline.com
Available Candidates TheJobLine.com, inc. 800-289-JOBS

Time To Hire?

batch fabrication process and continuous production flow. Enhanced scheduling system to accurately track production and achieve on-time delivery, established QC metrics, quality assurance and OSHA-approved safety programs. After 2006, helped company downsize and then worked as a consultant for turn around opportunities. Computer literate, Alpine and MiTek experience, Microsoft Office.

ID: C11465

Sales/Operations/ManagementTruss/Panel/Building Materials

Relocation: USA - ALL States, USA - South

16 years of management and leadership experience, and am seeking a management position with a progressive company that offers advancement commensurate to job performance.

ID: C11370

Production/Plant/General Manager - Truss/Panel/Framing Package

Office Truss Designer | Design Manager

Relocation: Ohio

business acumen, integrity, work ethic and capability to cultivate durable professional relationships. Practitioner of “Lean and JIT” manufacturing principles, setting metrics, improving key performance indicators, reducing costs, expanding production capacity and sales – all improving the bottom line. Skilled in business analysis, strategic planning, market and sales development; ability to drive multi-million dollar growth, institute “Best Practices” for small to medium emerging and expanding companies, managing budgets to $ 30M with full P&L accountability and oversight.

20+ Years of truss/panel/EWP manufacturing and business management experience. In 2006 at the height of residential construction distributed $ 24.0 in Lumber, Architectural Millwork and Windows and $ 8.5 M in manufactured wood components. In this position optimized design and production process, which increased output and reduced labor and material costs. Hired trained and mentored middle management; negotiated union labor contracts. Implemented “Lean and JIT” fabrication procedures; consolidated raw material inventory, implemented

10 years industry experience. Successfully managed operations. Plant production, national sales team, licensed engineers, project managers, CAD designers, erection/installation division and office staff. Significantly increased productivity, sales and profit in all areas. Previously founded a wholesale building material company specifically related to engineered lumber, wood trusses, structural steel, turnkey installation and custom Millwork. Sales in excess of $7 million in less than five years. Successfully negotiated and executed the sale of these companies in 2006.

ID: C11760

Management/Operations/Sales - Building Components, LBM Manufacturing

Relocation: USA - ALL States, Arizona, California, Colorado, Alabama, Florida, Hawaii, Massachusetts, Nevada, New Mexico, North Carolina, New Hampshire, South Carolina

I am an Accomplished Manufacturing and Operations Leader with a history of increasing responsibility. My proven experience covers contractor building materials and manufacturing to the construction and turnkey fields. I have over

Relocation: Texas 20 years' experience. Started in production, advanced to Saw Supervisor, Production Manager, Plant Manager, now General Manager. As General Manager (2 years) operated a $125M truss plant. Tripled output and reduced errors and labor cost. As Plant Manager (4 years), manage all the operation of the manufacturing plant, such as Productivity, logistics, efficiencies, costs. As Production Manager (12 years), manage all the areas of the manufacturing across the plant. Safety, quality control, efficiencies, HR, etc... Software: MiTek, Word, Excel, OptiFrame. Products: R & F Truss, Panel, Framing package. Markets: Single Family, Multifamily, Custom Homes. Bilingual English/Spanish spoken and written. Degree in Industrial Engineering. Compensation: $90's+

ID: C15995

Truss Designer - MiTek Relocation: Florida Truss Designer. Primary duties: design, layout, optimization, and cutting/production documents. Secondary duties: checking others work. Software used: MiTek and AutoCAD. Component experience includes floor trusses and roof trusses. Market experience includes single family, multi-family, light commercial, and agriculture. My volume was varied depending on projects. 2 years experience, MiTek software.

ID: C13437

Remote Truss Designer | In

If it is big, bad, ugly, or worse, I can handle it. I've done layout and profile work in autocad w/ some home brewed scripting, and ArchiCAD. Custom residential, a few track builders that had 3 base models and many options to track, some multi-family, and large commercial projects. Software: MiTek, AutoCAD, ArchiCAD, Truswal, Simpson, Eagle and others. Quick to pick up new software.

ID: C11856

Designer/Design ManagerTruss/Panel/I-Joist/Stairs/EWP Relocation: Ohio

18 years Design experience with 3 as a Senior Designer. Primary duties: design, layout, and optimization. Secondary duties: checking others work and repairs. Software used: MiTek Sapphire, Robbins, Keymark, and AutoCAD. Component experience includes floor trusses, roof trusses, wall panels, I-Joists, and hardware. Market experience includes tract, single family, single family custom, multi-family, and agriculture. My volume was varied depending on projects.

ID: C18310

Truss Designer | Estimator Relocation: Virginia Responsible for project management/design of commercial design -build projects up to $5 million. Directly manage subcontracted architectural, structural, and mechanical designers/ engineers, develop project estimates and designs utilizing Revit software. Work closely with project superintendents providing technical support while delivering projects within budget and on time. Initiate contact with new clients, answer sales calls, and develop project criteria. Prior Truss Designer a few years back with 2 years MiTek experience.

PHONE: 800-289-5627 FAX: 800-524-4982Read/Subscribe online at www.componentadvertiser.com November 2022 #14280 Page #108TheJobLine.com, inc. 800-289-JOBS www.thejobline.com Available Candidates
TheJobLine.com, inc. 800-289-JOBS
We’re here when you need help! visit: www.thejobline.com email: mail@thejobline.com or call Thomas McAnally for Personalized Service STRICTLY CONFIDENTIAL! Available Candidates

ID: C15678

Remote Truss Designer

Relocation: Alberta

I have 25+ years of roof and floor truss design experience, with the last 3 years working as a remote designer using MiTek software. I also have experience designing engineered wood beams using various software versions. I have acted as a local Mitek software network administrator, trained junior designers and checked their work. I have extensive design experience in mid to larger size custom homes, Multi-Family, Independent Living and small to large Commercial projects and enjoy the challenges these projects bring.

Please inquire if you are interested in learning more about this candidate. Use our Contact Us page, or if you know me, send an email.

ID: C10789

Production Manager/ Supervisor - Truss/Panel

Relocation: Minnesota, Iowa, North Dakota, South Dakota, USA - Northwest, Wisconsin 20 years experience. Responsible for all aspects of truss and panel production, inventory, performance reviews. 65 workers, $9M year. WTCA quality control certified.

ID: C18277

Professional Engineer | Engineering ManagerEngineered Wood Products, Components Structural Hardware | Codes & Compliance

Relocation: Maryland, Minnesota, North Carolina, Pennsylvania, South Carolina, USA - Eastern, Virginia, Washington DC

Experienced and successful professional engineering manager with over 25 years experience in improving productivity and resolving structural problems for engineered wood product and truss manufacturers and

developing innovative design software programs. Also skilled in building outstanding teams and relationships among sales, manufacturing, and engineering stakeholders. Highly educated with exceptional employment history & experience.

ID: C18250

Remote Senior Light Gage Steel Truss/Panel Designer. Relocation: Texas

Top level Light Gage Steel Senior Remote Designer with Truss and Panel and well as metal frame commercial project experience. Alpine, Truswal and Keymark experience.

ID: C17230

Remote Wall Panel DesignerSapphire Relocation: Newfoundland My objective is to be part of a team/company and prove I am reliable, show my ability and my willingness to learn! In addition to being a newer wall panel designer, I have learned software such as Mitek Sapphire, Revit 2017, Bluebeam Revu 2016. I have recently done jobs such as designing garages and adding on additions to homes. Jobs I have worked in wall paneling include a massive wall panel job for the US (500,000+ SFT) and designed units for a senior complex. In addition to wall panels...I also add in blocking, windows, doors, etc. I also do bundling and paperwork as well.

ID: C12220

Design/Design Manager - Truss/ EWP/Remote or at Plant Relocation: Pennsylvania Remote / Satellite Truss Designer Roof / Floor truss design utilizing Mitek Sapphire design software. Project estimating, including roof system, floor system, and wall panels. Responsible for 100% of quoting and preparations for production for our #2 and #4 clients. Maintained a database for

a major tract builder, producing 5-8 house a week.

Truss & Engineered Wood Products Design Manager / Sales. Oversaw all aspects of Truss & Engineered Wood Products operations and sales. Maintained personal sales accounts, as well as developed new clients. Customer service from the quote stage to production, including verifying sight conditions and field measuring. Produced production drawings and reviewed / corrected design staff, MiTek / Truss Joist software. Responsible for maintaining lumber / plate inventory.

ID: C17191

Remote Truss Designer/Part Time

Relocation: USA - Northwest My objective is to be a part of a Design Team where I can contribute to the success of the company, and establish a career as a remote truss designer. I love the challenge of tough projects, and consider it my job to complete my assigned work ahead of time, and to the best of my ability. I won't quit before the job is done fully and accurately.

In addition to 4 years experience with MiTek truss design software, I have worked in the shop as both a sawyer, and a truss builder, so I have first hand knowledge of how a truss should be designed to save time on the shop end. I also worked in framing and using wall panels. So I have first hand knowledge of how a house actually goes together in the real world, and how trusses layout on framing.

My long term goal is establish myself as a reliable truss designer, and to that end, grow and advance at the same company, based on proving my ability and reliability.

Time To Hire?

We’re here when you need help! visit: www.thejobline.com email: mail@thejobline.com or call Thomas McAnally for Personalized Service STRICTLY CONFIDENTIAL!

on our website

PHONE: 800-289-5627 FAX: 800-524-4982Read/Subscribe online at www.componentadvertiser.com November 2022 #14280 Page #109TheJobLine.com, inc. 800-289-JOBS www.thejobline.com TheJobLine.com, inc. 800-289-JOBS
Available Candidates Available Candidates
More Candidates
www.TheJobLine.com

King

PHONE: 800-289-5627 FAX: 800-524-4982Read/Subscribe online at www.componentadvertiser.com Don’t Forget! You Saw it in the Adverti$$er November 2022 #14280 Page #110A dverti $ er Component manufaCturing mThe Calendar of Events NOVEMBER 2022 November 1 – 3 Industrialized Wood-Based Construction Conference (IWBC) at Greenbuild International Conference & Expo San Francisco, CA November 1 – 3 NAFCD + NBMDA 2022 Annual Convention Chicago, IL November 1 – 4 National Council of Structural Engineers Assoc. (NCSEA) Structural Engineering Summit Chicago, IL November 2 – 4 Design-Build Conference & Expo Las Vegas, NV November 4 American Lumber Standard Committee (ALSC) Annual Meeting St. Augustine, FL November 9 – 11 North American Wholesale Lumber Assoc. (NAWLA) Traders Market Phoenix, AZ November 10 Mountain States Lumber & Building Material Dealers Assoc. (MSLBMDA) BrewFest Denver, CO November 10 – 11 American Institute of Building Design (AIBD) Design & Build Fall 2022 online November 14 – 16 Affordable Housing Finance (AHF) Live Summit Chicago, IL November 14 – 16 University of Texas Building Professional Institute (BPI) of Texas—Central Texas Austin, TX November 14 – 17 Lumber Quality Institute (LQI) Lumber Quality Workshop Salem, OR November 15 WoodWorks Wood Solutions Conference—Vancouver Vancouver, BC November 24 WoodWorks Wood Solutions Conference—Toronto Toronto, ON DECEMBER 2022 December 7 WoodWorks Wood Solutions Conference—Edmonton Edmonton, MB December 7 – 8 Northeastern Retail Lumber Assoc. (NRLA) LBM Expo Uncasville, CT JANUARY 2023 January 17 Wisconsin Lumber Dealers Leadership Conference Wisconsin Dells, WI January 18 – 20 114th North Dakota Retail Lumbermans Assoc. (NDRLA) Convention Fargo, ND January 18 –February 2 University of Minnesota Annual Institute for Building Officials Brooklyn Center, MN January 24 – 26 Structural Building Components Assoc. (SBCA) Open Quarterly Meeting TBA January 31 –February 2 National Association of Home Builders (NAHB) International Builders Show (IBS) Las Vegas, NV January 31 –February 2 National Hardware Show Las Vegas, NV FEBRUARY 2023 February 6 – 7 Northwestern Lumber Assoc. (NLA) LBM Expo—North St. Cloud, MN February 22 – 24 55th Annual NFBA 2023 Frame Building Expo Louisville, KY February 27 –March 1 LBM Advantage Annual Buying Show Orlando, FL February 27 –March 3 EduCode 2023 Conference & Exhibition Las Vegas, NV February 28 –March 1 Northwestern Lumber Assoc. (NLA) LBM Expo—Nebraska La Vista, NE MARCH 2023 March 1 Independent Dealers Education Association Services (IDEAS) Show
of Prussia, PA March 1 – 2 Pennsylvania Housing Research Center (PHRC) Housing Conference State College, PA March 2 – 3 Northwestern Lumber Assoc. (NLA) LBM Expo—Iowa Des Moines, IA March 8 – 9 Lean Summit 2023 Tucson, AZ March 8 – 10 Lumbermens Merchandising Corporation (LMC) Annual Charlotte, NC March 8 – 10 Southeastern Lumber Manufacturers Assoc. (SLMA) Spring Meeting & Expo Savannah, GA March 11 – 12 Do it Best Spring Market Orlando, FL March 12 – 16 Build23: AWCI’s Convention + INTEX Expo Las Vegas, NV March 13 – 16 AGC–The Construction Assoc. 2023 Annual Convention Las Vegas, NV

Las

San

Dana

New

NSW,

PHONE: 800-289-5627 FAX: 800-524-4982Read/Subscribe online at www.componentadvertiser.com Don’t Forget! You Saw it in the Adverti$$er November 2022 #14280 Page #111A dverti $ er Component manufaCturing mThe Don’t see your event? Increase attendance and participation by listing your industry focused events here! E-mail details and event web-link to Anna@componentadvertiser.org. We can’t guarantee space for all events, but all industry related events will be added on a space available and interest to our reader priority. March 14 – 18 CONEXPO-CON/AGG 2023 Tradeshow
Vegas, NV March 24 – 25 JLC Live New England Providence, RI March 27 – 29 International Mass Timber Conference Portland, OR March 28 – 30 Atlantic Builders Convention (ABC) Conference & Expo Atlantic, NJ March 28 – 30 National Lumber and Building Material Dealers Assoc. (NLBMDA) 2023 Spring Meeting and Legislative Conference Washington, D.C. March 29 – 31 International Wood Products Assoc. (IWPA) 67th World of Wood Convention Savannah, GA March 29 – April 1 Modular Building Institute (MBI) 2023 World of Modular Las Vegas, NV APRIL 2023 April 12 – 14 2023 NASCC: The Steel Conference Charlotte, NC April 20 – 23 Associated Building Material Distributors of America (ABMDA) 40th Annual Convention Orlando, FL April 26 – 28 MSR Lumber Producers Council (MSRLPC) Annual Workshop
Antonio, TX April 30 – May 3 LBM Advantage 2023 NextGen Leadership Conference Charlotte, NC MAY 2023 May 1 – 3 Builder 100 Leadership Summit
Point, CA May 3 – 6 Structural Engineering Institute (SEI) Structures Congress 2023
Orleans, LA May 9 – 11 DesignBUILD 2023 Sydney,
Australia Calendar of Events BIM Management & Viewer Project Management Perpetual Inventory Management Procurement / MRP Warehouse & Fulfillment Supply Chain Management Production Management Timesheet Management Client Relations Management moducore.com CLOUD SOFTWARE FOR OFFSITE MANUFACTURING A Company Moducore User Moducore User

Construction Loading

PerBCSI-B4 (Building Component Safety Information): The term “construction loading” is typically used to describe Loads from workers and Building materials on unfinished structure, as, for example, when builders temporarily stack bundles of panel sheathing or gypsum board on installed Trusses during the construction process.”

“Construction Loads shall be placed only on fully restrained and braced structures. Make sure that the Truss assembly is properly restrained and braced according to the guidelines in BSCI-B1 and BCSI-B2.”

“Use extreme caution when placing Construction Loads and only stack reasonable amounts of material.”

“Limit stacking periods to approximately one week unless alternative information is provided by the Building Designer, Truss Designer or Truss Manufacturer.”

The construction load must be applied uniformly and must never exceed the truss designed load. For example, a 4’ x 8’ sheet of ¾” softwood plywood weighs about 61 pounds or 1.9 pounds per square foot (psf). If the floor truss is designed for 40 psf live load, then the number of stacked sheets equivalent to 40 psf is maximum 21. If blocking is used beneath a stack of materials, it should be spaced at no more than 24 in. o.c. to simulate a uniform load.

The result of 100 psf of drywall storage on trusses designed for a uniform loading of 40 psf.

PHONE: 800-289-5627 FAX: 800-524-4982Read/Subscribe online at www.componentadvertiser.com Don’t Forget! You Saw it in the Adverti$$er November 2022 #14280 Page #112A dverti $ er Component manufaCturing mThe Continued next page

Wood trusses that have been subjected to over-loading during construction should be carefully inspected by a qualified professional/forensic engineer. Due to the nature of wood, there is no practical way to determine the extent of damage to trusses involved in a situation where they have been over-loaded. An example of this type of damage would be cracks within the wood structure that are undetectable to the eye. In addition, the metal connector plates may become loosened due to over-loading causing a reduction in the strength of the truss and the loads it can support. These may lead to expensive repairs, finishing difficulties, and in some cases to structural collapse. Any repairs for specific damage found on these trusses would only be for the indicated damage and would not guarantee that the rest of the truss is structurally sound.

Please review the BCSI-B4 Summary Sheet for more information. This document provides safe stack heights for several materials and illustrates good and bad loading practices.

the

department.

Electrical Supply: 110 VAC Motor: 1/4 HP, 110 VAC, Linear Actuator Highly Accurate: +/- .010 Inches

Stop Rail: 2 x 4 x 1/4 Aluminum Extrusion Stops: Jig Bored Steel

Stop Blocks: Machine Billet Aluminum

Internal Components: Hardened, Ground and Polished Steel and Billet Aluminum

Dimensions: Length: 5 feet (60”) to 60 feet (720”)

Height: 12 inches Depth: 12 inches

If you are looking for the fastest, most consistent way to measure and cut your product, then the Hain Measuring System (MEA) is your answer. The MEA changes from one length t any length instantly, up to 60’, without changing the operator’s position on the line. It is also highly accurate (+/- .010) and quickly moves from one length to the next in seconds. The MEA is designed for quick and easy setup and is simple to use. Even a first time user will be productive with little or no training required. It can adapt to any saw and can be mounted to any surface so that you can integrate the MEA with your existing setup. The MEA is versatile allowing “left” or “right” handed operation and measurement in “feet and inches” or “inches” depending on your preference. The MEA is also available in a “Skid Mounted” version.

PHONE: 800-289-5627 FAX: 800-524-4982Read/Subscribe online at www.componentadvertiser.com Don’t Forget! You Saw it in the Adverti$$er November 2022 #14280 Page #113A dverti $ er Component manufaCturing mThe
For additional information, or if you have questions, please contact
MiTek Engineering
theHAINCOMPANY 6125 Enterprise Drive, Unit 9 | Diamond Springs, CA 95619 530.295.8068 | sales@thehaincompany.com

Take a Tour of Our McKinney R&D Lab

Did you know that Simpson Strong-Tie has a research and development lab in our McKinney, Texas, branch? In the following article, Francisco, the McKinney branch lab manager, talks about the history of this lab and what we do there.

History of the McKinney Lab

Jeremy Gilstrap and Tim Bell founded the lab in McKinney in 2003. At the time, the McKinney R&D test lab was the smallest of the four testing labs run by Simpson Strong-Tie. After obtaining accreditation in 2011, the lab expanded its testing capabilities, and by 2013 the lab had doubled the number of tests it ran and even began taking some of the work load from our lab in Pleasanton, CA. With our increased capacity, our small team also began receiving increased recognition for our hard work and productivity from top management and engineers across the company.

In 2016, the lab moved to our new facility, to become the third largest in the company. At the same time, we were able to increase testing capacity, putting us second in the company for most tests conducted annually, at an average of 635 test setups per year, and we became the third of our official test labs to be IAS accredited. (IAS accredited means that the McKinney Lab has met the requirements of AC89, IAS Accreditation Criteria for Testing Laboratories, and has demonstrated compliance with ISO/IEC Standard 17025:2017, General requirements for the competence of testing and calibration laboratories.)

PHONE: 800-289-5627 FAX: 800-524-4982Read/Subscribe online at www.componentadvertiser.com Don’t Forget! You Saw it in the Adverti$$er November 2022 #14280 Page #114A dverti $ er Component manufaCturing mThe Continued next page
Jorge Castillo in the lab

Learn All About Our Lab

The McKinney lab performs testing using a heavyduty vertical frame that has a 100,000 lb. (100 k) capacity with an MTS hydraulic actuator that has a 6” stroke. This gives us the ability to test connectors and fasteners used in wood, concrete, masonry, and both light-gauge and structural steel. Additionally, for the connectors that attach to concrete or onto grout-filled concrete masonry units, we conduct compression tests of GFCMU prisms and concrete cylinders, with a 400,000 lb. (400 k) Humboldt compression testing machine.

Type of Equipment in the Laboratory

A list machines and equipment we have in the lab includes:

• 100 k Instron test ing machine (tension and compression) with Blue Hill Software.

• 400,000 lb.-capacity Humboldt concrete/CMU compression machine.

• Small hydraulic truss plate press (Eagle press) that helps us compress the truss plates with the wood members for truss manu facturing.

• Various woodworking tools (e.g., table saw; compound miter saws; band saw; radial arm saw; pneumatic, batterypowered and electrical equipment necessary to fabricate test specimens or assemblies).

• Metal milling equipment for cutting, shaping, or drilling necessary test setup apparatus or jigs.

PHONE: 800-289-5627 FAX: 800-524-4982Read/Subscribe online at www.componentadvertiser.com Don’t Forget! You Saw it in the Adverti$$er November 2022 #14280 Page #115A dverti $ er Component manufaCturing mThe Continued next page
Humboldt compression machine Instron test rig frame

• Environmental condi tioning chamber, which allows us to condition all wood components to the prescribed state per standards that the lab is accredited for.

• Other various measur i ng equipment items (e.g., tape measures, calipers, micrometer, scales, thermometers).

Finding Solutions

The lab has participated in the testing of different types of fasteners and other parts, and the company has used the testing data in our product catalogs. Simpson Strong-Tie products whose performance we have tested in the McKinney lab include the SDWF Screw, SDWS Screws, SDWC Screw, the deflector screw, RTUD (ratcheting take-up device) for our continuous rod tiedown systems, straps and ties such as the H1, the HETA, and some of our CLT or mass timber products, and more.

You can learn more about this lab from R&D Lab Manager Francisco as he discusses his career journey with Simpson Strong-Tie and what it’s like to work in one of our labs in Behind the Scenes with our McKinney R&D Lab Manager.

The article, Take a Tour of Our McKinney R&D Lab, appeared first on Simpson Strong-Tie Structural Engineering Blog. To sign-up to receive the Engineering Blog in your inbox, go to seblog.strongtie.com/ subscribe.

Copyright © 2022 Simpson Strong-Tie Company Inc. All Rights Reserved

PHONE: 800-289-5627 FAX: 800-524-4982Read/Subscribe online at www.componentadvertiser.com Don’t Forget! You Saw it in the Adverti$$er November 2022 #14280 Page #116A dverti $ er Component manufaCturing mThe
Humidity Chamber

Safety First!

Meeting Topics

Residential Wood Framing

Residential wood framing exposes workers to fall hazards, power tool injuries, and other general construction hazards.

Wear proper personal protective equipment for framing jobs. Work gloves to protect your hands. A hard hat protects your head from bumps and dropped items. Safety glasses protect your eyes from flying debris. Work boots with a heel and slip resistant sole prevent falls.

The wood pieces used for framing can be large and heavy. Stack job materials near the work area. Use mechanical lifting devices or use a team to lift when you can. Don’t lift and move loads that are too heavy or unstable. Hold materials close to you and lift with your legs, not your back.

Power tools used to cut and fasten materials should be inspected before each use and operated according to the manufacturer’s recommendations. Make sure that cutting tools have a sharp blade. Nail and screw guns should be used with the proper fasteners. Get training on tools that you are unfamiliar with.

Prevent falls during framing. Guard floor and wall openings, stairways and landings that could allow workers to fall. Wear fall protection with a secure anchor point.

Conduct job site inspections every day to ensure that the workplace is free of hazards. Brief employees periodically on job site operations such as trenching, electrical work, etc. Maintain good housekeeping every day and throughout each shift by picking up trash, debris, and other materials that could pose fire and slip, trip and fall hazards.

Know how to report hazards and accidents on your job site. If you spot a hazard on the job, make it safe or report it immediately for repair and correction. Know how to administer basic first aid Keep an up to date first aid kit to treat minor injuries. Know how to summon emergency care to the site if necessary.

Armazones de madera residenciales

La construcción de armazones de madera residenciales expone a los trabajadores a riesgos de caídas, lesiones por herramientas eléctricas y otros riesgos de construcción en general.

Use el equipo de protección personal adecuado para los trabajos de construcción de armazones. Use guantes para proteger sus manos. Un casco le protege la cabeza contra golpes y artículos que caigan. Los anteojos de seguridad protegen sus ojos contra partículas que vuelan. Las botas de trabajo con puntera y suelas antideslizantes previenen las caídas.

Las piezas de madera utilizadas para la armazón pueden ser grandes y pesadas. Apile los materiales de trabajo cerca del área de trabajo, use dispositivos de elevación mecánicos o la ayuda de otras personas para levantarlos cuando pueda. No levante ni mueva cargas que sean demasiado pesadas o inestables. Mantenga los materiales cerca de usted y levántelos con sus piernas, no con su espalda.

Las herramientas eléctricas utilizadas para cortar y sujetar materiales deberán ser inspeccionadas antes de cada uso y accionadas de acuerdo con las recomendaciones del fabricante. Asegúrese de que las herramientas de corte tengan un disco de corte afilado. Las clavadoras y los destornilladores eléctricos deben utilizarse con los elementos de sujeción correctos. Obtenga entrenamiento en el uso de herramientas con las que no esté familiarizado.

Prevenga las caídas durante la construcción de armazones. Proteja las aberturas en el piso y en paredes, las escaleras y los descansos que pudiesen permitir la caída de los trabajadores. Use protección contra caídas con un punto de anclaje seguro.

Diariamente, realice inspecciones en el sitio de trabajo para asegurarse de que el sitio de trabajo esté exento de peligros. Notifique periódicamente a los empleados las operaciones en el sitio de trabajo tales como trabajos de zanjeado, trabajos eléctricos, etc. Mantenga buen aseo y limpieza en el sitio de trabajo todos los días y durante todo el turno, recogiendo los desechos, los escombros y otros materiales que pudiesen presentar riesgo de incendio y de resbalones, tropezones y caídas.

Sepa cómo reportar peligros y accidentes en su sitio de trabajo. Si usted observa un peligro en el trabajo, corríjalo o repórtelo inmediatamente para su reparación y corrección. Sepa cómo administrar primeros auxilios básicos. Mantenga un botiquín de primeros auxilios actualizado para el tratamiento de lesiones menores. Sepa cómo solicitar atención de emergencia en el sitio si es necesario.

not make

They are

PHONE: 800-289-5627 FAX: 800-524-4982Read/Subscribe online at www.componentadvertiser.com Don’t Forget! You Saw it in the Adverti$$er November 2022 #14280 Page #117A dverti $ er manufaCturing mThe PHONE: 800-289-5627 FAX: 800-524-4982READ/SUBSCRIBEONLINE AT WWW.COMPONENTADVERTISER.COM Don’t Forget! YOU SAW ITINTHE Adverti$er February 24th, 2012 #05132 PAGE #34A dverti$er COMPONENT MANUFACTURING
Safety
From State Fund CA. The above evaluations and/or recommendations are for general guidance only and should not be relied upon for legal compliance purposes.
based solely on the information provided to us and relate only to those conditions specifically discussed. We do
any warranty, expressed or implied, that your workplace is safe or healthful or that it complies with all laws, regulations or standards.

News

Builder Confidence Down 10 Straight Months as Housing Market Continues to Weaken

Posted October 18, 2022 on NAHB Now | The News Blog of the National Association of Home Builders Reprinted with permission.

In a further signal that rising interest rates, building material bottlenecks and elevated home prices continue to weaken the housing market, builder sentiment fell for the 10th straight month in October and traffic of prospective buyers fell to its lowest level since 2012 (excluding the two-month period in the spring of 2020 at the beginning of the pandemic).

Builder confidence in the market for newly built single family homes dropped eight points in October to 38 half the level it was just six months ago according to the National Association of Home Builders (NAHB)/Wells Fargo Housing Market Index (HMI) released today. This is the lowest confidence reading since August 2012, with the exception of the onset of the pandemic in the spring of 2020.

“High mortgage rates approaching 7% have significantly weakened demand, particularly for first time and first generation prospective home buyers,” said NAHB Chairman Jerry Konter, a home builder and developer from Savannah, Ga. “This situation is unhealthy and unsustainable. Policymakers must address this worsening housing affordability crisis.”

“This will be the first year since 2011 to see a decline for single family starts,” said NAHB Chief Economist Robert Dietz. “And given expectations for ongoing elevated interest rates due to actions by the Federal Reserve, 2023 is forecasted to see additional single family building declines as the housing contraction continues. While some analysts have suggested that the housing market is now more ‘balanced,’ the truth is that the homeownership rate will decline in the quarters ahead as higher interest rates and ongoing elevated construction costs continue to price out a large number of prospective buyers.”

Derived from a monthly survey that NAHB has been conducting for more than 35 years, the NAHB/Wells Fargo HMI gauges builder perceptions of current single-family home sales and sales expectations for the next six months as “good,” “fair” or “poor.” The survey also asks builders to rate traffic of prospective buyers as “high to very high,” “average” or “low to very low.” Scores for each component are then used to calculate a seasonally adjusted index where any number over 50 indicates that more builders view conditions as good than poor.

All three HMI components posted declines in October. Current sales conditions fell nine points to 45, sales expectations in the next six months declined 11 points to 35 and traffic of prospective buyers fell six points to 25.

Looking at the three month moving averages for regional HMI scores, the Northeast fell three points to 48, the Midwest dropped three points to 41, the South fell seven points to 49 and the West posted a seven point decline to 34.

HMI tables can be found at nahb.org/hmi. More information on housing statistics is also available at Housing Economics PLUS (formerly housingeconomics.com).

PHONE: 800-289-5627 FAX: 800-524-4982Read/Subscribe online at www.componentadvertiser.com November 2022 #14280 Page #118A dverti $ er Component manufaCturing mThe Industry

Single-Family Production Continues to Weaken in September

Posted October 19, 2022 on NAHB Now | The News Blog of the National Association of Home Builders Reprinted with permission.

Single-family housing starts declined further in September as high mortgage rates, ongoing building material production disruptions and flagging demand stemming from rising affordability challenges continue to put a damper on new home production.

Overall housing starts decreased 8.1% to a seasonally adjusted annual rate of 1.44 million units in September, according to a report from the U.S. Department of Housing and Urban Development and the U.S. Census Bureau.

The September reading of 1.44 million starts is the number of housing units builders would begin if development kept this pace for the next 12 months. Within this overall number, single family starts decreased 4.7% to an 892,000 seasonally adjusted annual rate. Year to date, single family starts are down 5.6%. The multifamily sector, which includes apartment buildings and condos, decreased 13.2% to an annualized 547,000 pace.

“Higher interest rates are hurting the ability of buyers to purchase a new home, particularly at the entry level end of the market,” said Jerry Konter, chairman of the National Association of Home Builders (NAHB) and a home builder and developer from Savannah, Ga. “Higher rates also harm the supply side of the market by increasing the cost of construction and development loans.”

“The ongoing decline for single-family construction mirrors weakness for single-family builder sentiment, which has now declined for 10 straight months and stands at half the level of a year ago,” said NAHB Chief Economist Robert Dietz. “The September single family production level is below a 900,000 annualized rate and the lowest level since May 2020.”

On a regional and year to date basis, combined single family and multifamily starts are 3.9% higher in the Northeast, 1.2% lower in the Midwest, 3.6% higher in the South and 3.4% lower in the West.

Overall permits increased 1.4% to a 1.56 million unit annualized rate in September and are up 0.3% on a year to date basis. Single family permits decreased 3.1% to an 872,000 unit rate. The pace of single family permits has now declined for seven consecutive months. Multifamily permits increased 7.8% to an annualized 692,000 pace.

Looking at regional permit data on a year to date basis, permits are 2.8% lower in the Northeast, 1.5% higher in the Midwest, 1.4% higher in the South and 1.6% lower in the West.

The number of single family homes under construction—800,000—is slowing due to prior declines for starts.

PHONE: 800-289-5627 FAX: 800-524-4982Read/Subscribe online at www.componentadvertiser.com November 2022 #14280 Page #119A dverti $ er Component manufaCturing mThe Industry News

News

New Home Sales Fall Back in September as Interest Rates Jump Higher

Posted October 26, 2022 on NAHB Now | The News Blog of the National Association of Home Builders Reprinted with permission.

Rising mortgage rates approaching 7% along with declining builder sentiment stemming from stubbornly high construction costs and weakening consumer demand pushed new-home sales down at a double digit rate in September.

Following a brief uptick in August, sales of newly built, single family homes in September fell 10.9% to a 603,000 seasonally adjusted annual rate, according to newly released data by the U.S. Department of Housing and Urban Development and the U.S. Census Bureau.

“Builders continue to face lower buyer traffic due to declining affordability conditions as the housing downturn continues,” said Jerry Konter, chairman of the National Association of Home Builders (NAHB) and a home builder and developer from Savannah, Ga. “Builder sentiment has declined for 10 consecutive months. The entry level market in high cost areas has been particularly affected, with growing numbers of first time and first-generation buyers priced out of the market.”

“New home sales are down 14.3% on a year to date basis compared to 2021,” said NAHB Chief Economist Robert Dietz. “Moreover, sales are now down 1.9% on the same basis compared to 2019 levels that were prior to the Covid-related changes to interest rates.”

A new home sale occurs when a sales contract is signed or a deposit is accepted. The home can be in any stage of construction: not yet started, under construction or completed. In addition to adjusting for seasonal effects, the September reading of 603,000 units is the number of homes that would sell if this pace continued for the next 12 months. Notably, the new home sales data do not incorporate cancellations, which according to NAHB survey data have more than doubled compared to a year ago.

New single family home inventory remained elevated at a 9.2 months’ supply (of varying stages of construction). A measure near a 6 months’ supply is considered balanced. The count of homes available for sale, 462,000, is up 23.2% over last year. Of this total, only 56,000 of the new home inventory is completed and ready to occupy. The remaining have not started construction or are currently under construction.

Reflecting rising construction costs, the median new home price in August was $470,600, up 13.9% from a year ago. However, NAHB surveys indicate that a quarter of builders are now cutting prices, thus recent months’ price data reflects a composition change, with sales lost at the low end of the market pushing the median price higher. In September 2022, there were 20,000 sales priced below $300,000. In September 2021, sales in this price range totaled only 6,000.

Regionally, on a year to date basis, new home sales fell in all four regions, down 8.1% in the Northeast, 21.2% in the Midwest, 12.1% in the South and 17.6% in the West.

PHONE: 800-289-5627 FAX: 800-524-4982Read/Subscribe online at www.componentadvertiser.com November 2022 #14280 Page #120A dverti $ er Component manufaCturing mThe Industry

News

Overall Building Material Prices Down in September, but Concrete Keeps Rising

Posted October 14, 2022 on NAHB Now | The News Blog of the National Association of Home Builders Reprinted with permission.

Led by a decline in softwood lumber and steel mill prices, overall building material prices fell in September with the notable exception of ready mix concrete, which continues to grow at a rapid clip. And while gypsum prices edged lower last month, they are up more than 20% over the past year.

In tandem with a slowing housing market and economy, the prices of building materials decreased 0.3% in Sept (not seasonally adjusted) according to the latest Producer Price Index (PPI) report. The PPI for goods inputs to residential construction, including energy, declined for the third consecutive month in Sept. (-0.1%).

Prices have fallen 2.3% since June, the largest three month drop since April 2020. However, these modest price declines have occurred when material prices were already at extremely elevated rates. And while lumber and steel prices have trended down in recent months, the prices of ready mix concrete and gypsum building materials have continued their climb dating back to early 2021.

Not only is gypsum a major component of drywall, it is also a critical ingredient to the Portland cement used to manufacture ready mix concrete. High demand for cement combined with lower imports of aggregate due to a large quarry shutdown in Mexico have spread thin the supply of domestically produced ready mix concrete as well as gypsum. As drywall and cement are used in many applications outside of residential construction, prices have increased even as single-family construction has cooled.

Softwood Lumber

The PPI for softwood lumber (seasonally adjusted) declined 2.9% in September following a 5.2% drop in August. Softwood lumber prices are 14.5% higher than they were a year ago but have fallen 39.6% since March. The index remains 41.9% above pre-pandemic levels.

Steel Mill Products

Steel mill products prices decreased 6.7% in September and have fallen 16.1% over the past four months. The index is at its lowest level since June 2021, but prices of steel mill products are nearly double their pre pandemic levels, on average.

Ready Mix Concrete

The PPI for ready-mix concrete (RMC) increased 1.4% in September — its sixth consecutive increase — and has risen 11.6% over the past year. The index has climbed 8.9% year-to date, the largest September YTD increase in the series’ 34-year history. The monthly increase in the national data was primarily driven by a 2.6% price increase in the South region and partially offset by a 0.7% decline in the Northeast. Prices were flat in the Midwest and edged 0.3% higher in the West.

Gypsum Building Materials

The PPI for gypsum building materials edged 0.2% lower in September — just the second monthly decrease in two years. Prices have increased 20.2% over the past year and are up 46.0% since January 2020.

NAHB senior economist David Logan provides more analysis in this Eye on Housing blog post.

PHONE: 800-289-5627 FAX: 800-524-4982Read/Subscribe online at www.componentadvertiser.com November 2022 #14280 Page #121A dverti $ er Component manufaCturing mThe Industry

Industry News

Simpson Strong-Tie Wins 2022 Pro Tool Innovation Awards for Quik Drive® PROHSD Wood-to-Steel Solution and Strong-Drive® TF Wood-to-Steel Screws

October 5, 2022, Pleasanton, Calif. —

Simpson Strong Tie, the leader in engineered structural connectors and building solutions, has received two Pro Tool Innovation Awards (PTIA) — the first in the Attachments

Drills/Drivers category for its Quik Drive PROHSD75 Wood to Steel solution and the second in the Metal Screws category for its Strong Drive TF Wood to Steel screws. The awards are judged by a diverse panel of professional tradespeople as well as media sponsor judges (all of whom make up a team with decades of experience handling, operating and/or testing hundreds of tools, accessories and fasteners each year).

The Quik Drive PROHSD75 Wood to Steel solution is a fast, reliable, and ergonomic fastening system for wood-to steel applications. It is designed to boost efficiency and performance while providing the perfect combination of speed and ease for many jobs that require attaching wood to steel — from truck and trailer beds to high paced manufacturing environments and beyond.

The judging panel noted, “The Simpson Strong-Tie Quik Drive system meets a need for fastening wood to metal that other screwdrivers and screwdriving attachments don’t. Designed with the durability to drive into ¼” to just under ½” steel using an auto feed system, two accessories make your life much easier. First, the extension gets you off your knees and standing up straight. Then a footstep offers better leverage to help the screws cut into the steel and set more easily.”

The Strong Drive TF Wood to Steel screws are designed for performance and productivity in high paced environments and eliminate the need to predrill, installing 26% faster than traditional predrill and hand drive methods. Applications include wood to steel attachments such as on trailer floors, trailer walls, truck beds, mezzanines, nailers, and trimmers for steel buildings.

To learn more about these Simpson Strong Tie products, go to strongtie.com/products/fasteningsystems/productivity-solutions.

PHONE: 800-289-5627 FAX: 800-524-4982Read/Subscribe online at www.componentadvertiser.com November 2022 #14280 Page #122A dverti $ er Component manufaCturing mThe

News

Builders FirstSource Named 2022 Distributor of the Year by D.R. Horton

DALLAS, Oct. 13, 2022 Builders FirstSource, Inc., the nation’s largest supplier of structural building products and value-added components and services, today announced it has been named Distributor of the Year for 2022 by D.R. Horton, Inc., the largest homebuilder by volume in the United States since 2002. This prestigious honor was presented to the Company at D.R. Horton’s Trade Show, held at the Wynn Las Vegas in early October 2022.

“We are incredibly grateful to have received D.R. Horton’s 2022 Distributor of the Year award,” said Dave Flitman, Builders FirstSource President and CEO. “This achievement is a testament to our strong customer relationships, the outstanding service our BFS team members work hard to provide every day, as well as our commitment to excellence in every facet of what we do. We value our partnership with D.R. Horton and look forward to continuing to support their vision of helping all Americans become homeowners.”

The Distributor of the Year award is presented to the supplier partner that best follows through on its pledge to provide outstanding service and exceptional products. BFS was D.R. Horton’s largest partner by spend in fiscal 2022 and was selected for this award due to our openness to listen, understand and support D.R. Horton’s needs across its diverse operating footprint no matter what it takes.

Brad Conlon, D.R. Horton’s Director of National Accounts, said, “We were pleased to present Builders FirstSource with our 2022 Distributor of the Year award. Throughout the challenging supply chain and homebuilding environments in 2022, BFS provided excellent service to each of our homebuilding divisions across the country. They received numerous commendations from the field during the year for their level of support of our business. We are honored to work with BFS as one of our largest vendor partners.”

The 2022 D.R. Horton Trade Show was an invitation only event hosted by the D.R. Horton National Accounts team to bring D.R. Horton leadership and the company’s vendor partners together for a week of celebration, appreciation and opportunity. Outstanding vendor partners representing a variety of categories were honored at the conclusion of the event.

About Builders FirstSource

Headquartered in Dallas, Texas, Builders FirstSource is the largest U.S. supplier of building products, prefabricated components, and value added services to the professional market segment for new residential construction and repair and remodeling. We provide customers an integrated homebuilding solution, offering manufacturing, supply, delivery and installation of a full range of structural and related building products. We operate in 42 states with approximately 570 locations and have a market presence in 47 of the top 50 and 85 of the top 100 MSA’s, providing geographic diversity and balanced end market exposure. We service customers from strategically located distribution and manufacturing facilities (certain of which are co-located) that produce value-added products such as roof and floor trusses, wall panels, stairs, vinyl windows, custom millwork and pre hung doors. Builders FirstSource also distributes dimensional lumber and lumber sheet goods, millwork, windows, interior and exterior doors, and other building products.

PHONE: 800-289-5627 FAX: 800-524-4982Read/Subscribe online at www.componentadvertiser.com November 2022 #14280 Page #123A dverti $ er Component manufaCturing mThe Industry

UFP Industries Reports Record Third Quarter Results

GRAND RAPIDS, Mich., October 20, 2022 UFP Industries, Inc. today announced record net sales of $2.3 billion and net earnings attributable to controlling interests of $167 million for the third quarter of 2022. The company also reported record earnings per diluted share of $2.66, a 37 percent increase over the third quarter of 2021.

“UFP’s ability to deliver record setting performance in a challenging economic environment is a direct result of the efforts of our hard working teammates and a balanced business model that minimizes risk by operating in diverse but complementary markets,” said CEO Matthew J. Missad. “Our market focused organizational structure helps us to better address customer needs, and our increased commitment to innovation and new, value-added products continues to improve our operating results and set us apart from competitors.”

Third Quarter 2022 Highlights (comparisons on a year-over year basis):

• Net sales of $2.3 billion increased 11 percent due to a 6 percent increase in prices and a 5 percent increase in unit sales, including a 2 percent increase in unit sales from acquisitions.

• Earnings from operations of $237 million increased 41 percent. In the third quarter of 2021, the company recognized a gain on the sale of real estate of $9 million.

• SG&A increased $45 million or 26 percent. SG&A as a percentage of gross profit fell from 52 percent to 48 percent.

• New product sales of $178 million increased 38 percent. This excludes new products that were sunset at the end of 2021. New product sales leaders included Deckorators mineral based composite decking and Strip Pak mixed material packaging solutions.

• The percentage of total sales that are value added increased to 66 percent from 64 percent.

• Adjusted EBITDA of $274 million increased 46 percent, and adjusted EBITDA margin improved by 280 basis points to 11.8 percent. Acquisitions completed during 2022 contributed $7.3 million to adjusted EBITDA.

By business segment, the company reported the following third quarter 2022 results (all quarterly numbers):

UFP Construction

$777 million in net sales, up 8 percent over the third quarter of 2021, due to an 8 percent increase in organic unit sales growth. Unit sales growth was driven by the Factory Built, Commercial and Concrete Forming Services business units. Gross profit increased $46 million or 30 percent to $200 million in the third quarter, led by Site Built and Commercial.

The company’s site built residential customers have accounted for approximately 14 percent of total company sales year to date. Approximately one third of site built customers are multifamily builders. More than 75 percent of the company’s site built residential housing sales are in areas such as Texas and the Mid Atlantic, Southeast and Mountain West regions, which have experienced significant population growth through migration from other states and are forecasted to continue to grow in the long term. The company’s factory built customers have

PHONE: 800-289-5627 FAX: 800-524-4982Read/Subscribe online at www.componentadvertiser.com November 2022 #14280 Page #124A dverti $ er Component manufaCturing mThe Industry News

accounted for 13 percent of total company sales year to date. This business, along with the company’s multifamily business, could benefit from higher interest rates as buyers seek more affordable housing alternatives. As a result of these factors, we believe these customers are better insulated from downturns in the housing market.

UFP Industries maintains a strong balance sheet with nearly $1.5 billion of liquidity as of September 24, 2022, consisting of $456 million of surplus cash, plus availability under its revolving credit facility and shelf agreements with lenders. The company’s diversified and return focused approach to capital allocation includes the following:

• The company has targeted $175 225 million for capital expenditures in 2022, an increase over the $151 million spent in 2021. The company’s capital expenditures during the first nine months of 2022 totaled $115 million. Longer lead times required for most equipment and rolling stock may cause the company to fall short of its 2022 expenditures target.

• In February 2022, our Board of Directors authorized an increase in the company’s share repurchase program of up to 2.6 million shares. Through September 24, 2022, the company has purchased approximately 1.2 million shares at an average price of $77.06. The company has issued 911,000 shares in 2022 for share-based compensation programs at an average issue price of $82.69 per share.

• On October 19, 2022, the Board approved a quarterly dividend payment of $0.25 per share, payable on December 15, 2022, to shareholders of record on December 1, 2022. This dividend is 67 percent higher than the dividend of $0.15 per share paid on December 15, 2021.

• The company continues to seek opportunities to acquire companies that represent a strong strategic fit and allow it to drive new growth and margin improvements, enhance its capabilities, and create more incremental value for its customers and shareholders.

For information on UFP Retail Solutions and UFP Industrial, see the complete press release.

Outlook

The following outlook remains largely unchanged from the guidance provided in the second quarter 2022 earnings release: We expect our balanced business model and operational improvements will continue to help us navigate new external challenges, including rising interest rates and historically high inflation. In the near term, we continue to expect more normalized demand in our largest segment, UFP Retail Solutions. For UFP Industrial, we continue to monitor business activity and the key economic indicators that drive this segment with many of those metrics remaining mixed. Pricing remains healthy as we pass through inflationary costs and benefit from our focus on value-added products. For UFP Construction, we see continued activity in commercial and infrastructure end markets and expect our exposure to a projected softening in the housing market to be somewhat offset by favorable demographic trends in the markets we serve and our participation in more affordable housing and the multifamily market. Our diversified business and strong track record of executing our strategy gives us confidence that we can continue to successfully navigate various market environments while delivering returns to shareholders.

About UFP Industries, Inc.

UFP Industries is a holding company whose operating subsidiaries – UFP Industrial, UFP Construction and UFP Retail Solutions – manufacture, distribute and sell a wide variety of value-added products used in residential and commercial construction, packaging and other industrial applications worldwide. Founded in 1955, the company is headquartered in Grand Rapids, Mich., with affiliates in North America, Europe, Asia and Australia. UFP Industries is ranked #401 on the Fortune 500 and #149 on Industry Week’s list of America’s Largest Manufacturers. For more about UFP Industries, go to www.ufpi.com.

PHONE: 800-289-5627 FAX: 800-524-4982Read/Subscribe online at www.componentadvertiser.com November 2022 #14280 Page #125A dverti $ er Component manufaCturing mThe Industry News

News

ANSI Approves 2022 Fire Design Specification

The AWC has received ANSI approval of its Fire Design Specification for Wood Construction (FDS) as an American National Standard a significant accomplishment given the importance of managing fire risk for wood construction in the building codes. The approved FDS consolidates all relevant provisions into one standard that is managed by the AWC under an ANSI consensus process.

The new standard, designated as ANSI/AWC FDS-2022, is a comprehensive, consensus based resource that brings together all the provisions for the fire design of wood members, assemblies, and connections to meet code requirements. The FDS is the authoritative standard for use by architects, engineers, building and fire officials, and other professionals that need code compliant solutions for wood and mass timber construction.

The AWC will seek to have the FDS referenced in future building codes, which would eliminate the need to have technical discussions on code provisions related to wood and fire risk during the ICC code hearing process. Instead, technical issues would be managed through an ANSI review process at a cadence that the AWC prefers. The ANSI process also ensures decisions are reached through consensus and in a setting that allows the AWC greater ability to discuss and resolve technical issues.

Per the FDS Foreword:

In developing the provisions of this Specification, the most reliable data available from laboratory tests and experience with structures in service have been carefully analyzed and evaluated for the purpose of providing, in convenient form, a national standard of practice. AWC invites and welcomes comments, inquiries, suggestions, and new data relative to the provisions of this document.

It is intended that this Specification be used in conjunction with competent engineering design, accurate fabrication, and adequate supervision of construction.

PHONE: 800-289-5627 FAX: 800-524-4982Read/Subscribe online at www.componentadvertiser.com November 2022 #14280 Page #126A dverti $ er Component manufaCturing mThe Industry
A PDF of ANSI/AWC FDS-2022 is available for free download from the AWC website

SLB Q2 Investment Update Recaps Progress for Industry

The recently published Quarterly Investment Update highlights the SLB’s progress in generating incremental demand for the softwood lumber industry. The SLB, in partnership with its funded programs the American Wood Council (AWC), Think Wood, and WoodWorks are making a concerted effort to close knowledge gaps about the use of wood products for their climate benefits, increase lumber use, and capitalize on emerging construction trends. Key highlights from the Q2 report are:

• SLB education led its first Timber Design Faculty Development Work shop in partnership with Clemson University’s School of Architecture and Wood Utilization + Design Institute. The four day, hands on workshop helped 20 architecture faculty members from 18 schools identify ways to better integrate timber design and construction into their programs.

• The AWC is in the final stages of developing and launching three new tools to fill carbon accounting data gaps across the wood products value chain.

• WoodWorks converted 126 projects in Q2, resulting in 24.5 million square feet of construction and 228 million board feet of incremental lumber consumption; 64% of reported projects were multifamily.

• Think Wood’s lead nurturing program generated three new projects in Q2, equating to 615,000 square feet of construction. As of Q2, 25 marketing assisted projects were converted (a 70% increase year over year), accounting for 45 million of the 228 million board feet of incremental lumber consumption reported by WoodWorks.

In addition to program successes detailed in the quarterly update, guest contributor Craig Webb, president of Webb Analytics, provided insight on big lumberyards’ investment in truss and panel plants, a trend that may ultimately be as significant to the lumber industry as the rise of mass timber and off-site manufacturing.

PHONE: 800-289-5627 FAX: 800-524-4982Read/Subscribe online at www.componentadvertiser.com November 2022 #14280 Page #127A dverti $ er Component manufaCturing mThe Industry News
VIEW THE Q2 INVESTMENT UPDATE

4Ward

Group www.4wardconsult.com 623-512-6770 ben@4wardconsult.com

Acceptance Leasing & Financing Service, Inc. www.acceptlease.com 412-262-3225 cvillella@acceptlease.com

Acer Inc. www.acerinc.com 507-864-2220 sales@acerinc.com

Alpine www.alpineitw.com 800-521-9790 mschwitter@alpineitw.com

Clark Industries, Inc. www.clark-ind.com 800-743-9727 general@clark-ind.com

Eagle Metal www.eaglemetal.com 800-521-3245 connect@eaglemetal.com

204

EstiFrame

Inc. www.estiframe.com 209-576-5000 cgifford@estiframe.com

Fitzgerald Group, LLC www.fitzgroup.com 719-528-5445 rfitzgerald@fitzgroup.com

HOLTEC USA Corporation www.holtecusa.com 813-754-1665 info@holtecusa.com

Hundegger USA www.hundeggerusa.com 435-654-3028 steve@hundeggerusa.com

LimTek Solutions limteksolutions.com 416-888-4457 edmond.lim@limteksolutions.com

MiTek USA www.mitek-us.com 800-325-8075 customerservice@mii.com

Panels Plus www.panplus.com 866-726-7587 tkaasa@panplus.com

www.ROGworx.com 707-333-4507

www.runnionequipment.com 708-541-1063

PHONE: 800-289-5627 FAX: 800-524-4982Read/Subscribe online at www.componentadvertiser.com Don’t Forget! You Saw it in the Adverti$$er November 2022 #14280 Page #128A dverti $ er Component manufaCturing mThe Advertiser Directory
Solutions
AN ITW COMPANY
Eide Integrated Systems eideintegratedsystems.com 612-521-9193 ext
tom@eidemachinery.com
Technologies,
ROGworx Automation
sales@ROGworx.com Runnion Equipment Company
barunnion@runnionequipment.com

Simpson

www.strongtie.com 800-999-5099 web@strongtie.com

Spida

www.spida.com 866-647-7771 sales@spida.com

Wasserman & Associates www.wasserman-associates.com 800-382-0329 sales@wasserman-associates.com

Wolf X Machina www.wolfxmachina.com info@wolfxmachina.com

Wood Tech Systems, Inc. www.woodtechsystems.com 765-751-9990 info@woodtechsystems.com

PHONE: 800-289-5627 FAX: 800-524-4982Read/Subscribe online at www.componentadvertiser.com Don’t Forget! You Saw it in the Adverti$$er November 2022 #14280 Page #129A dverti $ er Component manufaCturing mThe
Advertiser Directory
Strong-Tie
Machinery USA
The Hain Company Welcome Welcome to The Hain Company's website! Here you will find information about the Hain Company and its line of innovative products that can help streamline your company. Our products are diversely used throughout the manufacturing industry to speed production and reduce labor costs. News The New (JSMEA) or Job Site Measuring System has been released for production. New Videos Folding Measuring System Overview: About the Hain Company Products: Home Hain Engineering Services Company Overview Products Companies We Represent Hain Racing Products Request Form Contact Us Mailing List Used Products Leasing & Financing Services About Hain Racing Products All Measuring Systems Hain Systems Framer Sub Component Nailer Quick Rafter Cutter Vent Block Drills Hain Racing Offset Drive Aluminum Valve Cover Used Products Refurbished QRC Refurbished VBD Refurbished MEA Refurbished SCN Refurbished MMEA Monet Desauw Component Saws Floor Web Saw Material Handling Used Equipment Companies We Represent Festool Klaisler Mfg. Corp. The Koskovich Company Monet Desauw Inc. Mango Tech All Measuring Systems Folding Measuring System Table Measuring System Portable Measuring System Measuring System Manual Measuring System Extended Length Material Handler Both Vent Block Drills The Hain Company www.thehaincompany.com 530-295-8068 sales@thehaincompany.com TheJobLine.com www.thejobline.com 800-289-5627 mail@thejobline.com Timber Products Inspection www.tpinspection.com 770-922-8000 Todd Drummond Consulting, LLC. www.todd-drummond.com 603-748-1051 todd@todd-drummond.com Triad | Merrick Machine www.triadmachines.com 800-568-7423 ext 133 mmcsales@merrickmachine.com Vekta USA www.vektausa.com 907-230-8276 info@vektausa.com Contact our Advertisers for manufacturing and handling equipment, saws, plates and connectors, software, business management, financing, third-party inspections, employment services, transportation equipment, and much more! Your Company can be Listed in TheAdverti$er Contact Anna Stamm anna@componentadvertiser.org 800-289-5627 x3

Experienced Truss

Posted on

Employer: A-1

September 9th,

Lead Designer 22-0811-2

Posted on Thursday, August 11, 2022

Truss Designer 22-0816-1

on Tuesday, August 16, 2022

Employer: Automated Products, Inc.

Products, Inc. has been in the truss business since 1964. We currently have openings in the design department working out of the Marshfield or Verona, WI locations.

Truss designer will be responsible for creating designs pertaining to roof and floor trusses utilizing MiTek Software to meet the needs of the customer.

Truss Designer 22-0816-2

Posted on Tuesday, August 16, 2022

Employer: The Building Center Inc.

The Truss Designer reads residential and commercial plans to design wood trusses for both roof and floor truss systems. The Designer communicates with production teams, customers, and Store Managers to ensure designs are accurate throughout the process.

Attention to detail and knowledge of design software are crucial for success in this position. The successful candidate will have a strong can-do work ethic and a flexible approach to the work at hand. They must be able to discuss the design with customers and to work as a member of a team — all while having a strong belief in the mission and goals of the company.

Employer: ProTec Panel & Truss ProTec Panel & Truss is looking to add a Lead Designer to our team. The designer will be responsible for the production of detailed shop drawings for component manufacturing using Mitek Software. They will contribute to the Design Team's success by working with team members to check accuracy and assist entry level designers.

BIM/VDC Senior Designer 22-0426

Posted on Tuesday, April 26, 2022

Employer: Simple Homes

Simple Homes is seeking a highly motivated, experienced draftsperson/component designer to join our architecture and engineering team. This role will primarily be focused on transforming both new and existing designs into detailed fabrication models using the MiTek Sapphire Suite. In addition, this individual will be responsible for the production of detailed construction and shop drawings for component manufacturing (wall panels, floor panels, and roof sections). Last but not least, the individual will have the opportunity to contribute to the development of new designs that are optimized for our unique panelized building system.

At Simple Homes we look for problem solving pros – folks who aren’t afraid to dive in, get their hands dirty, and figure out innovative solutions. As we are an early-stage startup, we need folks who can wear many hats and are energized by a fast-paced and ever-changing work environment. In this role, we also need you to have a passion for VDC and BIM.

PHONE: 800-289-5627 FAX: 800-524-4982Read/Subscribe online at www.componentadvertiser.com November 2022 #14280 Page #130A dverti $ er Component manufaCturing mThe theHiring Zone The Hiring Zone is operated by The Component Manufacturing Advertiser Magazine. All applications will be sent exclusively to the advertising company. job opportunities available A dverti$er Component manufaCturing S erving the S tructural B uilding c omponent S i ndu S try The Hiring Zone Building Component Industry Job Board Employer to Candidate Direct Hiring No Recruiting Fees! Post your Opportunity... Candidates respond directly to you! For Additional Information Contact: twm@componentadvertiser.org or Call: 800-289-5627 x1 For Rates and Posting, visit our website: www.componentadvertiser.com/Hiring-Zone
Designer ID 22-0909
Friday,
2022
Industries The Experienced Truss Designer will prepare truss layouts and cut sheets per architectural and structural plans in a timely and efficient manner and is expected to exhibit our core values both on and off the job. Projecting Respect, Honesty, Owning it, and Passion in everything you do.
Posted
Automated
MITEK ® POSI-STRUT ® YOU SIMPLY CAN’T AFFORD TO IGNORE THE ADVANTAGES OF THE POSI-STRUT FLOOR TRUSS SYSTEM. Longer Spans allow design freedom Wide Surface makes attaching the floor deck and ceilings simple Open Web design creates a service void for ease of access Top Chord Bearing for reduced hanger cost Lightweight Construction means joists are easy to handle Increased space to run HVAC and mechanicals due to the metal web design Factory Manufactured ensures a made to measure quality product Improved energy efficiency by allowing for insulation over windows and doors REDUCE LABOR AND OVERALL WEIGHT OF THE SYSTEM WITH POSI-STRUT METAL WEBS. MORE SPACE BETWEEN CHORDS FOR MECHANICALS. COPYRIGHT © 2020 MITEK. ALL RIGHTS RESERVED If you’re interested in using Posi-Strut in your next build, talk to your MiTek representative at (314) 851-7306. To learn more about Posi-Strut, visit Mitek-US.com/Posi-Strut

TheLastWord on

Pre-Plating

Just as Trussmatic brought back hydraulic plate pressing, House of Design has resurrected pre-plating. Both practices proved themselves in the early days of our industry, but both required disciplined shop floor management, and each had limitations.

Pre-plating was first deployed in the 1960s with Gang-Nail beam-type presses and involved laying the “next” top and bottom chords just outside the jigging, parallel to the corresponding member and setting the plate – which would become the bottom plate on the following iteration. This method, used extensively in the 1970s by industry leaders Trussway and Shoffner Industries, had the advantage of lessening the pressing force by 50%, and resulted in much improved embedment. As truss runs became shorter and less repetitive, and beam-type presses were replaced by roller gantries in the 1990s, the practice of pre-plating was largely neglected in the U.S.

However, early in the 1990s, a Civil Engineering Professor in Finland, Tuomo Poutanen, applied for International Patent recognition of a production process that took pre-plating to the next level. In addition to plating the underside of the chords, he suggested plating the topside of the webs, and that all plating be done prior to members being placed on the jigging surface. In his patent, he proposes a methodology and posits its advantages, which I have summarized and added to as follows:

a. Improved plating accuracy – if a linear saw can measure and cut a board accurately, then it may be handed off to the plating station “controlled by the same automation, i.e., by a single central automatic control unit, which simplifies the process and reduces risk of error.” While this may have seemed farfetched 30 years ago, today’s PLCs and motion-control technologies are up to the task. However, this would require very tight mechanical and computer linkage between the cutting and the pre-plating processes.

b. Less assembly time – with current auto-jigging and laser technology, plating is the most time-consuming part of assembly. Without the time spent fetching, positioning, and setting plates, assembly time would be dramatically decreased.

PHONE: 800-289-5627 FAX: 800-524-4982Read/Subscribe online at www.componentadvertiser.com Don’t Forget! You Saw it in the Adverti$$er November 2022 #14280 Page #132A dverti $ er Component manufaCturing mThe
Continued next page

c. Shorter setup time –because chords are pre-spliced, the perimeter of the truss is more easily estab lished, especially if there are only three chord members. Note the minimal jigging shown in the image. In 2009, Jim Urmson independently em ployed this principle with his TCT robotic assembly. Chords members were fed through the TCT linear saw in proper sequence, then spliced immediately after exiting the saw, and then conveyed to the assembly station (https://youtu.be/o9tJeCCGAKI).

d. Use of a linear saw (and nesting of cuts) results in considerable savings in material, “on the order of 5%.” In his patent, which was granted in 1995, Professor Poutanen presaged the value of a linear saw over the conventional component cutter, and introduced the term “negative waste,” five years before Jim Urmson sparked the linear saw revolution in the U.S. and Dave McAdoo of Alpine began using identical terminology.

An additional benefit outlined in the patent is prescreening boards for knots or wane that may fall within the plate areas. This would involve projecting plate areas onto boards prior to cutting and culling or reorienting boards that contain unacceptable defects in these areas. Undoubtedly this would yield impressive improvements in quality control, but extending this technology upstream from the saw to its infeed conveyor would take considerable effort.

Professor Poutanen’s ambitious thesis seemed to lie dormant for over 10 years, until he indicated that he sold it to Alpine, who subsequently shared it with House of Design (HoD). In HoD’s floor truss implementation at one of BFS’s Atlanta plants (for more on that story, see my August article, The Last Word on the Promise of Robotics), they pre-plate the underside of chords, the topsides of webs, and pre-splice chords. Even so, the process is not tightly integrated with their linear saw.

High commendations are due Professor Poutanen for his ability to foresee and describe such a quantum leap in truss technology, and for the demonstration, albeit belatedly, of its promising future. His deep knowledge of the truss industry, combined with his advanced engineering expertise, will continue to enrich us.

PHONE: 800-289-5627 FAX: 800-524-4982Read/Subscribe online at www.componentadvertiser.com Don’t Forget! You Saw it in the Adverti$$er November 2022 #14280 Page #133A dverti $ er Component manufaCturing mThe

Design

From plans, to walls, to panels, and everything above.

a new level of design tools, built from the ground up.

Introducing
and build faster than ever. Learn more a t EagleMetal.com

Turn static files into dynamic content formats.

Create a flipbook
Issuu converts static files into: digital portfolios, online yearbooks, online catalogs, digital photo albums and more. Sign up and create your flipbook.