Caterpillar Cat 320D2 and 320D2 L Excavator (Prefix YEA) Service Repair Manual Instant Download

Page 1

320D2 and 320D2 L Excavator
Service Repair Manual Models

S/N - TMF1-UP

S/N - WDJ1-UP

S/N - XAN1-UP

S/N - XBB1-UP

S/N - XCC1-UP

S/N - YEA1-UP

S/N - ZBD1-UP

S/N - ZCS1-UP

Assembly Procedure

Table 1
Tools Tool Part Number Part Description Qty B 1P-2420 Transmission Repair Stand 1 C 138-7575 Link Bracket 3 D 1P-0510 Driver Group 1 1U-8605 Seal Guide 1 E 1P-1859 Retaining Ring Pliers 1 H 1U-6396 O-Ring Assembly Compound 1
Required
Illustration 1 g01200516
2/25(W) w 2020/1/19 https://127.0.0.1/sisweb/sisweb/techdoc/techdoc_print_page.jsp?returnurl=/sisweb/sisw...
1. Install gasket (107) onto pump housing (72) . Illustration 2 g01200514 2. Install cover (106) and bolts (105) onto pump housing (72) . Illustration 3 g01200512
3/25(W) w 2020/1/19 https://127.0.0.1/sisweb/sisweb/techdoc/techdoc_print_page.jsp?returnurl=/sisweb/sisw...
3. Install guide pins (104) onto pump housing (72) .

Illustration 4

4. Install bearings (103) onto pump housing (72) .

Illustration 5

5. Install bearing (102) into swashplate (97) .

Illustration 6

6. Install dowel pins (101) into swashplate (97) .

g01200511
g01200510
g01200509
4/25(W) w 2020/1/19 https://127.0.0.1/sisweb/sisweb/techdoc/techdoc_print_page.jsp?returnurl=/sisweb/sisw...

Illustration 7

7. Install bearings (100) onto swashplate assembly (97) .

Illustration 8

8. Install plate (99) onto swashplate assembly (97) .

9. Repeat Step 5 through Step 8 for swashplate assembly (98) .

Illustration 9

g01200507
g01200506
g01200504 5/25(W) w 2020/1/19 https://127.0.0.1/sisweb/sisweb/techdoc/techdoc_print_page.jsp?returnurl=/sisweb/sisw...

10. Install swashplate assemblies (97) and (98) into pump housing (72) .

Note: The swashplate assemblies must be installed in the original position during assembly.

Illustration 10

11. Install retaining ring (90) onto shaft assembly (91) .

Illustration 11

12. Raise the temperature of bearing (95) and bearing (93) . Install bearing (95) and bearing (93) onto shaft assembly (91) .

https://127.0.0.1/sisweb/sisweb/techdoc/techdoc_print_page.jsp?returnurl=/sisweb/sisw...

g03723301 g01201656
6/25(W) w
2020/1/19

Illustration 12 g01200498

13. Install ring (94) onto shaft assembly (91) .

14. Repeat Step 11 through Step 13 for shaft assembly (92) .

Illustration 13 g01201657

Illustration 14 g01201658

7/25(W) w
2020/1/19 https://127.0.0.1/sisweb/sisweb/techdoc/techdoc_print_page.jsp?returnurl=/sisweb/sisw...

15. Lower the temperature of the shaft assemblies. Install shaft assemblies (91) and (92) into pump housing (72) .

Illustration 15

g01200492

Note: The pump has been removed from Tooling (B) for photographic purposes only.

16. Use Tooling (E) to install retaining rings (90) .

Illustration 16

17. Install springs (89) into barrel (84) .

g01200491

8/25(W) w 2020/1/19 https://127.0.0.1/sisweb/sisweb/techdoc/techdoc_print_page.jsp?returnurl=/sisweb/sisw...

Illustration 17

18. Install retainer (88) onto barrel (84) .

Illustration 18

19. Install cap (87) onto barrel (84) .

Illustration 19

20. Install pistons (85) into piston plate (86) .

g01200488
g01200487
g01200486
9/25(W) w 2020/1/19 https://127.0.0.1/sisweb/sisweb/techdoc/techdoc_print_page.jsp?returnurl=/sisweb/sisw...

Illustration 20

g01200485

21. Install piston assembly (83) into barrel (84) .

22. Repeat Step 17 through Step 21 for the remaining barrel assembly.

Illustration 21

g01200482

23. Install barrel assemblies (81) and (82) into pump housing (72) .

Note: It may be necessary to use string to aid in the removal procedure. The barrel assemblies must be installed in the original position during assembly.

10/25(W) w 2020/1/19 https://127.0.0.1/sisweb/sisweb/techdoc/techdoc_print_page.jsp?returnurl=/sisweb/sisw...

Illustration 22

24. Install O-ring seal (80) onto covers (78) .

Illustration 23

25. Install covers (78) , bolts (77) , and plugs (79) onto pump housing (72) .

Illustration 24

26. Install O-ring seals (76) into pump housing (72) .

g01200481
g01200477
g01200478
11/25(W) w 2020/1/19 https://127.0.0.1/sisweb/sisweb/techdoc/techdoc_print_page.jsp?returnurl=/sisweb/sisw...
Illustration 25 g01200475 27. Install plug (76) into covers (75) . Illustration 26 g01200473
12/25(W) w 2020/1/19
28. Install covers (75) , bolts (74) , and plugs (73) onto pump housing (72) .
https://127.0.0.1/sisweb/sisweb/techdoc/techdoc_print_page.jsp?returnurl=/sisweb/sisw...

Illustration 27

29. Install O-ring seals (68) and (69) onto pump housing (72) . Install port plates (70) and (71) .

Note: The port plates must be installed in the original position during assembly.

Illustration 28

30. Install orifices (67) into head (58) .

Illustration 29

31. Install plugs (65) and (66) into head (58) .

g01200472
g01200471
g01200462
13/25(W) w
2020/1/19 https://127.0.0.1/sisweb/sisweb/techdoc/techdoc_print_page.jsp?returnurl=/sisweb/sisw...

Illustration 30 g01201668

32. Install bearings (64) into the head. Illustration 31 g01200459
14/25(W) w 2020/1/19 https://127.0.0.1/sisweb/sisweb/techdoc/techdoc_print_page.jsp?returnurl=/sisweb/sisw...
33. Install O-ring seal (63) into covers (61) .

Illustration 32

34. Install nipples (62) , covers (61) and bolts (60) onto head (58) . Install caps (59) onto nipples (62) .

Illustration 33

Personal injury can result from being struck by parts propelled by a released spring force.

Make sure to wear all necessary protective equipment.

Follow the recommended procedure and use all recommended tooling to release the spring force.

35. Attach Tooling (C) and a suitable lifting device to head (10) . Install head (58) , bolts (56) , and bolts (57) . The weight of head (58) is approximately 41 kg (90 lb).

g01200458
g01200457
15/25(W) w 2020/1/19
https://127.0.0.1/sisweb/sisweb/techdoc/techdoc_print_page.jsp?returnurl=/sisweb/sisw...

Illustration 34

36. Install O-ring seal (54) and lip seal (55) onto the seal assembly.

Illustration 35

37. Install shrink wrap on the shaft. This will protect the seal during the installation procedure. Install the gasket and bell housing (53) . Install bolts (51) .

g01200392
g01201683
g01201684 16/25(W) w 2020/1/19 https://127.0.0.1/sisweb/sisweb/techdoc/techdoc_print_page.jsp?returnurl=/sisweb/sisw...
Illustration 36

38. Use Tooling (D) to install seal assembly (52) .

Illustration 37

g00706275

39. Install plugs (49) . Install three plugs (50) into the pump control.

Illustration 38

g00882609

40. Install slide plate (47) and dowel (48) onto the control linkage.

17/25(W) w 2020/1/19 https://127.0.0.1/sisweb/sisweb/techdoc/techdoc_print_page.jsp?returnurl=/sisweb/sisw...

Illustration 39

41. Install control linkage (46) and sleeve (45) into the pump control.

Illustration 40

42. Install O-ring seal (44) onto the pin.

Illustration 41

43. Install pin (43) into the pump control.

g00706273
g00706272
g00706271
18/25(W) w 2020/1/19 https://127.0.0.1/sisweb/sisweb/techdoc/techdoc_print_page.jsp?returnurl=/sisweb/sisw...

Personal injury can result from being struck by parts propelled by a released spring force.

Make sure to wear all necessary protective equipment.

Follow the recommended procedure and use all recommended tooling to release the spring force.

44. Install shims (38) , spool (39) , spring (40) , spring (41) , and control piston (42) into the pump control.

https://127.0.0.1/sisweb/sisweb/techdoc/techdoc_print_page.jsp?returnurl=/sisweb/sisw...

Illustration 42 g00882608 Illustration 43 g00706267
19/25(W) w 2020/1/19
45. Install O-ring seal (37) onto the cover.

Illustration 44

46. Install cover (36) onto the pump control. Install bolts (35) .

Illustration 45 g00706265

47. Install pilot piston (34) into the pump control.

Illustration 46 g00882601

g00706266
20/25(W) w
2020/1/19 https://127.0.0.1/sisweb/sisweb/techdoc/techdoc_print_page.jsp?returnurl=/sisweb/sisw...

Suggest:

If the above button click is invalid.

Please download this document first, and then click the above link to download the complete manual.

Thank you so much for reading

48. Install ball (33) into the guide. Install guide (32) into the pump control. Install spring (31) and spring (30) into the pump control.

Illustration 47

g00882599

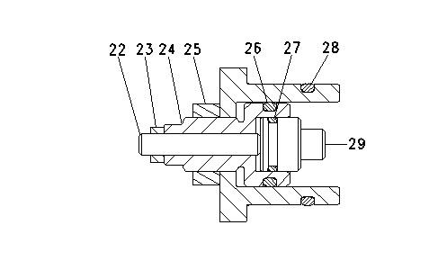
49. Install O-ring seal (26) onto the adjuster. Install adjuster (24) . Install setscrew (22) . Install nut (23) and nut (25) . Install O-ring seal (27) onto the retainer. Install retainer (29) . Install O-ring seal (28) .

Illustration 48

g00706249

Personal injury can result from being struck by parts propelled by a released spring force.

https://127.0.0.1/sisweb/sisweb/techdoc/techdoc_print_page.jsp?returnurl=/sisweb/sisw...

21/25(W) w
2020/1/19

Turn static files into dynamic content formats.

Create a flipbook
Issuu converts static files into: digital portfolios, online yearbooks, online catalogs, digital photo albums and more. Sign up and create your flipbook.